TOP
|
特許
|
意匠
|
商標
特許ウォッチ
Twitter
他の特許を見る
10個以上の画像は省略されています。
公開番号
2025141758
公報種別
公開特許公報(A)
公開日
2025-09-29
出願番号
2024141960
出願日
2024-08-23
発明の名称
情報処理装置、情報処理システム、情報処理方法及びプログラム
出願人
株式会社リコー
代理人
弁理士法人ITOH
主分類
G06F
16/58 20190101AFI20250919BHJP(計算;計数)
要約
【課題】集会の参加者のそれぞれの固有情報に応じた可視化を可能とすること。
【解決手段】情報処理装置は、集会の参加者のそれぞれの前記集会における行動に基づく固有情報を示す固有データを取得する取得部と、前記取得部が取得した前記固有データと、前記固有情報を示す固有データと画像を含む学習データを用いて学習された機械学習モデルとに基づいて、前記取得部が取得した前記固有データに対応する対応画像を前記参加者ごとに生成する画像生成部と、を有する。
【選択図】図3
特許請求の範囲
【請求項1】
集会の参加者のそれぞれの前記集会における行動に基づく固有情報を示す固有データを取得する取得部と、
前記取得部が取得した前記固有データと、前記固有情報を示す固有データと画像を含む学習データを用いて学習された機械学習モデルとに基づいて、前記取得部が取得した前記固有データに対応する対応画像を前記参加者ごとに生成する画像生成部と、
を有することを特徴とする情報処理装置。
続きを表示(約 1,300 文字)
【請求項2】
他の前記参加者の前記固有データに基づいて、仮想の参加者の仮想の前記固有データを生成する仮想データ生成部を更に備え、
前記画像生成部は、
前記仮想の前記固有データと、前記機械学習モデルとに基づいて、前記仮想の前記固有データに対応する前記対応画像を前記仮想の参加者について生成する請求項1記載の情報処理装置。
【請求項3】
前記固有データは、第1の種類の固有情報を含む第1の種類の固有データと、いずれかの前記第1の種類の固有情報に対する反応に基づく第2の種類の固有情報を含む第2の種類の固有データと、を含み、
前記画像生成部は、
第1の参加者の前記第1の種類の固有データと、第2の参加者の前記第2の種類の固有データと、機械学習モデルとに基づいて、前記第1の種類の固有データ及び前記第2の種類の固有データに対応する前記対応画像を前記第2の参加者について生成する請求項1記載の情報処理装置。
【請求項4】
前記第1の種類の固有情報は、参加者が入力した文字及び参加者の発話内容の少なくとも1つを示すテキストであり、
前記第2の種類の固有情報は、参加者が入力した操作を示す操作情報、撮影装置により撮影された参加者の撮影画像情報、及び生体情報検出部により検出された参加者のそれぞれの生体情報の少なくとも1つを含む請求項3記載の情報処理装置。
【請求項5】
前記画像生成部は、更に、複数の前記参加者のそれぞれについて前記取得部が取得した前記固有データの集合と前記機械学習モデルとに基づいて、前記集合に対応する統合対応画像を生成する、
ことを特徴とする請求項1記載の情報処理装置。
【請求項6】
前記機械学習モデルは、テキストと画像を含む学習データを用いて学習され、
前記画像生成部は、集会の参加者のそれぞれの発話内容を示すテキストデータと、前記機械学習モデルとに基づいて、前記テキストデータに対応する対応画像を前記参加者ごとに生成することを特徴とする請求項1又は5記載の情報処理装置。
【請求項7】
前記画像生成部は、前記テキストデータと、前記集会に関連して入力された画像データと、前記機械学習モデルとに基づいて、前記対応画像を生成する、
ことを特徴とする請求項6記載の情報処理装置。
【請求項8】
前記参加者を識別する参加者識別情報と、当該参加者に関して生成された前記対応画像とを対応付けて表示する表示情報を生成する表示情報生成部、
を有することを特徴とする請求項1又は5記載の情報処理装置。
【請求項9】
前記対応画像と、他の画像との関連度を算出する関連度算出部を有し、
前記表示情報生成部は、前記参加者識別情報及び前記対応画像に対応付けて前記関連度を表示する前記表示情報を生成する、
ことを特徴とする請求項8記載の情報処理装置。
【請求項10】
前記関連度算出部は、前記対応画像どうしの前記関連度を生成する、
ことを特徴とする請求項9記載の情報処理装置。
(【請求項11】以降は省略されています)
発明の詳細な説明
【技術分野】
【0001】
本発明は、情報処理装置、情報処理システム、情報処理方法及びプログラムに関する。
続きを表示(約 1,800 文字)
【背景技術】
【0002】
会議等の集会のように複数の人が対話に参加する状況において、例えば、グラフィックレコーディングを用いて議論の内容を図によって表現することで、集会の内容に関する共通認識を高めることができる。
【0003】
特許文献1には、音声やテキスト入力等による情報伝達の進行に伴って、情報伝達に関連する適切な視覚情報を提示できるコミュニケーションシステム、表示装置、表示制御方法、及び表示制御プログラムを提供することを目的として、言語情報の入力を受け付ける言語情報入力手段と、入力された言語情報を認識する認識手段と、前記認識手段による認識結果に基づき、前記入力された言語情報に対応する画像を、画像を表示する表示手段に表示する画像表示手段が開示されている。
【発明の概要】
【発明が解決しようとする課題】
【0004】
しかしながら、特許文献1の技術では、音声や文章から認識した言語情報に対応するイラストや画像を検索して出力するだけであった。
【0005】
本発明は、上記の点に鑑みてなされたものであって、集会の参加者のそれぞれの固有情報に応じた可視化を可能とすることを目的とする。
【課題を解決するための手段】
【0006】
そこで上記課題を解決するため、情報処理装置は、集会の参加者のそれぞれの前記集会に関連する行動に基づく固有情報を示す固有データを取得する取得部と、前記取得部が取得した前記固有データと、前記固有情報を示す固有データと画像を含む学習データを用いて学習された機械学習モデルとに基づいて、前記取得部が取得した前記固有データに対応する対応画像を前記参加者ごとに生成する画像生成部と、を有する。
【発明の効果】
【0007】
集会の参加者のそれぞれの固有情報に応じた可視化を可能とすることができる。
【図面の簡単な説明】
【0008】
第1の実施の形態における情報処理システム1の構成例を示す図である。
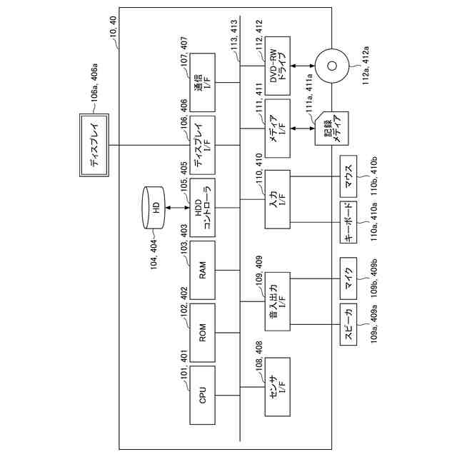
第1の実施の形態における端末装置10のハードウェア構成例を示す図である。
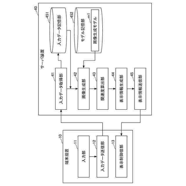
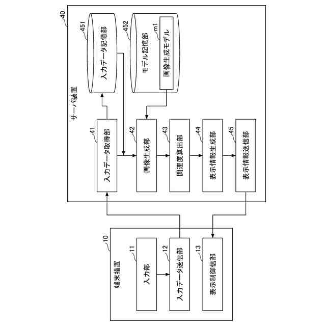
第1の実施の形態における情報処理システム1の機能構成例を示す図である。
第1の実施の形態における情報処理システム1が実行する処理手順の一例を説明するためのシーケンス図である。
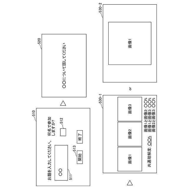
第1の実施の形態において表示される画面の一例を示す図である。
画面530の第1の具体例を示す図である。
画面530の第2の具体例を示す図である。
画面530の第3の具体例を示す図である。
第2の実施の形態における情報処理システム1が実行する処理手順の一例を説明するための図である。
連携会議システムの画面例を示す図である。
対応画像を含む連携会議システムの画面の第1の表示例を示す図である。
対応画像を含む連携会議システムの画面の第2の表示例を示す図である。
議事録データの表示例を示す図である。
第3の実施の形態における情報処理システム1の機能構成例を示す図である。
第4の実施の形態における端末装置10のハードウェア構成例を示す図である。
第4の実施の形態における情報処理システム1の機能構成例を示す図である。
第5の実施の形態における情報処理システム1の機能構成例を示す図である。
第5の実施の形態における対応画像等の表示例を示す図である。
【発明を実施するための形態】
【0009】
以下、図面に基づいて本発明の実施の形態を説明する。本実施の形態では、会議を集会の一例として説明するが、例えば、研修や授業等、会議以外の形態の集会に対しても本実施の形態は有効である。図1は、第1の実施の形態における情報処理システム1の構成例を示す図である。図1には、情報処理システム1に関して、(A)及び(B)の2つの構成例が示されている。
【0010】
(A)は、Web会議又はテレビ会議等のオンライン会議に対応した構成である。(A)において、端末装置10は、会議の参加者ごとに配置される。各端末装置10は、インターネット等の通信ネットワーク100を介してサーバ装置40に接続する。
(【0011】以降は省略されています)
この特許をJ-PlatPat(特許庁公式サイト)で参照する
関連特許
株式会社リコー
綴じ装置
29日前
株式会社リコー
液体吐出装置
1か月前
株式会社リコー
画像形成装置
21日前
株式会社リコー
画像形成装置
2日前
株式会社リコー
画像形成装置
2日前
株式会社リコー
印刷システム
2日前
株式会社リコー
画像形成装置
2日前
株式会社リコー
画像形成装置
5日前
株式会社リコー
液体塗布装置
6日前
株式会社リコー
画像形成装置
20日前
株式会社リコー
画像形成装置
13日前
株式会社リコー
画像形成装置
1か月前
株式会社リコー
履帯式走行体
1か月前
株式会社リコー
画像形成装置
29日前
株式会社リコー
映像表示装置
23日前
株式会社リコー
情報処理システム
23日前
株式会社リコー
投薬管理システム
21日前
株式会社リコー
拡張アンテナ装置
5日前
株式会社リコー
印刷応答補償機構
6日前
株式会社リコー
画像投射システム
13日前
株式会社リコー
マーキングシステム
5日前
株式会社リコー
電極及びその製造方法
今日
株式会社リコー
電極及びその製造方法
2日前
株式会社リコー
測定装置および測定方法
22日前
株式会社リコー
多孔質構造体の製造方法
2日前
株式会社リコー
測定装置および測定方法
22日前
株式会社リコー
測定装置および測定方法
22日前
株式会社リコー
定着装置及び画像形成装置
12日前
株式会社リコー
給送装置及び画像形成装置
1か月前
株式会社リコー
定着装置及び画像形成装置
6日前
株式会社リコー
センサ素子及びセンサアレイ
12日前
株式会社リコー
樹脂粒子およびその製造方法
21日前
株式会社リコー
パルスバルブおよび塗布装置
2日前
株式会社リコー
塗装システム、及び塗装方法
2日前
株式会社リコー
測定装置および状態測定方法
22日前
株式会社リコー
液吐出装置、及び液吐出方法
6日前
続きを見る
他の特許を見る