TOP
|
特許
|
意匠
|
商標
特許ウォッチ
Twitter
他の特許を見る
10個以上の画像は省略されています。
公開番号
2025141826
公報種別
公開特許公報(A)
公開日
2025-09-29
出願番号
2025028644
出願日
2025-02-26
発明の名称
研磨ロボットおよび研磨加工装置と研磨方法、半導体素子および電子部品の加工装置および分析方法、研磨対象物の配置装置および整理装置
出願人
株式会社クオルテック
代理人
主分類
B24B
49/12 20060101AFI20250919BHJP(研削;研磨)
要約
【課題】研磨物を所定研磨位置で精度よく加工できない。
【解決手段】
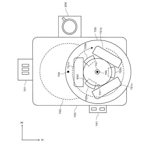
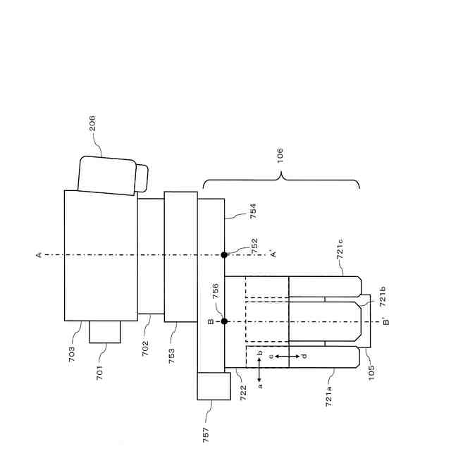
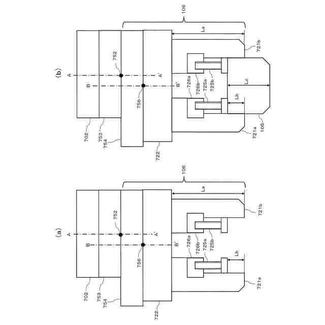
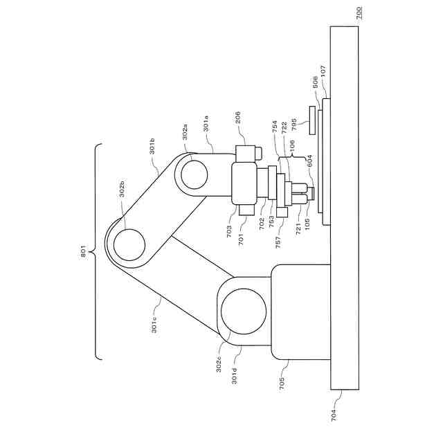
樹脂封止サンプル105内に研磨対象物102が樹脂封止されている。ロボットアームの保持具721で樹脂封止サンプル105を掴み、樹脂封止サンプル105の底面を研磨テーブル107に押し付けて加工面602を研磨加工する。洗浄液供給ノズル207から研磨テーブル107に洗浄液が塗布される。加工面602は洗浄液で被覆される。光照射器201からの光は偏光板202aを透過し、加工面602に偏光205aが照射される。加工面602で偏光205aが反射した反射光は偏光板202bを透過し、反射光205bがカメラ206に入射する。
【選択図】図8
特許請求の範囲
【請求項1】
光透過性を有する樹脂で研磨物が封止された上面と底面と円筒状側面を有する加工物を加工する研磨加工装置であって、
前記底面を研磨する研磨加工器と、
前記円筒状側面から入射し、前記研磨物を照明する照明光を発生する光発生器と、
前記底面に液体膜を形成し、前記底面で反射した反射光を前記円筒状側面から観察する観察手段を具備することを特徴とする研磨加工装置。
続きを表示(約 1,700 文字)
【請求項2】
光透過性を有する樹脂で研磨物が封止された上面と底面と円筒状側面を有する加工物を加工する研磨加工装置であって、
前記底面を研磨する研磨加工器と、
前記円筒状側面から入射し、前記研磨物を照明する照明光を発生する光発生器と、
前記底面に液体膜を形成し、前記底面の前記研磨物の反射像と前記研磨物の実像とを同時に、前記円筒状側面から観察する観察手段を具備することを特徴とする研磨加工装置。
【請求項3】
光透過性を有する樹脂で研磨物が封止された上面と底面と円筒状側面を有する加工物を加工する研磨加工装置であって、
パイプ内に形成された前記加工物を押圧して、前記パイプから取り出す押圧具と、
前記上面の端部を研磨後、前記底面を研磨する研磨加工器と、
前記円筒状側面から入射し、前記研磨物を照明する照明光を発生する光発生器と、
前記底面に液体膜を形成し、前記底面で反射した反射光と前記研磨物で反射した反射光を同時に、前記円筒状側面から観察する観察手段を具備することを特徴とする研磨加工装置。
【請求項4】
前記照明光の光路と前記反射光の光路のうち少なくとも一方の光路に、前記偏光方向を回転できる偏光板が配置されていることを特徴とする請求項1または請求項2または請求項3記載の研磨加工装置。
【請求項5】
前記研磨加工装置は、回転する研磨テーブルを有し、
前記加工物を加工時に発生する音を測定し、
前記測定した音に基づいて、前記加工物を前記研磨テーブルに印加する圧力と研磨テーブルの回転速度のうち少なくとも一方を制御することを特徴とする請求項1または請求項2または請求項3記載の研磨加工装置。
【請求項6】
前記加工物の上面が切断され、
前記上面が切断されることによって形成された切断面から前記照明光を入射させ、
前記樹脂は屈折率が1.55以上1.7以下のエポキシ樹脂であり、
前記液体膜の屈折率は、前記樹脂の屈折率より低いことを特徴とする請求項1または請求項2または請求項3記載の研磨加工装置。
【請求項7】
光透過性を有する樹脂で研磨物が封止された上面と底面と円筒状側面を有する加工物を加工する研磨方法であって、
前記研磨物を照明光で照明し、
前記底面に液体膜を形成し、前記底面の前記研磨物の反射像と前記研磨物の実像とを同時に、前記円筒状側面から観察し、
前記加工物の前記底面を研磨し、
前記反射像と前記実像との長さを、所定長さにすることを特徴とする研磨方法。
【請求項8】
光透過性を有する樹脂で研磨物が封止された上面と底面と円筒状側面を有する加工物を加工する研磨方法であって、
前記研磨物は第1の部分と第2の部分を有し、
前記研磨物を照明光で照明し、
前記底面に液体膜を形成し、前記底面の前記研磨物の反射像と前記研磨物の実像とを同時に、前記円筒状側面から観察し、
前記加工物の前記底面を研磨し、
前記第1の部分の反射像と前記第1の部分の実像との第1長さと、前記第2の部分の反射像と前記第2の部分の実像との第2長さとを、略一致した長さにすることを特徴とする研磨方法。
【請求項9】
光透過性を有する樹脂で研磨物が封止された上面と底面と円筒状側面を有する加工物を加工する研磨方法であって、
前記研磨物を照明光で照明し、
前記加工物を回転させ、
前記底面に液体膜を形成し、
前記加工物の回転位置と同期をとり、前記底面の前記研磨物の反射像と前記研磨物の実像とを同時に、前記円筒状側面から観察することを特徴とする研磨方法。
【請求項10】
前記照明光は偏光であり、
前記偏光の偏光方向を回転できるように構成され、
前記照明光の光路に、1/4波長板が配置されていることを特徴とする請求項7または請求項8または請求項9記載の研磨方法。
発明の詳細な説明
【技術分野】
【0001】
本発明は、研磨対象物(研磨サンプル、研磨物)の表面状態の観察方法、研磨対象物の評価方法、良好な断面研磨を実現する研磨方法、研磨対象物の作製方法に関するものである。
続きを表示(約 1,200 文字)
【0002】
本発明は、研磨対象物(樹脂封止サンプル、研磨サンプル、研磨物)の研磨面観測装置、研磨加工装置、研磨対象物(樹脂封止サンプル、研磨サンプル、研磨物)の評価装置、研磨対象物の加工装置、研磨対象物の切削装置、研磨加工装置の制御装置、研磨対象物(樹脂封止サンプル、研磨サンプル、研磨物)の照明装置、研磨ロボット、ロボットアーム、ロボット駆動機構、ロボット制御方法に関するものである。
【0003】
本発明は半導体素子、半導体部品等の電子部品の加工装置と、加工した電子部品の不良部の分析および評価方法に関するものである。また、本発明は半導体素子等の観察装置、評価装置、観察方法に関するものである。
【0004】
本発明は研磨対象物(樹脂封止サンプル、研磨サンプル、研磨物)、樹脂封止サンプルの置台、研磨対象物(樹脂封止サンプル、研磨サンプル、研磨物)、樹脂封止サンプルの配置装置、研磨対象物(樹脂封止サンプル、研磨サンプル、研磨物)、樹脂封止サンプルの配置装置、樹脂封止サンプルの整理装置に関するものである。
【背景技術】
【0005】
半導体デバイスの高密度化は限界を見せず進展を続けており、高密度化実現のため、種々な技術、方法の開発が進められている。
【0006】
高密度化に伴って、電気素子、電子素子、電気部品、電子部品、半導体素子、半導体IC、半導体部品、半導体モジュールの端子部の接続不良、端子部の剥離、半田接続部のクラック発生等の不良が多く発生する。また、静電気、過負荷により構成されている素子に短絡破壊、熱破壊等の不良が発生する。不良部の解析には不良部の断面研磨し、観察、分析または評価を行う必要がある。
【0007】
また、半導体IC、半導体デバイスは、素子構成の各層の接合状態をSEM(Scanning Electron Microscope)等を用いて観察し、解析する必要がある。
【0008】
半導体IC、半導体デバイスの高精細化に伴って、不良箇所、接合部を観察、分析が困難になりつつある。不良箇所、接合部を精度よく研磨加工を行うことの重要性が高くなっている。
【0009】
半導体デバイスは自動車等にパワー半導体素子として利用されている。パワー半導体素子はわずかな接続不良であっても破壊に直結する不良が発生する。また、パワー半導体回路を構成する素子が大電流で破壊することが多い。そのため、パワー半導体ICの設計開発には、半導体回路を構成する素子の劣化状態、経時変化をSEM(Scanning Electron Microscope)を用いて観察し、評価することが重要である。
【0010】
したがって、パワー半導体素子の素子設計、不良解析等のために、素子を研磨加工し、素子接合状態、不良発生箇所を詳細に解析することの必要不可欠の技術となっている。
(【0011】以降は省略されています)
この特許をJ-PlatPat(特許庁公式サイト)で参照する
関連特許
個人
包丁研ぎ器具
2か月前
個人
研磨体
3か月前
株式会社サンポー
ブラスト装置
4か月前
株式会社クボタ
管研削装置
3か月前
株式会社村田製作所
切削装置
3か月前
株式会社ディスコ
被加工物の加工方法
18日前
大同特殊鋼株式会社
疵研削順序決定方法
4か月前
不二空機株式会社
可搬型動力工具
3か月前
シンクス株式会社
ボード切断装置
4か月前
株式会社ニッチュー
ブラスト装置
3か月前
トヨタ自動車株式会社
回転砥石の製造方法
2か月前
株式会社ディスコ
砥石
3か月前
秀和工業株式会社
処理装置および処理方法
20日前
オークマ株式会社
円筒研削盤
3か月前
株式会社アイドゥス企画
受動変形内面研磨ホイール
2か月前
株式会社ディスコ
加工方法、及び、切削装置
5か月前
株式会社東京精密
研削装置
1か月前
旭化成株式会社
研磨パッド
1か月前
嘉澤端子工業股分有限公司
グラインダー
4か月前
中村留精密工業株式会社
レンズ保持装置
4か月前
JFEスチール株式会社
鋼帯のブラシ研削方法
4か月前
株式会社東京精密
ワーク加工装置
4か月前
株式会社東京精密
ワーク加工装置
4か月前
株式会社ディスコ
加工方法
4か月前
株式会社ディスコ
加工装置
27日前
Mipox株式会社
研磨部材の製造方法
1か月前
Mipox株式会社
研磨部材の製造方法
1か月前
株式会社ディスコ
研削装置
2か月前
日本特殊研砥株式会社
超弾性砥石
5か月前
Mipox株式会社
研磨部材の製造方法
1か月前
トヨタ紡織株式会社
プレス金型の研磨方法
5か月前
セイコーインスツル株式会社
研削盤
4か月前
株式会社荏原製作所
研磨装置
5か月前
株式会社IHI
加工方法
4か月前
株式会社不二越
スルーフィード式の加工装置
4か月前
株式会社シロハチ
回転機械およびこれを用いた装置
4か月前
続きを見る
他の特許を見る