TOP
|
特許
|
意匠
|
商標
特許ウォッチ
Twitter
他の特許を見る
公開番号
2025142477
公報種別
公開特許公報(A)
公開日
2025-10-01
出願番号
2024041845
出願日
2024-03-18
発明の名称
超音波探触子
出願人
富士フイルム株式会社
代理人
個人
,
個人
主分類
A61B
8/00 20060101AFI20250924BHJP(医学または獣医学;衛生学)
要約
【課題】安定した音響性能を有する超音波探触子を提供する。
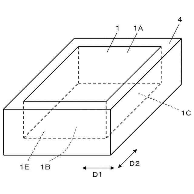
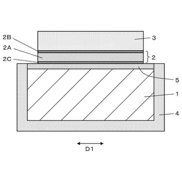
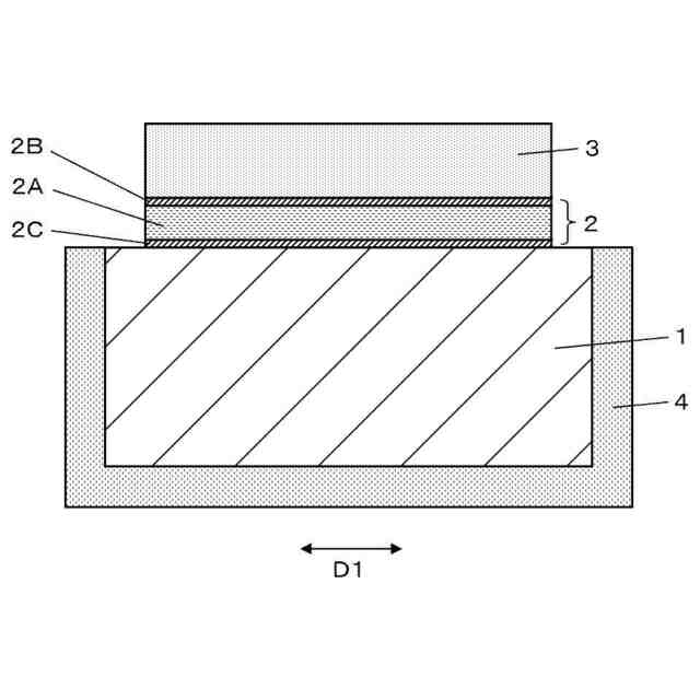
【解決手段】超音波探触子は、複数の圧電素子がバッキング材(1)上にアジマス方向に沿って配列された超音波探触子であって、バッキング材(1)は、複数の圧電素子が配列されている前面と、前面とは反対方向を向いた後面と、アジマス方向に延びる一対の第1側面と、エレベーション方向に延びる一対の第2側面を有し、少なくともバッキング材(1)の後面および一対の第1側面を覆うカバー部材(4)を備え、カバー部材(4)は、バッキング材(1)よりもヤング率および熱伝導率が高い材料により形成され、接着剤層を介することなくバッキング材(1)に密着している。
【選択図】 図1
特許請求の範囲
【請求項1】
複数の圧電素子がバッキング材の前面上にアジマス方向に沿ってアレイ状に配列された超音波探触子であって、
前記バッキング材は、前記複数の圧電素子が配列されている前面と、前記前面とは反対方向を向いた後面と、アジマス方向に沿って延びる一対の第1側面と、エレベーション方向に沿って延びる一対の第2側面を有し、
少なくとも前記バッキング材の前記後面および前記一対の第1側面を覆い且つ前記バッキング材を支持するカバー部材を備え、
前記カバー部材は、前記バッキング材よりもヤング率および熱伝導率が高い材料により形成され、接着剤層を介することなく前記バッキング材に密着している超音波探触子。
続きを表示(約 420 文字)
【請求項2】
前記カバー部材は、前記バッキング材の前記後面、前記一対の第1側面および前記一対の第2側面を覆う請求項1に記載の超音波探触子。
【請求項3】
前記カバー部材は、金属材料から形成されている請求項1に記載の超音波探触子。
【請求項4】
前記バッキング材の前記前面上に配置されたフレキシブル回路基板を備え、
前記複数の圧電素子は、前記フレキシブル回路基板の表面上に配列されている請求項1~3のいずれか一項に記載の超音波探触子。
【請求項5】
前記フレキシブル回路基板は、複数の配線を含む少なくとも1層の配線層と、前記複数の圧電素子の間に対応して形成された複数の溝を有し、
前記複数の圧電素子の間および前記フレキシブル回路基板の前記複数の溝に充填剤が充填され、
前記フレキシブル回路基板の前記複数の溝は、前記複数の配線から離れている請求項4に記載の超音波探触子。
発明の詳細な説明
【技術分野】
【0001】
本発明は、超音波画像の撮影に使用される超音波探触子に関する。
続きを表示(約 2,200 文字)
【背景技術】
【0002】
従来から、医療分野において、超音波画像を撮影する超音波診断装置が実用化されている。一般に、この種の超音波診断装置は、超音波探触子から被検体内に向けて超音波ビームを送信し、被検体からの超音波エコーを超音波探触子で受信して、その受信信号を電気的に処理することにより超音波画像が生成される。
【0003】
このような超音波探触子は、例えば特許文献1に開示されるように、バッキング材上に複数の圧電素子および音響整合層等が積層された構成を有することが多い。
【先行技術文献】
【特許文献】
【0004】
特開2022-142171号公報
【発明の概要】
【発明が解決しようとする課題】
【0005】
ここで、バッキング材上に複数の圧電素子および音響整合層等を積層する際に、バッキング材に対して複数の圧電素子および音響整合層等を加圧しながら接着することがある。このような加圧接着の際に、バッキング材が変形してしまうことがあった。バッキング材が変形してしまうと、圧電素子および音響整合層等も変形または傾斜してしまう場合があり、超音波探触子の音響性能が設計値と比較して悪化してしまうことがあった。
【0006】
本発明はこのような従来の問題点を解消するためになされたものであり、安定した音響性能を有する超音波探触子を提供することを目的とする。
【課題を解決するための手段】
【0007】
以下の構成によれば、上記目的を達成できる。
〔1〕 複数の圧電素子がバッキング材の前面上にアジマス方向に沿ってアレイ状に配列された超音波探触子であって、
前記バッキング材は、前記複数の圧電素子が配列されている前面と、前記前面とは反対方向を向いた後面と、アジマス方向に沿って延びる一対の第1側面と、エレベーション方向に沿って延びる一対の第2側面を有し、
少なくとも前記バッキング材の前記後面および前記一対の第1側面を覆い且つ前記バッキング材を支持するカバー部材を備え、
前記カバー部材は、前記バッキング材よりもヤング率および熱伝導率が高い材料により形成され、接着剤層を介することなく前記バッキング材に密着している超音波探触子。
〔2〕 カバー部材は、前記バッキング材の前記後面、前記一対の第1側面および前記一対の第2側面を覆う〔1〕に記載の超音波探触子。
〔3〕 カバー部材は、金属材料から形成されている〔1〕または〔2〕に記載の超音波探触子。
〔4〕 バッキング材の前面上に配置されたフレキシブル回路基板を備え、
複数の圧電素子は、フレキシブル回路基板の表面上に配列されている〔1〕~〔3〕のいずれかに記載の超音波探触子。
〔5〕 フレキシブル回路基板は、複数の配線を含む少なくとも1層の配線層と、複数の圧電素子の間に対応して形成された複数の溝を有し、
複数の圧電素子の間およびフレキシブル回路基板の複数の溝に充填剤が充填され、
フレキシブル回路基板の複数の溝は、複数の配線から離れている〔4〕に記載の超音波探触子。
【発明の効果】
【0008】
本発明は、複数の圧電素子がバッキング材の前面上にアジマス方向に沿ってアレイ状に配列された超音波探触子であって、バッキング材は、複数の圧電素子が配列されている前面と、前面とは反対方向を向いた後面と、アジマス方向に沿って延びる一対の第1側面と、エレベーション方向に沿って延びる一対の第2側面を有し、超音波探触子が、少なくともバッキング材の後面および一対の第1側面を覆い且つバッキング材を支持するカバー部材を備え、カバー部材が、バッキング材よりもヤング率および熱伝導率が高い材料により形成され、接着剤層を介することなくバッキング材に密着しているため、安定した音響性能を有することができる。
【図面の簡単な説明】
【0009】
本発明の実施の形態1に係る超音波探触子の構成を示す図である。
本発明の実施の形態1におけるバッキング材を示す図である。
本発明の実施の形態1におけるカバー部材を示す図である。
本発明の実施の形態1におけるカバー部材とバッキング材を示す図である。
本発明の実施の形態1におけるカバー部材の他の例を示す図である。
本発明の実施の形態2に係る超音波探触子の構成を示す図である。
本発明の実施の形態2における複数の溝を示す図である。
【発明を実施するための形態】
【0010】
以下、この発明の実施の形態を添付図面に基づいて説明する。
以下に記載する構成要件の説明は、本発明の代表的な実施態様に基づいてなされるが、本発明はそのような実施態様に限定されるものではない。
なお、本明細書において、「~」を用いて表される数値範囲は、「~」の前後に記載される数値を下限値および上限値として含む範囲を意味する。
本明細書において、「同一」、「同じ」は、技術分野で一般的に許容される誤差範囲を含むものとする。
(【0011】以降は省略されています)
この特許をJ-PlatPat(特許庁公式サイト)で参照する
関連特許
富士フイルム株式会社
内視鏡
今日
富士フイルム株式会社
レンズ装置
3日前
富士フイルム株式会社
超音波探触子
1日前
富士フイルム株式会社
超音波探触子
1日前
富士フイルム株式会社
超音波診断装置
3日前
富士フイルム株式会社
医療機器用カート
今日
富士フイルム株式会社
医療用X線測定装置
3日前
富士フイルム株式会社
配線基板の製造方法
3日前
富士フイルム株式会社
ゼリーボトルハンガ
1日前
富士フイルム株式会社
洗浄消毒装置及び蓋部
6日前
富士フイルム株式会社
内視鏡の操作部及び内視鏡
6日前
富士フイルム株式会社
X線管およびX線検査装置
今日
富士フイルム株式会社
内視鏡の操作部、及び内視鏡
6日前
富士フイルム株式会社
ズームレンズおよび撮像装置
3日前
富士フイルム株式会社
超音波診断装置の手押しハンドル
1日前
富士フイルム株式会社
磁気共鳴撮像装置及び画像処理方法
1日前
富士フイルム株式会社
情報処理装置、方法およびプログラム
3日前
富士フイルム株式会社
情報処理装置、及び情報処理プログラム
1日前
富士フイルム株式会社
情報処理装置、及び情報処理プログラム
今日
富士フイルム株式会社
情報処理装置、及び情報処理プログラム
1日前
富士フイルム株式会社
情報処理装置、及び情報処理プログラム
1日前
富士フイルム株式会社
超音波診断装置用カートおよび超音波診断ユニット
今日
富士フイルム株式会社
画像処理装置、内視鏡システム、画像処理方法、及びプログラム
6日前
富士フイルム株式会社
画像処理装置、内視鏡システム、画像処理方法、及びプログラム
6日前
富士フイルム株式会社
焦点制御装置、焦点制御装置の作動方法、焦点制御装置の作動プログラム、並びに撮像装置
1日前
富士フイルム株式会社
光硬化性組成物、画素の製造方法、膜、光学フィルタ、固体撮像素子、画像表示装置および光重合開始剤
3日前
富士フイルム株式会社
露出制御装置、露出制御装置の作動方法、露出制御装置の作動プログラム、焦点制御装置、並びに撮像装置
3日前
富士フイルム株式会社
組成物、磁性粒子含有硬化物、磁性粒子導入基板、電子材料
3日前
富士フイルム株式会社
組成物、磁性粒子含有硬化物、磁性粒子導入基板、電子材料
3日前
富士フイルム株式会社
組成物、磁性粒子含有硬化物、磁性粒子導入基板、電子材料
3日前
富士フイルム株式会社
組成物、磁性粒子含有硬化物、磁性粒子導入基板、電子材料
3日前
富士フイルム株式会社
組成物、磁性粒子含有硬化物、磁性粒子導入基板、電子材料
3日前
富士フイルム株式会社
組成物、磁性粒子含有硬化物、磁性粒子導入基板、電子材料
3日前
富士フイルム株式会社
組成物、磁性粒子含有硬化物、磁性粒子導入基板、電子材料
3日前
富士フイルム株式会社
組成物、磁性粒子含有硬化物、磁性粒子導入基板、電子材料
3日前
個人
健康器具
7か月前
続きを見る
他の特許を見る