TOP
|
特許
|
意匠
|
商標
特許ウォッチ
Twitter
他の特許を見る
公開番号
2025142484
公報種別
公開特許公報(A)
公開日
2025-10-01
出願番号
2024041856
出願日
2024-03-18
発明の名称
超音波診断装置の手押しハンドル
出願人
富士フイルム株式会社
代理人
弁理士法人YKI国際特許事務所
主分類
A61B
8/00 20060101AFI20250924BHJP(医学または獣医学;衛生学)
要約
【課題】超音波診断装置の手押しハンドルの高さを変更可能にする。
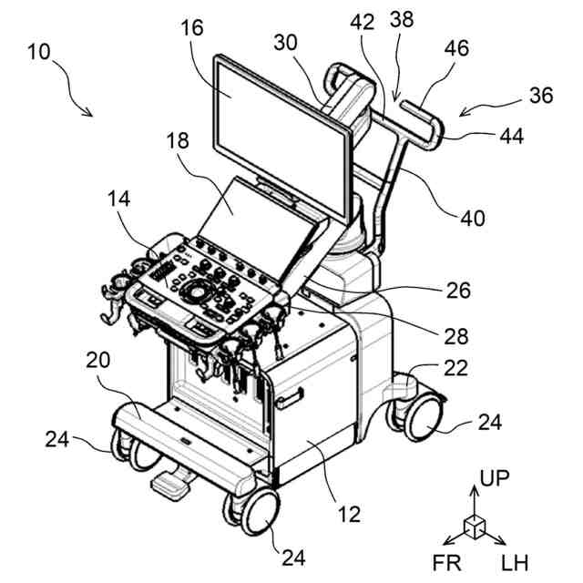
【解決手段】超音波診断装置の手押しハンドル36は、グリップ部46を有するハンドルトップ38と、上端がハンドルトップ38に固定され、下端が装置本体に固定されたハンドル支柱40とを備える。ハンドル支柱40は、ハンドルトップ38と一体となった支柱上部部材54と、装置本体に設けられた支柱下部部材56と、上端部において支柱上部部材54と着脱可能に結合し、下端部において支柱下部部材56と着脱可能に結合する支柱中間部材58とを含む。支柱上部部材54と支柱下部部材56は、支柱中間部材58を介さずに直接結合可能である。支柱上部部材54と支柱下部部材56が支柱中間部材58を介して結合した状態では手押しハンドル36の高さは高くなり、支柱上部部材54と支柱下部部材56が直接結合した状態では手押しハンドル36の高さが低くなる。
【選択図】図5
特許請求の範囲
【請求項1】
超音波診断装置の装置本体に立設された手押しハンドルであって、
左右方向に延びるハンドルトップと、
上端が前記ハンドルトップに固定され、下端が前記装置本体に固定されたハンドル支柱と、
を備え、
前記ハンドル支柱は、
前記ハンドルトップと一体となった支柱上部部材と、
前記装置本体に設けられた支柱下部部材と、
上端部において前記支柱上部部材と着脱可能に結合し、下端部において前記支柱下部部材と着脱可能に結合する中間部材と、
を含み、
前記支柱上部部材と前記支柱下部部材は、前記中間部材を介さずに直接結合可能である、
超音波診断装置の手押しハンドル。
続きを表示(約 480 文字)
【請求項2】
請求項1に記載の超音波診断装置の手押しハンドルであって、
前記中間部材が屈曲しており、前記ハンドルトップは、前記中間部材が前記支柱上部部材と前記支柱下部部材の間に介在する場合には、前記中間部材が介在しない場合に比べて後方に位置する、
超音波診断装置の手押しハンドル。
【請求項3】
請求項1に記載の超音波診断装置の手押しハンドルであって、
当該手押しハンドルは、左右に離れて配置された2本の前記ハンドル支柱を有し、左右の前記中間部材をつなぐ横方向部材を有する、
超音波診断装置の手押しハンドル。
【請求項4】
請求項1に記載の超音波診断装置の手押しハンドルであって、
前記支柱上部部材と前記中間部材の結合部、および前記支柱下部部材と前記中間部材の結合部は半割形状であり、前記支柱上部部材と前記中間部材、および前記支柱下部部材と前記中間部材が結合状態にあるとき、前記結合部の外形と、当該結合部に隣接する部分の外形が同一である、
超音波診断装置の手押しハンドル。
発明の詳細な説明
【技術分野】
【0001】
本発明は、超音波診断装置の手押しハンドルの構造に関する。
続きを表示(約 1,400 文字)
【背景技術】
【0002】
超音波診断装置は、患者の体内に対して超音波を送受して超音波断層画像等を取得し、取得した画像をモニタに表示するものである。このような超音波診断装置は、多くの病院で使用されている。超音波診断装置は、一般に診察室内で固定的に使用されるが、他の診察室や病室へ移動して使用される場合がある。このため、一般的な超音波診断装置は、底部にキャスタを備え、装置本体に備えられたハンドルを押し引きすることによって移動できるように構成されている。下記特許文献1には、作業者の身長に合わせてハンドルを昇降可能とした超音波診断装置が示されている。
【先行技術文献】
【特許文献】
【0003】
特開2009-273507号公報
【発明の概要】
【発明が解決しようとする課題】
【0004】
超音波診断装置の移動用ハンドルのハンドルトップの高さを変更可能とする、より簡易な構造が求められている。
【課題を解決するための手段】
【0005】
本発明に係る超音波診断装置の手押しハンドルは、左右方向に延びるハンドルトップと、上端がハンドルトップに固定され、下端が装置本体に固定されたハンドル支柱とを備え、装置本体に立設されている。ハンドル支柱は、ハンドルトップと一体となった支柱上部部材と、装置本体に設けられた支柱下部部材と、上端部において支柱上部部材と着脱可能に結合し、下端部において前記支柱下部部材と着脱可能に結合する中間部材とを含む。支柱上部部材と支柱下部部材は、中間部材を介さずに直接結合可能である。
【0006】
支柱上部部材と支柱下部部材を中間部材を介して結合した場合、手押しハンドルの高さが高くなり、中間部材を用いず、支柱上部部材と支柱下部部材を直接結合した場合には、手押しハンドルの高さが低くなる。
【0007】
中間部材は、屈曲したものであってよく、中間部材が支柱上部部材と支柱下部部材の間に介在する場合には、介在しない場合に比べてハンドルトップが後方に位置する。これにより、超音波診断装置の他の構成、特にメインモニタを支持する多関節アームとの干渉が防止される。
【0008】
手押しハンドルは、前記のハンドル支柱を2本有してよく、2本のハンドル支柱は左右に離れて配置されている。手押しハンドルは、左右の中間部材をつなぐ横方向部材を有してよい。2本のハンドル支柱を横方向部材でつなぐことにより、手押しハンドルの剛性、特に、ねじりに対する剛性が向上する。
【0009】
支柱上部部材と中間部材の結合部、および支柱下部部材と中間部材の結合部は半割形状であってよく、支柱上部部材と中間部材、および支柱下部部材と中間部材が結合状態にあるとき、結合部の外形と、当該結合部に隣接する部分の外形を同一としてよい。部材の結合部分において、ハンドル支柱の表面に段差が形成されない。
【発明の効果】
【0010】
手押しハンドルの高さを変更することによって、手押しハンドルを持って超音波診断装置を移動させる作業において、手押しハンドルの高さを、身長が高い作業者にも、身長が低い作業者にも使いやすい高さとすることができる。
【図面の簡単な説明】
(【0011】以降は省略されています)
この特許をJ-PlatPat(特許庁公式サイト)で参照する
関連特許
富士フイルム株式会社
内視鏡
今日
富士フイルム株式会社
レンズ装置
3日前
富士フイルム株式会社
超音波探触子
1日前
富士フイルム株式会社
超音波探触子
1日前
富士フイルム株式会社
超音波診断装置
3日前
富士フイルム株式会社
医療機器用カート
今日
富士フイルム株式会社
医療用X線測定装置
3日前
富士フイルム株式会社
ゼリーボトルハンガ
1日前
富士フイルム株式会社
配線基板の製造方法
3日前
富士フイルム株式会社
洗浄消毒装置及び蓋部
6日前
富士フイルム株式会社
内視鏡の操作部及び内視鏡
6日前
富士フイルム株式会社
X線管およびX線検査装置
今日
富士フイルム株式会社
ズームレンズおよび撮像装置
3日前
富士フイルム株式会社
内視鏡の操作部、及び内視鏡
6日前
富士フイルム株式会社
超音波診断装置の手押しハンドル
1日前
富士フイルム株式会社
磁気共鳴撮像装置及び画像処理方法
1日前
富士フイルム株式会社
情報処理装置、方法およびプログラム
3日前
富士フイルム株式会社
撮影制御装置、方法およびプログラム
6日前
富士フイルム株式会社
情報処理装置、及び情報処理プログラム
1日前
富士フイルム株式会社
情報処理装置、及び情報処理プログラム
今日
富士フイルム株式会社
情報処理装置、及び情報処理プログラム
1日前
富士フイルム株式会社
情報処理装置、及び情報処理プログラム
1日前
富士フイルム株式会社
放射線画像処理装置、方法およびプログラム
6日前
富士フイルム株式会社
放射線画像処理装置、方法およびプログラム
6日前
富士フイルム株式会社
超音波診断装置用カートおよび超音波診断ユニット
今日
富士フイルム株式会社
画像処理装置、内視鏡システム、画像処理方法、及びプログラム
6日前
富士フイルム株式会社
画像処理装置、内視鏡システム、画像処理方法、及びプログラム
6日前
富士フイルム株式会社
焦点制御装置、焦点制御装置の作動方法、焦点制御装置の作動プログラム、並びに撮像装置
1日前
富士フイルム株式会社
光硬化性組成物、画素の製造方法、膜、光学フィルタ、固体撮像素子、画像表示装置および光重合開始剤
3日前
富士フイルム株式会社
露出制御装置、露出制御装置の作動方法、露出制御装置の作動プログラム、焦点制御装置、並びに撮像装置
3日前
富士フイルム株式会社
組成物、磁性粒子含有硬化物、磁性粒子導入基板、電子材料
3日前
富士フイルム株式会社
組成物、磁性粒子含有硬化物、磁性粒子導入基板、電子材料
3日前
富士フイルム株式会社
組成物、磁性粒子含有硬化物、磁性粒子導入基板、電子材料
3日前
富士フイルム株式会社
組成物、磁性粒子含有硬化物、磁性粒子導入基板、電子材料
3日前
富士フイルム株式会社
組成物、磁性粒子含有硬化物、磁性粒子導入基板、電子材料
3日前
富士フイルム株式会社
組成物、磁性粒子含有硬化物、磁性粒子導入基板、電子材料
3日前
続きを見る
他の特許を見る