TOP
|
特許
|
意匠
|
商標
特許ウォッチ
Twitter
他の特許を見る
10個以上の画像は省略されています。
公開番号
2025142707
公報種別
公開特許公報(A)
公開日
2025-10-01
出願番号
2024042218
出願日
2024-03-18
発明の名称
光学素子、光学装置および撮像装置
出願人
キヤノン株式会社
代理人
個人
,
個人
,
個人
,
個人
主分類
G02B
7/02 20210101AFI20250924BHJP(光学)
要約
【課題】信頼性と安定性の高いレンズ接着を実現した光学素子を提供する。
【解決手段】光軸Oが通過する光学有効面13fと、光学有効面13fの径方向の外側に形成された側面13bとを有するPMOレンズ13であって、側面13bには、周期的なパターンを含む複数の微細突起Pが形成され、PMOレンズ13を保持するレンズホルダ12とPMOレンズ13との間には接着池12cが設けられており、接着池12cに注入された接着剤14により微細突起Pを有する側面13bとレンズホルダ12とが固定されることを特徴とする。
【選択図】 図1
特許請求の範囲
【請求項1】
光軸が通過する第一の面と、前記第一の面の径方向の外側に形成された第二の面とを有する光学素子であって、
前記第二の面には、周期的なパターンを含む複数の凸形状部が形成され、
前記光学素子を保持する保持部材と前記光学素子との間には隙間部が設けられており、
前記隙間部に注入された接着剤により前記凸形状部を有する前記第二の面と前記保持部材とが固定されることを特徴とする、光学素子。
続きを表示(約 790 文字)
【請求項2】
前記第二の面には、前記複数の凸形状部が50μm~150μmの間隔で形成されていることを特徴とする、請求項1に記載の光学素子。
【請求項3】
前記複数の凸形状部が周期的かつ規則的な繰り返しパターンで形成されていることを特徴とする、請求項1に記載の光学素子。
【請求項4】
前記凸形状部は、少なくとも同一の形状の組み合わせを含むことを特徴とする、請求項1に記載の光学素子。
【請求項5】
前記凸形状部の斜面と前記第二の面との成す角度は、少なくとも斜面の一部が35度以上の角度であることを特徴とする、請求項1に記載の光学素子。
【請求項6】
前記凸形状部の高さは、3μm~20μmであることを特徴とする、請求項1に記載の光学素子。
【請求項7】
前記光学素子は樹脂製レンズであり、前記凸形状部は前記樹脂製レンズを成型する金型に設けられた凹形状部を射出成形で転写することによって形成されることを特徴とする、請求項1に記載の光学素子。
【請求項8】
前記金型の前記凹形状部は、レーザー加工によって形成されることを特徴とする、請求項7に記載の光学素子。
【請求項9】
前記隙間部は、前記保持部材の周方向に一定の角度間隔で前記保持部材に形成された複数の接着池であり、
前記凸形状部は、前記第二の面としての前記光学素子の側面に形成されていることを特徴とする、請求項1に記載の光学素子。
【請求項10】
前記側面は、前記光学素子の前記光軸に対して傾きがある面であり、前記保持部材から前記光学素子が抜ける方向に対して前記接着剤が楔にはならない方向に傾いていることを特徴とする、請求項9に記載の光学素子。
(【請求項11】以降は省略されています)
発明の詳細な説明
【技術分野】
【0001】
本発明は、光学素子、光学装置および撮像装置に関する。
続きを表示(約 1,900 文字)
【背景技術】
【0002】
近年、非球面レンズの1種として、アクリルなどの樹脂を原料とするプラスチックモールドレンズが主に小型のレンズ鏡筒に採用される場面が増えている。
【0003】
プラスチックモールドレンズをレンズホルダに対して固定するには、熱や圧力をかけずに接着剤で固定する方法を採用する場合が多い。特許文献1には、親水処理を行ってプラスチックレンズをレンズ保持枠に紫外線硬化型接着剤(UV接着剤)で接着する技術が開示されている。また、特許文献2には、小型の機器における撮像装置に用いられる光学素子の固定に関して、光学素子の外周縁部の少なくとも1つの面の表面粗さを光学素子の光学機能面の表面粗さよりも大きくして表面積を増大し、接着強度を大きくする技術が開示されている。
【先行技術文献】
【特許文献】
【0004】
特開2018-180535号公報
特開2005-193646号公報
【発明の概要】
【発明が解決しようとする課題】
【0005】
しかしながら、UV接着剤とプラスチックモールドレンズは接着性が悪く、厳しい温度環境で保管したり落下衝撃試験をおこなったりすると、接着が剥がれてしまう場合がある。また、特許文献1に開示されている親水処理では、コストが増加する虞がある。また、特許文献2に開示されている光学素子は、デジタルスチルカメラや携帯電話などの小型の機器における撮像装置に用いられるが、一方、交換式のレンズ装置では、より大きな光学素子が用いられるため、対策としては不十分である。
【0006】
本発明の目的は、信頼性と安定性の高いレンズ接着を実現した光学素子を提供することである。
【課題を解決するための手段】
【0007】
上記目的を達成するために、本発明は、光軸が通過する第一の面と、前記第一の面の径方向の外側に形成された第二の面とを有する光学素子であって、前記第二の面には、周期的なパターンを含む複数の凸形状部が形成され、前記光学素子を保持する保持部材と前記光学素子との間には複数の隙間部が設けられており、前記隙間部に注入された接着剤により前記凸形状部を有する前記第二の面と前記保持部材とが固定されることを特徴とする。
【発明の効果】
【0008】
本発明によれば信頼性と安定性の高いレンズ接着を実現した光学素子を提供することができる。
【図面の簡単な説明】
【0009】
(A)実施例1のPMOレンズ13の斜視図である。(B)図1(A)の断面線IB-IBにおけるPMOレンズ13の部分断面図である。
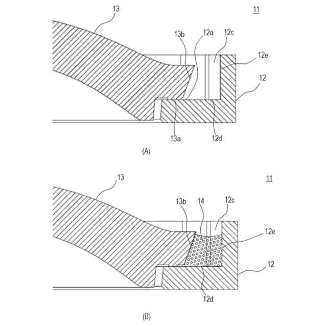
実施例1のレンズホルダ組立体11の斜視図である。
(A)図2の断面線III-IIIにおける部分断面図である。(B)接着剤14を滴下した状態の部分断面図である。
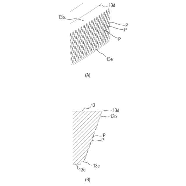
(A)微細突起Pの斜視図である。(B)PMOレンズ13の部分断面図である。
(A)微細突起Pの拡大斜視図である。(B)微細突起Pの平面図である。(C)図5(B)の断面線VC-VCにおける微細突起Pの断面図である。(D)図5(B)の断面線VD-VDにおける微細突起Pの断面図である。
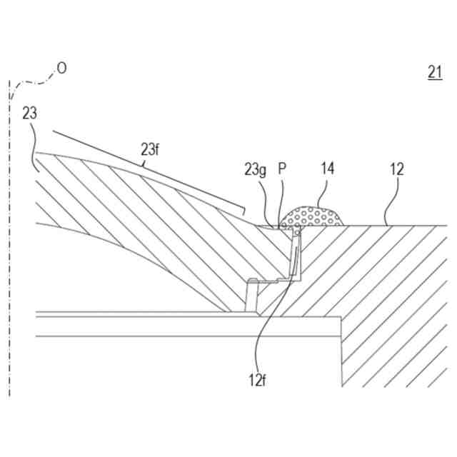
実施例2のPMOレンズ23の部分断面図である。
実施例2のレンズホルダ組立体21の部分断面図である。
実施例3のPMOレンズ33の部分断面図である。
実施例3のレンズホルダ組立体31の部分断面図である。
(A)、(B)金型15の構成を示す断面図である。
撮像装置の構成例を示す模式図である。
【発明を実施するための形態】
【0010】
(実施例1)
以下、本発明の実施例について、図面を参照しながら詳細に説明する。図1(A)は本発明の実施例1に係るPMOレンズ13(プラスチックモールドレンズ、光学素子)の斜視図である。図1(B)は、図1(A)の断面線IB-IBにおけるPMOレンズ13の部分断面図である。図2は、実施例1のレンズホルダ組立体11を表す斜視図であり、接着剤14は不図示である。図3(A)は、図2の断面線III-IIIにおける部分断面図であり、レンズホルダ組立体11を、光軸Oを含む平面でカットし矢印方向に見た部分断面図である。図3(B)は、接着剤14を滴下した状態の部分断面図である。
(【0011】以降は省略されています)
この特許をJ-PlatPat(特許庁公式サイト)で参照する
関連特許
キヤノン株式会社
トナー
今日
キヤノン株式会社
電子機器
25日前
キヤノン株式会社
撮像装置
25日前
キヤノン株式会社
撮像装置
16日前
キヤノン株式会社
発光装置
7日前
キヤノン株式会社
表示装置
7日前
キヤノン株式会社
電子機器
4日前
キヤノン株式会社
定着装置
23日前
キヤノン株式会社
電子機器
23日前
キヤノン株式会社
電子機器
8日前
キヤノン株式会社
定着装置
23日前
キヤノン株式会社
記録装置
今日
キヤノン株式会社
電子機器
16日前
キヤノン株式会社
定着装置
14日前
キヤノン株式会社
定着装置
23日前
キヤノン株式会社
記録装置
16日前
キヤノン株式会社
撮像装置
8日前
キヤノン株式会社
電子機器
2日前
キヤノン株式会社
電子機器
8日前
キヤノン株式会社
電子機器
28日前
キヤノン株式会社
収容装置
8日前
キヤノン株式会社
記録装置
15日前
キヤノン株式会社
撮像装置
28日前
キヤノン株式会社
撮像装置
15日前
キヤノン株式会社
撮像装置
14日前
キヤノン株式会社
定着装置
8日前
キヤノン株式会社
撮像装置
今日
キヤノン株式会社
半導体装置
2日前
キヤノン株式会社
現像剤容器
1日前
キヤノン株式会社
画像処理装置
1日前
キヤノン株式会社
画像形成装置
4日前
キヤノン株式会社
撮像システム
16日前
キヤノン株式会社
画像形成装置
7日前
キヤノン株式会社
表示システム
1日前
キヤノン株式会社
画像形成装置
7日前
キヤノン株式会社
画像形成装置
23日前
続きを見る
他の特許を見る