TOP
|
特許
|
意匠
|
商標
特許ウォッチ
Twitter
他の特許を見る
10個以上の画像は省略されています。
公開番号
2025142877
公報種別
公開特許公報(A)
公開日
2025-10-01
出願番号
2024042474
出願日
2024-03-18
発明の名称
ステープル
出願人
マックス株式会社
代理人
個人
,
個人
,
個人
,
個人
主分類
A01G
9/12 20060101AFI20250924BHJP(農業;林業;畜産;狩猟;捕獲;漁業)
要約
【課題】ガイド要素に植物の茎や枝などを保持可能なステープルにおいて、螺旋状に変形しやすいステープルを提供すること。
【解決手段】本開示に係るステープルは、可撓性を有する線材から形成され、延伸する対象物を包囲するように螺旋状に変形させることにより対象物と係合可能な先端部を有するステープルであって、変形後の状態において対象物と対向することになる先端部の内周部、内周部とは反対側の先端部の外周部、または内周部及び外周部の双方には、変形促進部が形成されている。
【選択図】図1C
特許請求の範囲
【請求項1】
可撓性を有する線材から形成され、
延伸する対象物を包囲するように螺旋状に変形させることにより前記対象物と係合可能な先端部を有するステープルであって、
前記変形後の状態において前記対象物と対向することになる前記先端部の内周部、前記内周部とは反対側の前記先端部の外周部、または前記内周部及び前記外周部の双方には、変形促進部が形成されている
ステープル。
続きを表示(約 1,000 文字)
【請求項2】
前記変形促進部は、凹部を有する請求項1記載のステープル。
【請求項3】
前記凹部は、溝部を有し、
前記変形前の状態において、前記溝部は、前記先端部の延伸方向に対して傾斜する方向に延伸する傾斜部を有する請求項2記載のステープル。
【請求項4】
前記変形前の状態において、前記傾斜部は、前記先端部の延伸方向と垂直な方向に進行するほど前記ステープルの先端に接近するように傾斜して形成され、
前記先端部は、前記垂直な方向に進行しながら前記延伸する対象物を包囲するように螺旋状に変形される
請求項3記載のステープル。
【請求項5】
前記変形前の状態における側面視において、前記傾斜部の延伸方向と前記先端部の延伸方向とのなす角は、55度以上85度以下である
請求項3記載のステープル。
【請求項6】
前記対象物の断面を近似する円の直径をD1とし、
前記変形前の状態において前記先端部の断面を近似する円の直径をD2とするとき、
D2は、D1の75%以上125%以下である
請求項5記載のステープル。
【請求項7】
前記先端部の延伸方向に沿って互いに離間して形成された複数の前記凹部を有する請求項2記載のステープル。
【請求項8】
前記対象物の断面を近似する円の直径をD1とし、
前記変形前の状態において前記先端部の断面を近似する円の直径をD2とするとき、
D2は、D1の75%以上125%以下であり、
前記変形前の状態において、前記先端部の延伸方向に沿った7×D1以上の長さの領域にわたり複数の前記凹部が形成されている
請求項7記載のステープル。
【請求項9】
前記対象物の断面を近似する円の直径をD1とするとき、
前記変形前の状態において前記ステープルの先端に最も近い前記凹部の少なくとも一部は、前記ステープルの先端から1.4×D1以上3.5×D1以下の位置に形成されている、
請求項2記載のステープル。
【請求項10】
前記先端部は、
前記凹部が形成されている第1部と、
前記第1部と連続し、先端にかけて傾斜する第2部とを有し、
前記凹部は、前記第2部に隣接した位置に形成されている、
請求項2に記載のステープル。
(【請求項11】以降は省略されています)
発明の詳細な説明
【技術分野】
【0001】
本発明は、ステープルに関する。
続きを表示(約 1,400 文字)
【背景技術】
【0002】
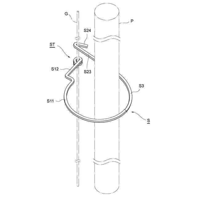
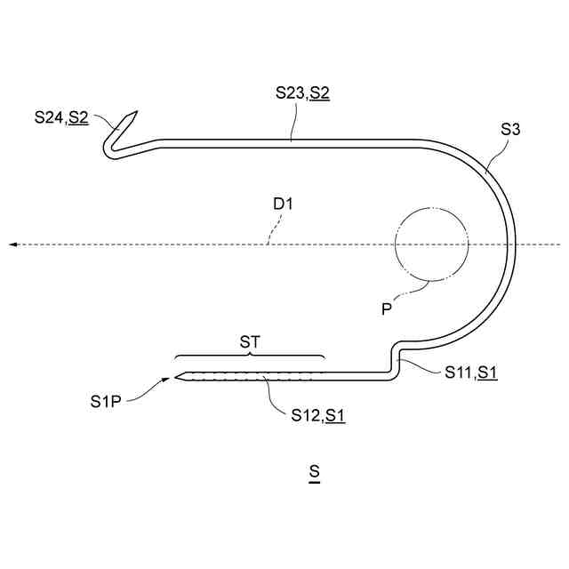
ワイヤ、梁、紐、棒、パイプ、樹木の枝等のガイド要素に、植物や樹木等の茎、蔓、枝等を保持させるためのステープルが知られている。
【0003】
特許文献1乃至特許文献3には、このようなステープル及びステープルを用いて結束するための結束機が開示されている。特許文献2に記載されているステープルは、2つの脚部とこれら脚部を接続する本体部(「クラウン」と呼ばれる場合もある。)を備え、一方の脚部の先端部が対象物の外周を螺旋状に進行するように先端部を変形させることにより、ガイド要素(「対象物」と呼ばれる場合もある。)と係合する。
【先行技術文献】
【特許文献】
【0004】
特開2022-74007号公報
特開2023-13307号公報
特開2023-13317号公報
【発明の概要】
【発明が解決しようとする課題】
【0005】
しかしながら、ステープルを変形させる際に、先端部が螺旋状に変形しないことや、他の部分に負荷がかかって座屈してしまうことがある。
【0006】
そこで本発明は、螺旋状に変形しやすいステープルを提供することを目的とする。
【課題を解決するための手段】
【0007】
本出願は、ガイド要素に植物の茎や枝などを保持可能なステープルであって、可撓性を有する線材から形成され、延伸する対象物を包囲するように螺旋状に変形させることにより前記対象物と係合可能な先端部を有するステープルであって、前記変形後の状態において前記対象物と対向することになる前記先端部の内周部、前記内周部とは反対側の前記先端部の外周部、または前記内周部及び前記外周部の双方には、変形促進部が形成されているステープルを開示する。
【0008】
ここでステープル(「線状結束材」と呼ばれる場合がある。)は、塑性変形可能な可撓性を有する線材から形成され、変形することにより対象物に係合するための部材(表面がめっき処理又は樹脂等でコーティングされたものを含む。)を含む。ステープルは、ワイヤ、クリップ、針金または結束具等と呼ばれる場合もある。
【0009】
なおステープルは、2つの脚部と、2つの脚部を接続する接続部(クラウン部と呼ばれる場合がある。)を含む任意の形状から構成されてよい。ここで2つの脚部は平行な線分状に形成されてもよいし、平行でない線分、曲線、またはそれらの組み合わせから形成されてもよい。クラウン部は、直線的に形成されてもよいし、湾曲して形成されてもよい。例えばステープルは、本実施形態に例示されるように、非対称な形状を有してもよい。
【0010】
また結束とは、ステープルを用いて一方の対象物と他方の対象物との相対的移動を拘束することを含む。例えば、一方の対象物(「第2対象物」と呼ばれる場合があり、例えば植物等である。)をステープルで包囲した状態で、このステープルの例えば両端部(2つの先端部)を他方の対象物(「第1対象物」、「ガイド」または「ガイド要素」等と呼ばれる場合があり、例えばワイヤ、梁、紐、棒、パイプ、樹木の枝等である。)に係合させることにより、対象物の結束が実現されてもよい。
【図面の簡単な説明】
(【0011】以降は省略されています)
この特許をJ-PlatPat(特許庁公式サイト)で参照する
関連特許
マックス株式会社
結束機
18日前
マックス株式会社
結束機
18日前
マックス株式会社
結束機
18日前
マックス株式会社
長尺媒体
9日前
マックス株式会社
ステープル
18日前
マックス株式会社
長尺媒体
5日前
マックス株式会社
エアコンプレッサ
19日前
個人
虫捕り器
20日前
個人
草刈り鋏
2日前
個人
刈込鋏保持具
16日前
個人
飼育容器
1か月前
個人
後付巻降ろし器
20日前
個人
イカ釣り用ヤエン
20日前
株式会社丹勝
緑化工法
17日前
井関農機株式会社
作業車両
20日前
井関農機株式会社
作業車両
18日前
株式会社シマノ
釣竿
20日前
井関農機株式会社
作業車両
10日前
井関農機株式会社
作業車両
20日前
井関農機株式会社
作業車両
10日前
個人
四足動物用装着具
3日前
個人
水耕栽培システム
1か月前
大栄工業株式会社
捕獲器
10日前
井関農機株式会社
作業車両
3日前
井関農機株式会社
作業車両
16日前
株式会社オーツボ
海苔箱船
2日前
井関農機株式会社
作業車両
1か月前
個人
伸縮する草刈り機の可動装置。
20日前
松山株式会社
農作業機
16日前
松山株式会社
農作業機
1か月前
個人
妻面トラス梁付き園芸用ハウス
1か月前
トヨタ自動車株式会社
育苗装置
17日前
みのる産業株式会社
茎葉処理装置
4日前
スガノ農機株式会社
圃場作業装置
17日前
個人
飼育水槽用の浄化装置
24日前
グローブライド株式会社
釣竿
10日前
続きを見る
他の特許を見る