TOP
|
特許
|
意匠
|
商標
特許ウォッチ
Twitter
他の特許を見る
公開番号
2025142927
公報種別
公開特許公報(A)
公開日
2025-10-01
出願番号
2024042553
出願日
2024-03-18
発明の名称
結束機
出願人
マックス株式会社
代理人
個人
,
個人
,
個人
,
個人
主分類
B65B
13/34 20060101AFI20250924BHJP(運搬;包装;貯蔵;薄板状または線条材料の取扱い)
要約
【課題】マガジンを本体部と容易に着脱可能な結束機を提供すること。
【解決手段】本開示に係る結束機は、対象物をステープルで結束可能に構成された結束部を有する本体部と、ステープルを支持可能に構成されたマガジンと、本体部に対して回動可能に設けられ結束部に接近する第1回転方向に回転することによりマガジンを結束部の方向に押圧し、反対の第2回転方向に回転することによりマガジンの押圧を解除可能に設けられる押圧部と、押圧部と共に本体部に対して回動可能に設けられ第1回転方向に回転することにより押圧部がマガジンを結束部の方向に押圧した状態で本体部に固定される固定部とを有し、押圧部及び固定部を用いてマガジンの少なくとも一部を本体部に着脱可能に取り付けられるように構成された取付部とを備える。
【選択図】図1B
特許請求の範囲
【請求項1】
対象物をステープルで結束可能に構成された結束部を有する本体部と、
ステープルを支持可能に構成されたマガジンと、
前記本体部に対して回動可能に設けられ前記結束部に接近する第1回転方向に回転することにより前記マガジンを前記結束部の方向に押圧し、反対の第2回転方向に回転することにより前記マガジンの押圧を解除可能に設けられる押圧部と、前記押圧部と共に前記本体部に対して回動可能に設けられ前記第1回転方向に回転することにより前記押圧部が前記マガジンを前記結束部の方向に押圧した状態で前記本体部に固定される固定部とを有し、前記押圧部及び前記固定部を用いて前記マガジンの少なくとも一部を前記本体部に着脱可能に取り付けられるように構成された取付部と
を備える結束機。
続きを表示(約 1,500 文字)
【請求項2】
前記押圧部が前記マガジンを前記結束部の方向に押圧し、かつ、前記固定部が前記本体部に固定されたマガジン取付状態において、前記取付部と前記マガジンとの間には、ステープルを挿入可能な挿通口が形成され、
前記マガジンは、前記挿通口から挿入されたステープルを支持可能に構成されている
請求項1に記載の結束機。
【請求項3】
前記取付部は、
前記本体部に前記第1回転方向及び前記第2回転方向に回動可能に取り付けられた回転軸部をさらに備え、
前記固定部は、
前記マガジン取付状態において前記本体部から前記第1回転方向の力を受けた状態で前記本体部に固定される本体当接部と、
前記本体当接部と前記回転軸部とを接続する接続部と
を有し、
前記押圧部は、
前記回転軸部から前記本体当接部に向かう方向に延伸して形成され、前記回転軸部と前記本体当接部との間の領域において前記マガジンを前記結束部の方向に押圧可能に構成されたマガジン当接部と
を有する請求項2に記載の結束機。
【請求項4】
前記マガジンは、
上下方向に延伸して形成され、ステープルで囲まれる領域に挿通された状態で、一または上下方向に連結された複数のステープルを支持するためのマガジン支持部を有する
請求項3に記載の結束機。
【請求項5】
前記マガジン取付状態において、
前記本体当接部及び前記接続部は、前記マガジン支持部の外側に設けられ、
前記挿通口は、前記本体当接部及び前記接続部と、前記マガジン支持部との間に形成され、
前記マガジン当接部は、前記マガジン支持部の下端部を上方に押圧する
請求項4に記載の結束機。
【請求項6】
前記マガジンに支持され、上端に位置するステープルを前方に移動させる移動部をさらに備え、
前記マガジン支持部及び前記マガジン当接部は、前記本体当接部よりも前方に設けられ、
前記回転軸部は、前記マガジン支持部及び前記マガジン当接部よりも前方に設けられる
請求項5に記載の結束機。
【請求項7】
前記マガジン支持部及び前記マガジン当接部は、前記本体当接部よりも後方に設けられ、
前記回転軸部は、前記マガジン支持部及び前記マガジン当接部よりも後方に設けられる
請求項5に記載の結束機。
【請求項8】
前記マガジンは、
上下方向に移動可能に構成され、前記マガジン取付状態において前記マガジン当接部と当接する被当接部をさらに備える
請求項3に記載の結束機。
【請求項9】
前記マガジンは、前記被当接部を下方に付勢するための弾性部材をさらに備える請求項8に記載の結束機。
【請求項10】
前記回転軸部は、
前記本体当接部に対して前方、かつ、左方または右方に離間した位置において前記本体部に取り付けられた第1回転軸部と、
前記本体当接部に対して前方、かつ、右方または左方に離間した位置であって、前記第1回転軸部と左右方向に離間対向する位置において前記本体部に取り付けられた第2回転軸部とを有し、
前記接続部は、
前記本体当接部と前記第1回転軸部とを接続する第1接続部と、
前記本体当接部と前記第2回転軸部とを接続する第2接続部と
を有する請求項8に記載の結束機。
(【請求項11】以降は省略されています)
発明の詳細な説明
【技術分野】
【0001】
本発明は、結束機に関する。
続きを表示(約 1,900 文字)
【背景技術】
【0002】
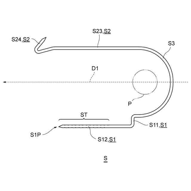
ワイヤ、梁、紐、棒、パイプ、樹木の枝等のガイド要素に、植物や樹木等の茎、蔓、枝等を保持させるためのステープルが知られている。
【0003】
特許文献1乃至特許文献3には、このようなステープル及びステープルを用いて結束するための結束機が開示されている。特許文献2に記載されているステープルは、2つの脚部とこれら脚部を接続する本体部(「クラウン」と呼ばれる場合もある。)を備え、一方の脚部の先端部が対象物の外周を螺旋状に進行するように先端部を変形させることにより、ガイド要素(「対象物」と呼ばれる場合もある。)と係合する。
【先行技術文献】
【特許文献】
【0004】
特開2022-74007号公報
特開2023-13307号公報
特開2023-13317号公報
【発明の概要】
【発明が解決しようとする課題】
【0005】
このような結束機において、メンテナンス時やステープルが詰まった際に、マガジンを結束機の本体部から取り外したい場面がある。
しかしながら、マガジンを本体部と容易に着脱するための構成は知られていない。
そこで本発明は、マガジンを本体部と容易に着脱可能な結束機を提供することを目的とする。
【課題を解決するための手段】
【0006】
本出願は、対象物をステープルで結束可能に構成された結束部を有する本体部と、ステープルを支持可能に構成されたマガジンと、前記本体部に対して回動可能に設けられ前記結束部に接近する第1回転方向に回転することにより前記マガジンを前記結束部の方向に押圧し、反対の第2回転方向に回転することにより前記マガジンの押圧を解除可能に設けられる押圧部と、前記押圧部と共に前記本体部に対して回動可能に設けられ前記第1回転方向に回転することにより前記押圧部が前記マガジンを前記結束部の方向に押圧した状態で前記本体部に固定される固定部とを有し、前記押圧部及び前記固定部を用いて前記マガジンの少なくとも一部を前記本体部に着脱可能に取り付けられるように構成された取付部とを備える結束機を開示する。
【0007】
ここでステープル(「線状結束材」と呼ばれる場合がある。)は、塑性変形可能な可撓性を有する線材から形成され、変形することにより対象物に係合するための部材(表面がめっき処理又は樹脂等でコーティングされたものを含む。)を含む。ステープルは、ワイヤ、クリップ、針金または結束具等と呼ばれる場合もある。
【0008】
なおステープルは、2つの脚部と、2つの脚部を接続する接続部(クラウン部と呼ばれる場合がある。)を含む任意の形状から構成されてよい。ここで2つの脚部は平行な線分状に形成されてもよいし、平行でない線分、曲線、またはそれらの組み合わせから形成されてもよい。クラウン部は、直線的に形成されてもよいし、湾曲して形成されてもよい。例えばステープルは、本実施形態に例示されるように、非対称な形状を有してもよい。
【0009】
また結束とは、ステープルを用いて一方の対象物と他方の対象物との相対的移動を拘束することを含む。例えば、一方の対象物(「第2対象物」と呼ばれる場合があり、例えば植物等である。)をステープルで包囲した状態で、このステープルの例えば両端部(2つの先端部)を他方の対象物(「第1対象物」、「ガイド」または「ガイド要素」等と呼ばれる場合があり、例えばワイヤ、梁、紐、棒、パイプ、樹木の枝等である。)に係合させることにより、対象物の結束が実現されてもよい。
【図面の簡単な説明】
【0010】
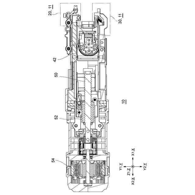
図1Aは、一実施形態に係る結束機の斜視図である。
図1Bは、一実施形態に係る結束機の斜視図である。
図2は、一実施形態に係る結束機を下方から見た底面図(下面視)である。
図3は、一実施形態に係る結束機を側方から見た断面図である。
図4は、一実施形態に係る結束機を上方から見た断面図である。
図5Aは、一実施形態に係る結束機によって結束される変形前のステープルを示す平面図(上面視)である。
図5Bは、一実施形態に係る結束機によって結束される変形後のステープルを示す斜視図である。
【発明を実施するための形態】
(【0011】以降は省略されています)
この特許をJ-PlatPat(特許庁公式サイト)で参照する
関連特許
マックス株式会社
結束機
18日前
マックス株式会社
結束機
18日前
マックス株式会社
結束機
18日前
マックス株式会社
長尺媒体
9日前
マックス株式会社
ステープル
18日前
マックス株式会社
長尺媒体
5日前
マックス株式会社
エアコンプレッサ
19日前
個人
ゴミ箱
12か月前
個人
収容箱
3か月前
個人
コンベア
4か月前
個人
段ボール箱
6か月前
個人
容器
9か月前
個人
ゴミ収集器
6か月前
個人
段ボール箱
6か月前
個人
パウチ補助具
12か月前
個人
宅配システム
6か月前
個人
楽ちんハンド
4か月前
個人
角筒状構造体
5か月前
個人
バンド
1か月前
個人
土嚢運搬器具
8か月前
個人
閉塞装置
9か月前
個人
包装容器
1か月前
個人
廃棄物収容容器
2か月前
個人
コード類収納具
8か月前
個人
お薬の締結装置
5か月前
個人
積み重ね用補助具
2か月前
個人
ゴミ処理機
8か月前
株式会社和気
包装用箱
8か月前
個人
蓋閉止構造
3か月前
株式会社バンダイ
物品
11日前
個人
把手付米袋
4か月前
株式会社コロナ
梱包材
5か月前
個人
蓋閉止構造
3か月前
個人
貯蔵サイロ
6か月前
株式会社新弘
容器
2か月前
個人
コード折り畳み器具
4か月前
続きを見る
他の特許を見る