TOP
|
特許
|
意匠
|
商標
特許ウォッチ
Twitter
他の特許を見る
公開番号
2025142311
公報種別
公開特許公報(A)
公開日
2025-09-30
出願番号
2025126861,2021211368
出願日
2025-07-30,2021-12-24
発明の名称
エアコンプレッサ
出願人
マックス株式会社
代理人
個人
,
個人
,
個人
,
個人
主分類
F04B
49/10 20060101AFI20250919BHJP(液体用容積形機械;液体または圧縮性流体用ポンプ)
要約
【課題】ユーザが搬送の為に近接している場合に確実にエアコンプレッサとしての機能を
停止することの可能なエアコンプレッサを提供する。
【解決手段】本発明の一態様に係るエアコンプレッサは、圧縮空気を外部の空圧工具に供
給するエアコンプレッサであって、ユーザの近接を検出する検出部と、検出部が近接を検
出した場合に、エアコンプレッサとしての機能を停止する制御部と、を備える。
【選択図】図2
特許請求の範囲
【請求項1】
圧縮空気を外部の空圧工具に供給するエアコンプレッサであって、
ユーザの近接を検出する検出部と、
前記検出部が前記近接を検出した場合に、エアコンプレッサとしての機能を停止する制
御部と、を備えるエアコンプレッサ。
続きを表示(約 1,100 文字)
【請求項2】
前記制御部は、前記圧縮空気を生成するための電動モータの作動を停止することにより
、エアコンプレッサとしての機能を停止する、請求項1に記載のエアコンプレッサ。
【請求項3】
前記制御部は、前記圧縮空気を生成するための電動モータへの電源の供給を停止するこ
とにより、エアコンプレッサとしての機能を停止する、請求項1又は2に記載のエアコン
プレッサ。
【請求項4】
前記空圧工具へ前記圧縮空気を供給するための供給口に設けられた電磁弁を更に備え、
前記制御部は、前記空圧工具への前記圧縮空気の供給を停止させるように前記電磁弁を
制御することにより、エアコンプレッサとしての機能を停止する、請求項1から3のいず
れか一項に記載のエアコンプレッサ。
【請求項5】
前記制御部は、前記検出部が連続して所定時間以上、前記近接を検出した場合に、エア
コンプレッサとしての機能を停止する、請求項1から4のいずれか一項に記載のエアコン
プレッサ。
【請求項6】
前記所定時間が任意に設定できるように構成された、請求項5に記載のエアコンプレッ
サ。
【請求項7】
前記制御部は、エアコンプレッサとしての機能を停止してから連続して所定時間以上、
前記検出部が前記近接を検出しなかった場合に、エアコンプレッサとしての機能の停止を
解除する、請求項1から6のいずれか一項に記載のエアコンプレッサ。
【請求項8】
エアコンプレッサとしての機能の停止の解除を受け付ける受付部を更に備え、
前記制御部は、前記受付部が前記解除を受け付けた場合に、エアコンプレッサとしての
機能の停止を解除する、請求項1から7のいずれか一項に記載のエアコンプレッサ。
【請求項9】
前記制御部は、前記受付部が前記解除を受け付けた場合であって、更に、前記解除が受
け付けられてから連続して所定時間以上、前記検出部が前記近接を検出しなかった場合に
、エアコンプレッサとしての機能の停止を解除する、請求項8に記載のエアコンプレッサ
。
【請求項10】
前記制御部は、前記エアコンプレッサが交流電源に接続されている場合、エアコンプレ
ッサとしての機能を停止させない、請求項1から9のいずれか一項に記載のエアコンプレ
ッサ。
(【請求項11】以降は省略されています)
発明の詳細な説明
【技術分野】
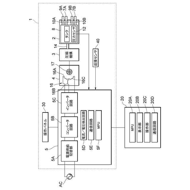
【0001】
本発明は、エアコンプレッサに関する。
続きを表示(約 1,700 文字)
【背景技術】
【0002】
建築現場等の作業現場においては、切削、釘打ち、ネジ打ちなどの作業を行うために、
圧縮空気を駆動エネルギーとした空圧工具が広く用いられている。空圧工具として、エア
ドライバや、ステープル、ピン、ビス、釘などのファスナを打ち込むネイラが知られてい
る。このような空圧工具に圧縮空気を供給するのが、エアコンプレッサである。
【0003】
一般に、エアコンプレッサは、モータの回転運動が、クランク軸を介してシリンダ内の
ピストンの往復運動に変換され、ピストンの往復運動によってシリンダの吸気弁から吸い
込んだ空気を圧縮するように構成されている。シリンダ内で圧縮された圧縮空気はシリン
ダの排気弁からパイプを通してタンクに吐出され、タンク内に貯留される。そして、タン
ク内に貯留された圧縮空気は、ユーザが調圧ダイヤルを操作することによって昇圧や減圧
の微調整を行うことが可能である。このように微調整を行うことにより所望の圧力となっ
た圧縮空気は、圧縮空気の供給口から外部の空圧工具に供給される。
【0004】
このようなエアコンプレッサについて、例えば運搬中の安全等を考慮して、エアコンプ
レッサの各種の機能を停止させる機構が提案されている。例えば、特許文献1には、設置
面に対するエアコンプレッサの設置状態または非設置状態を検知する設置検知手段を備え
たエアコンプレッサが開示されている。当該エアコンプレッサは、スイッチが非設置状態
を検知している場合に、エアコンプレッサとしての機能を停止する。
【先行技術文献】
【特許文献】
【0005】
特開2020-33969号公報
【発明の概要】
【発明が解決しようとする課題】
【0006】
しかしながら、上記特許文献に記載のエアコンプレッサでは、エアコンプレッサの設置
状態を検知しているため、ユーザが搬送の為にエアコンプレッサに近接している状態を直
接的に検知するものではない。そのため、ユーザが搬送の為にエアコンプレッサに近接し
ている場合に確実に機能停止することができないという課題があった。
【0007】
そこで、本発明は、ユーザが搬送の為に近接している場合に確実にエアコンプレッサと
しての機能を停止することの可能なエアコンプレッサを提供することを目的とする。
【課題を解決するための手段】
【0008】
本発明の一態様に係るエアコンプレッサは、圧縮空気を外部の空圧工具に供給するエア
コンプレッサであって、ユーザの近接を検出する検出部と、検出部が近接を検出した場合
に、エアコンプレッサとしての機能を停止する制御部と、を備える。これにより、ユーザ
の近接が検出された場合に、エアコンプレッサとしての機能が停止する。そのため、ユー
ザがエアコンプレッサに近接している場合に、確実にエアコンプレッサとしての機能を停
止させることが可能となり、ユーザに対する安全性が向上する。
【0009】
上記態様のエアコンプレッサでは、制御部は、圧縮空気を生成するための電動モータの
作動を停止することにより、エアコンプレッサとしての機能を停止してもよい。これによ
り、エアコンプレッサとしての機能の停止を簡易且つ確実に行うことが可能となる。
【0010】
上記態様のエアコンプレッサでは、制御部は、圧縮空気を生成するための電動モータへ
の電源の供給を停止することにより、エアコンプレッサとしての機能を停止してもよい。
これにより、エアコンプレッサとしての機能の停止を簡易且つ確実に行うことが可能とな
る。
(【0011】以降は省略されています)
この特許をJ-PlatPat(特許庁公式サイト)で参照する
関連特許
マックス株式会社
結束機
10日前
マックス株式会社
結束機
10日前
マックス株式会社
結束機
10日前
マックス株式会社
長尺媒体
1日前
マックス株式会社
プリンタ
1か月前
マックス株式会社
ステープル
10日前
マックス株式会社
エアコンプレッサ
11日前
個人
圧縮機
5か月前
個人
海流製造装置。
24日前
株式会社スギノマシン
圧縮機
2日前
ダイニチ工業株式会社
空調装置
4か月前
株式会社ツインバード
送風装置
22日前
株式会社ツインバード
送風装置
22日前
カヤバ株式会社
電動ポンプ
2か月前
株式会社不二越
蓄圧装置
2か月前
ビッグボーン株式会社
送風装置
1か月前
株式会社ノーリツ
ロータリ圧縮機
1か月前
個人
携帯型扇風機用の送風ノズル
4か月前
株式会社酉島製作所
ポンプ
3か月前
シャープ株式会社
送風装置
5か月前
株式会社ニクニ
液封式ポンプ装置
4か月前
シャープ株式会社
送風装置
5か月前
株式会社酉島製作所
ポンプ
4か月前
シャープ株式会社
送風装置
5か月前
株式会社酉島製作所
ポンプ
5か月前
株式会社ノーリツ
ロータリー圧縮機
3か月前
株式会社坂製作所
スクロール圧縮機
3か月前
株式会社不二越
油圧ユニット
4か月前
サンデン株式会社
スクロール圧縮機
8日前
サンデン株式会社
スクロール圧縮機
8日前
サンデン株式会社
スクロール圧縮機
8日前
小倉クラッチ株式会社
ルーツブロア
2か月前
樫山工業株式会社
真空ポンプ
3日前
株式会社不二越
ベーンポンプ
2か月前
エドワーズ株式会社
真空ポンプ
16日前
株式会社島津製作所
真空ポンプ
1か月前
続きを見る
他の特許を見る