TOP
|
特許
|
意匠
|
商標
特許ウォッチ
Twitter
他の特許を見る
公開番号
2025143017
公報種別
公開特許公報(A)
公開日
2025-10-01
出願番号
2024042689
出願日
2024-03-18
発明の名称
抄紙フェルトおよび抄紙フェルトの製造方法
出願人
イチカワ株式会社
代理人
個人
主分類
D21F
7/08 20060101AFI20250924BHJP(製紙;セルロースの製造)
要約
【課題】
湿紙の再湿現象を抑制し、プレス後の湿紙の含水量を十分に低減可能な抄紙フェルトおよび抄紙フェルトの製造方法を提供する。
【解決手段】
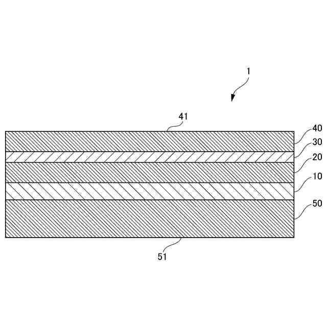
抄紙フェルトは、湿紙を担持する湿紙担持面を有する抄紙フェルトであって、基材と、前記基材の前記湿紙担持面側に配置され、短繊維を含んで構成されるバット層と、前記基材の前記湿紙担持面側に前記バット層と隣接して配置される、不織布とを含み、前記不織布は、目付100g/m
2
・ニードル針1本あたりの貫通抵抗が2.0N/(100g/m
2
・本)以下である。
【選択図】 図1
特許請求の範囲
【請求項1】
湿紙を担持する湿紙担持面を有する抄紙フェルトであって、
基材と、
前記基材の前記湿紙担持面側に配置され、短繊維を含んで構成されるバット層と、
前記基材の前記湿紙担持面側に前記バット層と隣接して配置される、不織布とを含み、
前記不織布は、目付100g/m
2
・ニードル針1本あたりの貫通抵抗が2.0N/(100g/m
2
・本)以下である、抄紙フェルト。
続きを表示(約 680 文字)
【請求項2】
前記不織布は、連続糸を含む、請求項1に記載の抄紙フェルト。
【請求項3】
前記不織布が、公定水分率が10.0%以上の親水性繊維を含む、請求項1に記載の抄紙フェルト。
【請求項4】
前記親水性繊維は、キュプラ、レイヨン、リヨセル、絹、麻およびウールからなる群から選択される1種以上を含む、請求項3に記載の抄紙フェルト。
【請求項5】
前記不織布を構成する繊維の繊維径が5.0μm以上30μm以下である、請求項1に記載の抄紙フェルト。
【請求項6】
前記不織布は、スパンボンド不織布である、請求項1に記載の抄紙フェルト。
【請求項7】
前記バット層は、前記不織布と接しており、前記不織布よりも前記基材側に配置される、請求項1に記載の抄紙フェルト。
【請求項8】
さらに、前記基材の前記湿紙担持面側に配置され、第2の短繊維を含んで構成される第2のバット層を含み、
前記バット層と前記第2のバット層とは、前記不織布を挟んで配置される、請求項1に記載の抄紙フェルト。
【請求項9】
前記不織布を構成する繊維の公定水分率と前記短繊維の公定水分率との差は2.0%以上12%以下である、請求項1に記載の抄紙フェルト。
【請求項10】
前記不織布を構成する繊維の公定水分率と前記第2の短繊維の公定水分率との差は、2.0%以上12%以下である、請求項8に記載の抄紙フェルト。
(【請求項11】以降は省略されています)
発明の詳細な説明
【技術分野】
【0001】
本発明は、抄紙フェルトおよび抄紙フェルトの製造方法に関する。
続きを表示(約 1,700 文字)
【背景技術】
【0002】
紙の原料から水分を除去する抄紙機は、一般的にワイヤーパートとプレスパートとドライヤーパートを備える。これらワイヤーパート、プレスパート、及びドライヤーパートは、湿紙の搬送方向に沿ってこの順番に配置されている。
【0003】
湿紙は、ワイヤーパート、プレスパート、及びドライヤーパートそれぞれに備えられた抄紙用具に次々と受け渡されながら搬送されると共に水分が除去され、最終的にはドライヤーパートで乾燥される。これら各々のパートでは、湿紙を脱水し(ワイヤーパート)、搾水し(プレスパート)、そして乾燥する(ドライヤーパート)といった各機能に対応した抄紙用具が使用されている。
【0004】
プレスパートでは、湿紙の搬送方向に沿って直列に並設された1つ以上のプレス装置を具備することが一般的である。各プレス装置には、無端状の抄紙フェルトが配置され、あるいは有端状の抄紙フェルトを抄紙機上で連結し無端状に形成した抄紙フェルトが配置される。そして各プレス装置は、対向する一対のロールからなるロールプレス機構、あるいはロールに対向する凹型形状のシューとの間に無端状のシュープレスベルトを介在させたシュープレス機構を有している。湿紙を載置した抄紙フェルトは、湿紙の搬送方向に沿って移動しつつ、ロールプレス機構あるいはシュープレス機構を通過し、加圧されることにより、抄紙フェルトにその水分を連続的に吸収させるか、あるいは抄紙フェルト内において水分を通過させて外部へ排出させることで、湿紙から水分を搾水している。
【0005】
しかしながら、プレス装置の加圧部の中央から出口にかけての部分では、湿紙と抄紙フェルトに掛けられた圧力が急激に解放されるため、この部分において抄紙フェルトおよび湿紙の体積が急激に膨張する。その結果、抄紙フェルトおよび湿紙に負圧が生じ、更には、湿紙が細繊維からなるために毛細管現象も加わって、抄紙フェルトに吸収されていた水分が再び湿紙へ移行するいわゆる再湿現象が生じる。
【0006】
ここで、プレスパート出口での湿紙の水分量(含水率)は、後段のドライヤーパートでの乾燥のためのエネルギー消費量に直接的に関係している。例えば、湿紙の含水率が少しでも大きくなると、乾燥に要するエネルギーは少なからず増大する(例えば、湿紙の含水率が1%増加した場合、エネルギー増加は約4%である)。したがって、プレスパートにおいて湿紙の含水率をできる限り低減させることが好ましい。
【0007】
特許文献1には、基層と、前記基層の湿紙側の表面に形成された第1バット層と、前記基層のロール側またはシュー側の表面に形成された第2バット層と、親水性繊維を含み且つ、前記湿紙と直接接触するように前記第1バット層の湿紙側の表面に形成された湿紙接触繊維層と、を備え、前記親水性繊維が、前記ロールおよび前記シューにより加圧されることによりフィブリル化されることを特徴とするシュープレス用の抄紙搬送フェルトが提案されている。
【0008】
また、特許文献2には、基体と、湿紙側層とプレス側層とを具えたバット層により構成される抄紙用プレスフェルトにおいて、前記バット層の湿紙側層内に親水性不織布が配置されていることを特徴とする、抄紙用プレスフェルトが提案されている。
【先行技術文献】
【特許文献】
【0009】
特開2007-100277号公報
特開2004-143627号公報
【発明の概要】
【発明が解決しようとする課題】
【0010】
上述したようにプレスパート出口での湿紙の水分量(含水率)は、後段のドライヤーパートでの乾燥のためのエネルギー消費量に直接的に関係している。したがって、より一層再湿現象を防止して、プレスパート出口での湿紙の水分量をより一層低減できることが好ましい。
(【0011】以降は省略されています)
この特許をJ-PlatPat(特許庁公式サイト)で参照する
関連特許
イチカワ株式会社
抄紙フェルトおよび抄紙フェルトの製造方法
9日前
イチカワ株式会社
抄紙フェルト用ベース部材および抄紙フェルト
4か月前
三菱製紙株式会社
包装用紙
7か月前
三菱製紙株式会社
包装用紙
7か月前
アイカ工業株式会社
紙透明化剤
3日前
三菱製紙株式会社
両艶クラフト紙
5か月前
三菱製紙株式会社
グラビア印刷用紙
7か月前
日本製紙株式会社
耐雪紙
1日前
オリベスト株式会社
ガラス繊維不織布
3日前
東洋アルミニウム株式会社
積層体
2か月前
株式会社大善
色管理システム
5か月前
CHEMIPAZ株式会社
紙用柔軟剤及び紙
3か月前
独立行政法人 国立印刷局
コーナーロール機構
1日前
ダイキン工業株式会社
組成物
3か月前
ダイキン工業株式会社
組成物
3か月前
ダイキン工業株式会社
組成物
3か月前
花王株式会社
古紙のパルプ化処理方法
2か月前
独立行政法人 国立印刷局
ふるい分け残量算出方法
1日前
特種東海製紙株式会社
軟包装材用原紙および軟包装材
2日前
丸住製紙株式会社
水解紙及び水解紙の製造方法
3か月前
ダイキン工業株式会社
パルプ組成物
4か月前
ダイキン工業株式会社
パルプ組成物
4か月前
ダイキン工業株式会社
パルプ組成物
4か月前
ダイキン工業株式会社
パルプ組成物
6か月前
リンテック株式会社
耐油紙
6か月前
リンテック株式会社
透明紙
6か月前
セイコーエプソン株式会社
解繊装置
7か月前
日本製紙株式会社
非塗工紙及び非塗工紙の製造方法
4か月前
ダイキン工業株式会社
パルプ用耐油剤
1か月前
株式会社マーケットヴィジョン
機能性紙製品
6か月前
セイコーエプソン株式会社
微細化装置
8日前
独立行政法人 国立印刷局
抄紙機における光沢部の安全機構
1か月前
花王株式会社
水解性シート
2か月前
リンテック株式会社
剥離紙原紙
4か月前
日本製紙クレシア株式会社
キッチンタオルロール
6か月前
大王製紙株式会社
段ボール用ライナ
21日前
続きを見る
他の特許を見る