TOP
|
特許
|
意匠
|
商標
特許ウォッチ
Twitter
他の特許を見る
公開番号
2025143805
公報種別
公開特許公報(A)
公開日
2025-10-02
出願番号
2024043244
出願日
2024-03-19
発明の名称
微細化装置
出願人
セイコーエプソン株式会社
代理人
個人
,
個人
,
個人
主分類
D21B
1/08 20060101AFI20250925BHJP(製紙;セルロースの製造)
要約
【課題】原料の微細化を効率よく行うことができる微細化装置を提供すること。
【解決手段】原料の投入口および排出口を有するケーシングと、ケーシング内に収納され、ブレードを有し、回転軸回りに回転して原料を微細化するローターと、ケーシング内の、ローターよりも投入口側の空間に空気を噴出する少なくとも1つのノズルを有する空気噴出部と、を備えることを特徴とする微細化装置。また、ノズルは、ケーシングの壁部に、ローターの周方向に沿って互いに離間して複数配置されている。
【選択図】図2
特許請求の範囲
【請求項1】
原料の投入口および排出口を有するケーシングと、
前記ケーシング内に収納され、ブレードを有し、回転軸回りに回転して前記原料を微細化するローターと、
前記ケーシング内の、前記ローターよりも前記投入口側の空間に空気を噴出する少なくとも1つのノズルを有する空気噴出部と、を備えることを特徴とする微細化装置。
続きを表示(約 760 文字)
【請求項2】
前記ノズルは、前記ケーシングの壁部に、前記ローターの周方向に沿って互いに離間して複数配置されている請求項1に記載の微細化装置。
【請求項3】
前記ノズルは、前記ローターの回転方向に対して逆方向に空気を噴出する請求項1に記載の微細化装置。
【請求項4】
前記空気噴出部は、前記ノズルの単位時間当たりの空気の噴出量を調整する噴出量調整部を有する請求項1ないし3のいずれか1項に記載の微細化装置。
【請求項5】
前記噴出量調整部は、前記ノズルが間欠的に空気を噴出するよう前記ノズルへの流路の開閉を制御する開閉弁を有する請求項4に記載の微細化装置。
【請求項6】
前記空気噴出部は、前記ノズルの空気の噴出方向を調整する噴出方向調整部を有する請求項1ないし3のいずれか1項に記載の微細化装置。
【請求項7】
前記空気噴出部は、前記ノズルの前記ローターの周方向における位置を調整するノズル位置調整部を有する請求項1ないし3のいずれか1項に記載の微細化装置。
【請求項8】
前記ケーシングの内周面に設置されたライナーを有し、前記ローターの回転により前記ライナーと前記ブレードとの間に前記原料が移行して微細化され、
前記ノズルは、前記ケーシングの壁部に、前記ローターの周方向に沿って互いに離間して複数配置され、前記ローターの回転方向に対して逆方向に空気を噴出するものであり、
前記空気噴出部は、前記ノズルの単位時間当たりの空気の噴出量を調整する噴出量調整部を有し、
前記噴出量調整部は、前記ノズルが間欠的に空気を噴出するよう前記ノズルへの流路の開閉を制御する開閉弁を有する請求項1に記載の微細化装置。
発明の詳細な説明
【技術分野】
【0001】
本発明は、微細化装置に関する。
続きを表示(約 1,700 文字)
【背景技術】
【0002】
古紙を粗砕する粗砕部、粗砕部で得られた粗砕片を解繊する解繊部、解繊部で得られた解繊物を平面上に堆積させる堆積部、堆積したウェブを加熱、加圧する加熱加圧部、加熱加圧部で得られたシートを所定の形状に裁断する裁断部、および得られたシートを回収するシート回収部を備えたシート製造装置が知られている。
【0003】
上記解繊部としては、例えば、特許文献1に記載されているようなターボ式微粉砕機を用いることができる。特許文献1のターボ式微粉砕機は、原料入口部および粉砕製品出口部を有するケーシングと、ケーシングの内面に設けられたライナーと、ケーシング内で回転しブレード(刃)を備えたローターとを有する。回転しているローターの刃先とライナーとの間を原料が通過する際、原料が粉砕され、粉砕物が粉砕製品出口部から排出される。
【先行技術文献】
【特許文献】
【0004】
特開平11-276916号公報
【発明の概要】
【発明が解決しようとする課題】
【0005】
しかしながら、特許文献1に記載されているターボ式微粉砕機では、ローターが有するブレードの刃先とライナーとの間の隙間は、比較的狭く、原料の大きさや投入量によっては、原料がローターとライナーとの間に順調に入っていかず、ローターの手前側で原料が滞留してしまうことがある。この滞留が生じてしまうと、原料の微粉砕を良好に継続して行うことができない。
【課題を解決するための手段】
【0006】
本発明の微細化装置は、原料の投入口および排出口を有するケーシングと、
前記ケーシング内に収納され、ブレードを有し、回転軸回りに回転して前記原料を微細化するローターと、
前記ケーシング内の、前記ローターよりも前記投入口側の空間に空気を噴出する少なくとも1つのノズルを有する空気噴出部と、を備える。
【図面の簡単な説明】
【0007】
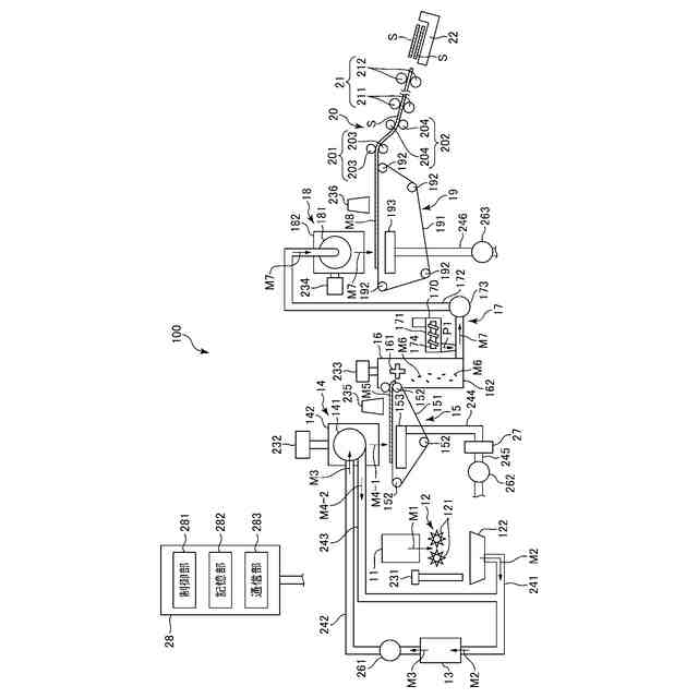
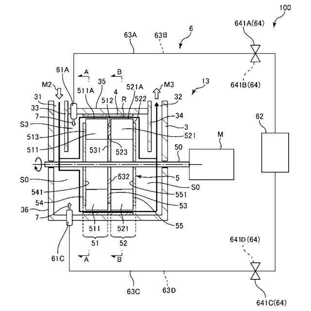
図1は、本発明の第1実施形態に係る微細化装置を備えるシート製造装置の概略を示す構成図である。
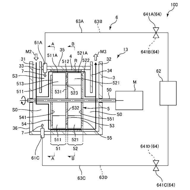
図2は、図1に示す微細化装置の縦断面図である。
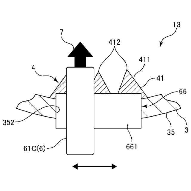
図3は、図2中のA-A線断面図である。
図4は、図2中のB-B線断面図である。
図5は、図2に示す空気噴出部が空気を噴出するタイミングのパターンの一例を示すタイムチャートである。
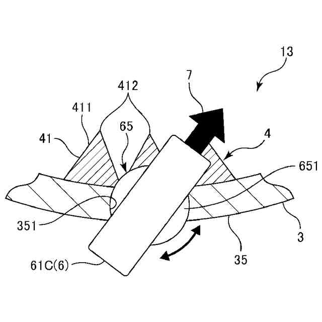
図6は、本発明の微細化装置の第2実施形態が備える噴出方向調整部を示す断面図である。
図7は、本発明の微細化装置の第3実施形態が備えるノズル位置調整部を示す断面図である。
【発明を実施するための形態】
【0008】
以下、本発明の微細化装置を添付図面に示す好適な実施形態に基づいて詳細に説明する。
【0009】
<第1実施形態>
図1は、本発明の第1実施形態に係る微細化装置を備えるシート製造装置の概略を示す構成図である。図2は、図1に示す微細化装置の縦断面図である。図3は、図2中のA-A線断面図である。図4は、図2中のB-B線断面図である。図5は、図2に示す空気噴出部が空気を噴出するタイミングのパターンの一例を示すタイムチャートである。
【0010】
なお、以下では、図1の上側を「上」または「上方」、下側を「下」または「下方」と言うことがある。また、図2の左側を「左」または「左側」、右側を「右」または「右側」と言うことがある。また、図1は、概略構成図であり、シート製造装置100の各部の位置関係、向き、大きさ等は、図示のものに限定されない。また、図1において、粗砕片M2、解繊物M3、第1選別物M4-1、第2選別物M4-2、第1ウェブM5、細分体M6、混合物M7、第2ウェブM8、再生紙Sが搬送される方向、すなわち、矢印で示す方向を搬送方向とも言う。また、図1中の矢印の先端側を搬送方向における「下流側」、図1中の矢印の基端側を搬送方向における「上流側」とも言う。
(【0011】以降は省略されています)
この特許をJ-PlatPat(特許庁公式サイト)で参照する
関連特許
セイコーエプソン株式会社
微細化装置
1日前
独立行政法人 国立印刷局
抄紙機における光沢部の安全機構
1か月前
大王製紙株式会社
段ボール用ライナ
14日前
日本フエルト株式会社
製紙用2層織物
1か月前
独立行政法人 国立印刷局
靭皮植物の幹部からパルプを製造する方法
1か月前
イチカワ株式会社
抄紙フェルトおよび抄紙フェルトの製造方法
2日前
王子ホールディングス株式会社
クラフト紙
1か月前
王子ホールディングス株式会社
原紙の製造方法
1か月前
コアレックス信栄株式会社
トイレットペーパー製造方法
23日前
大和ハウス工業株式会社
紙および紙漉き方法
1か月前
レンゴー株式会社
古紙パルプ中の異物検知方法
22日前
三井化学株式会社
合成紙、フィルタ原紙及びフィルタ
1か月前
MP五協フード&ケミカル株式会社
塗工組成物及び塗工紙
今日
旭化成株式会社
セルロース微細繊維ウェットケークの梱包体
4日前
日本製紙クレシア株式会社
キッチンタオルロール及びその製造方法
1か月前
寿精版印刷株式会社
抄造用パルプ材、抄造用材料及び和紙の製造方法
7日前
セイコーエプソン株式会社
再生シート生成システム、再生シート生成方法及びプログラム
4日前
セイコーエプソン株式会社
再生シート生成システム、再生シート生成方法及びプログラム
4日前
ダイキン工業株式会社
パルプ組成物
1か月前
日本エクスラン工業株式会社
粒子捕捉性及びバインダー性に優れたセルロースパルプおよびその製造方法
今日
三井化学株式会社
合成紙、反射シート、面光源装置、および、液晶ディスプレイ装置
1か月前
王子ホールディングス株式会社
原紙の製造方法
1か月前
日本製紙クレシア株式会社
キッチンロールタオル製品
14日前
王子ホールディングス株式会社
ガラス板用合紙
29日前
日本製紙パピリア株式会社
耐油紙およびヒートシール耐油紙
2日前
日本製紙株式会社
包装用基材、包装用材料、包装用材料の製造方法
28日前
王子ホールディングス株式会社
ガラス合紙用パルプおよびガラス合紙
22日前
グリーンテック・グローバル・プライベート・リミテッド
ポリオール脂肪酸エステル担体組成物
2日前
パナソニックオートモーティブシステムズ株式会社
評価支援システム、評価支援方法、およびプログラム
4日前
キオクシア株式会社
半導体記憶装置
今日
国立大学法人京都大学
選別精子集団の製造方法及び男性不妊症の診断補助方法
7日前
日本たばこ産業株式会社
エアロゾル生成装置の電源ユニット
8日前
インサイト・コーポレイション
抗CD19抗体及びガンマデルタT細胞を含む抗腫瘍併用療法
16日前
出光興産株式会社
ポリカーボネート樹脂組成物および成形体
2日前
株式会社ミヤコシ
印字装置
1か月前
アディマブ・リミテッド・ライアビリティ・カンパニー
高アフィニティ抗CD3抗体、ならびにその作製方法及び使用方法
24日前
続きを見る
他の特許を見る