TOP
|
特許
|
意匠
|
商標
特許ウォッチ
Twitter
他の特許を見る
10個以上の画像は省略されています。
公開番号
2025143167
公報種別
公開特許公報(A)
公開日
2025-10-01
出願番号
2024129137
出願日
2024-08-05
発明の名称
モータ制御装置および飛行制御システム
出願人
株式会社デンソー
代理人
個人
,
個人
主分類
H02P
29/02 20160101AFI20250924BHJP(電力の発電,変換,配電)
要約
【課題】プロペラの過回転状態を迅速に解消できるモータ制御装置を提供する。
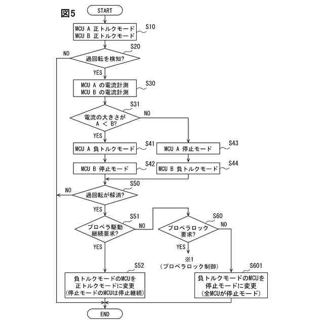
【解決手段】モータ制御装置としてのインバータ制御部は、正トルク制御部(ステップS10)と、負トルク制御部(ステップS41、S44)と、過回転検出部(ステップS20)と、を備える。モータの回転トルクのうち、飛行させる正方向の回転を加速または維持するためのトルクを正トルクとし、正方向の回転を減速させるためのトルクを負トルクとする。正トルク制御部は、正トルクを発揮させる正トルクモードでモータを制御する。負トルク制御部は、負トルクを発揮させる負トルクモードでモータを制御する。過回転検出部は、プロペラまたはモータの過回転を検出する。過回転検出部によって過回転が検出されている時には、負トルク制御部によって負トルクモードでの制御が実行される。
【選択図】図3
特許請求の範囲
【請求項1】
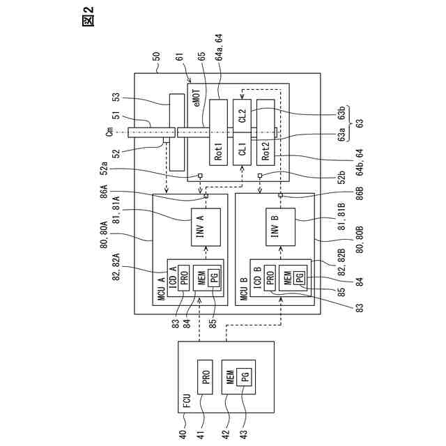
電動のモータ(61)によって回転するプロペラ(20)で飛行する、機体に乗員室または荷室を有した電動航空機(10)に適用されるモータ制御装置であって、
前記モータの回転トルクのうち、飛行させる正方向の回転を加速または維持するためのトルクを正トルクとし、前記正方向の回転を減速させるためのトルクを負トルクとし、
前記正トルクを発揮させる正トルクモードで前記モータを制御する正トルク制御部(S10)と、
前記負トルクを発揮させる負トルクモードで前記モータを制御する負トルク制御部(S41、S44)と、
前記プロペラまたは前記モータの過回転を検出する過回転検出部(S20)と、を備え、
前記過回転検出部によって前記過回転が検出されている時には、前記負トルク制御部によって前記負トルクモードでの制御が実行される、モータ制御装置。
続きを表示(約 1,100 文字)
【請求項2】
前記正トルク制御部および前記負トルク制御部は、前記モータに設けられた複数のコイル(63a、63b)の各々に対して、通電状態を独立して制御可能であり、
前記過回転が検出されている時には、前記正トルクモードでの制御を禁止しつつ、複数の前記コイルの少なくとも1つを前記負トルクモードで制御する、請求項1に記載のモータ制御装置。
【請求項3】
前記過回転が検出されている時には、1つの前記コイルは前記負トルクモードで制御され、残りの他の前記コイルの通電は停止される、請求項2に記載のモータ制御装置。
【請求項4】
前記過回転が検出されている時には、最大電流を流していた前記コイルの通電が停止される、請求項3に記載のモータ制御装置。
【請求項5】
前記過回転が検出されている時には、全ての前記コイルが前記負トルクモードで制御される、請求項2に記載のモータ制御装置。
【請求項6】
前記過回転が検出された後に前記プロペラを継続して駆動させる継続要求があった場合には、前記過回転が解消された後に、複数の前記コイルの少なくとも1つが前記正トルクモードで制御される、請求項2~5のいずれか1つに記載のモータ制御装置。
【請求項7】
前記過回転が検出された時に最大電流を流していた前記コイルについては、前記継続要求があった場合でも、前記過回転が解消された後に前記正トルクモードで制御することが禁止されている、請求項6に記載のモータ制御装置。
【請求項8】
前記過回転が検出された後に前記プロペラを停止させる停止要求がある場合には、前記過回転が解消された後に、全ての前記コイルの通電を停止させる、請求項2~5のいずれか1つに記載のモータ制御装置。
【請求項9】
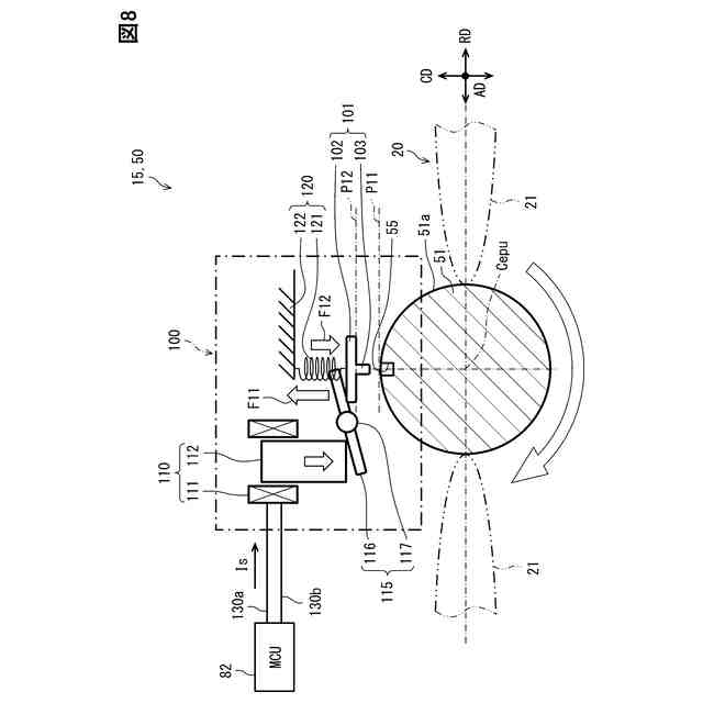
前記プロペラを回転不能な状態にロックさせるロック制御部(S63、S71、S80)を有し、
前記過回転が検出された後にロック要求がある場合には、前記過回転が解消された後に、前記ロック制御部による制御が実行される、請求項1~5のいずれか1つに記載のモータ制御装置。
【請求項10】
前記ロック制御部は、
前記負トルクモードで所定回転速度まで減速させた後、前記プロペラの実回転位置を目標回転位置近傍に停止させるように前記モータへの電力供給をフィードバック制御するフィードバック制御部(S63)と、
前記目標回転位置近傍に停止させた後、前記プロペラが回転しないように制動トルクを発揮させるロックモードで前記モータへの電力供給を制御する電気ロック制御部(S71)と、を有する請求項9に記載のモータ制御装置。
(【請求項11】以降は省略されています)
発明の詳細な説明
【技術分野】
【0001】
この明細書における開示は、電動航空機に適用されるモータ制御装置、および飛行制御システムに関する。
続きを表示(約 1,700 文字)
【背景技術】
【0002】
特許文献1には、電動モータでプロペラを回転させることで飛行する電動航空機が記載されている。この種の航空機では、モータ制御装置によってモータへの電力供給が制御される。
【先行技術文献】
【特許文献】
【0003】
特開2021-79869号公報
【発明の概要】
【発明が解決しようとする課題】
【0004】
ここで、プロペラが過回転の状態に陥ると、モータが発電する場合がある。その結果、制御装置を構成する電気部品にかかっている電圧が、耐圧を超えて大きくなり、電気部品の故障を招くことが懸念される。そのため、プロペラの過回転状態は迅速に解消させることが望ましい。また、航空機の姿勢制御を一刻も早く安定させるためにも、プロペラの過回転状態は迅速に解消させることが望ましい。
【0005】
しかしながら、モータ制御装置がモータへの電力供給を停止させるだけでは、プロペラは慣性で回り続けるため過回転状態を迅速に解消させることはできない。特に、プロペラを回転させる向きに強風が吹いている場合には、過回転状態を解消させるまでに要する時間は極めて長くなる。
【0006】
開示される1つの目的は、プロペラの過回転状態を迅速に解消できるモータ制御装置、および飛行制御システムを提供することである。
【課題を解決するための手段】
【0007】
上記目的を達成するため、本開示の一態様によるモータ制御装置は、
電動のモータ(61)によって回転するプロペラ(20)で飛行する、機体に乗員室または荷室を有した電動航空機(10)に適用されるモータ制御装置であって、
モータの回転トルクのうち、飛行させる正方向の回転を加速または維持するためのトルクを正トルクとし、正方向の回転を減速させるためのトルクを負トルクとし、
正トルクを発揮させる正トルクモードでモータを制御する正トルク制御部(S10)と、
負トルクを発揮させる負トルクモードでモータを制御する負トルク制御部(S41、S44)と、
プロペラまたはモータの過回転を検出する過回転検出部(S20)と、を備え、
過回転検出部によって過回転が検出されている時には、負トルク制御部によって負トルクモードでの制御が実行される。
【0008】
ここに開示されたモータ制御装置によると、過回転が検出されている時には、正方向の回転を減速させるための負トルクがモータに生じる。そのため、モータを迅速に減速させることができ、ひいてはプロペラの過回転状態を迅速に解消できる。
【0009】
上記目的を達成するため、本開示の一態様による飛行制御システムは、
電動のモータ(61)によって回転するプロペラ(20)で飛行する、機体に乗員室または荷室を有した電動航空機(10)に適用され、モータの駆動を制御するモータ制御装置(82)と、
モータ制御装置に制御指令を与える飛行制御装置(40)と、を備える飛行制御システムにおいて、
モータの回転トルクのうち、飛行させる正方向の回転を加速または維持するためのトルクを正トルクとし、正方向の回転を減速させるためのトルクを負トルクとし、
モータ制御装置は、
正トルクを発揮させる正トルクモードでモータを制御する正トルク制御部(S10)と、
負トルクを発揮させる負トルクモードでモータを制御する負トルク制御部(S41、S44)と、
プロペラまたはモータの過回転を検出する過回転検出部(S20)と、を備え、
過回転検出部によって過回転が検出されている時には、少なくとも負トルクモードでの減速制御を含む過回転保護制御が実行される。
【0010】
ここに開示された飛行制御システムによると、過回転が検出されている時には、正方向の回転を減速させるための負トルクがモータに生じる。そのため、モータを迅速に減速させることができ、ひいてはプロペラの過回転状態を迅速に解消できる。
(【0011】以降は省略されています)
この特許をJ-PlatPat(特許庁公式サイト)で参照する
関連特許
株式会社デンソー
接合体
18日前
株式会社デンソー
車載器
4日前
株式会社デンソー
ステータ
19日前
株式会社デンソー
太陽電池
20日前
株式会社デンソー
電子装置
8日前
株式会社デンソーエレクトロニクス
発音装置
8日前
株式会社デンソーエレクトロニクス
発音装置
26日前
株式会社デンソー
光学部材
29日前
株式会社デンソー
ステータ
19日前
株式会社デンソー
ねじ部材
4日前
株式会社デンソー
平滑回路
28日前
株式会社デンソー
ステータ
4日前
株式会社デンソー
ステータ
4日前
株式会社デンソー
回転体装置
1か月前
株式会社デンソー
レーダ装置
8日前
株式会社デンソー
半導体装置
4日前
株式会社デンソー
ステータコア
11日前
株式会社デンソー
電力変換装置
12日前
株式会社デンソー
通信システム
8日前
株式会社デンソー
フィルタ回路
12日前
株式会社デンソー
装置及び方法
27日前
株式会社デンソー
電子制御装置
8日前
株式会社デンソー
電波吸収装置
8日前
株式会社デンソー
温度検出装置
1か月前
株式会社デンソーウェーブ
光学読取装置
20日前
株式会社デンソー
光位相変調器
18日前
株式会社デンソー
小型電動車両
20日前
株式会社デンソー
電力変換装置
4日前
株式会社デンソー
制御システム
11日前
株式会社デンソー
電気化学セル
8日前
株式会社デンソー
電子制御装置
19日前
株式会社デンソー
通信システム
27日前
株式会社デンソーテン
車載映像装置
4日前
株式会社デンソーエアクール
換気空調装置
5日前
株式会社デンソー
電圧変換回路
19日前
株式会社デンソー
電子制御装置
4日前
続きを見る
他の特許を見る