TOP
|
特許
|
意匠
|
商標
特許ウォッチ
Twitter
他の特許を見る
公開番号
2025143219
公報種別
公開特許公報(A)
公開日
2025-10-01
出願番号
2025036631
出願日
2025-03-07
発明の名称
月食及び日食表示機構
出願人
ザ・スウォッチ・グループ・リサーチ・アンド・ディベロップメント・リミテッド
代理人
個人
,
個人
,
個人
主分類
G04B
19/26 20060101AFI20250924BHJP(時計)
要約
【課題】使用者にとってより理解しやすく、より明確な視覚化を有する食表示機構を提供する。
【解決手段】機械的又は電気機械的な時計ムーブメントのために月食及び日食を表示するための食表示機構1は、第1の天体、例えば太陽に対応する第1の移動インジケータ2と、第2の天体、例えば月に対応する第2の移動インジケータ3とを備え、食表示機構1は、第1のインジケータ2及び第2のインジケータ3が視認可能である第1のゾーン6と、1つ以上のインジケータ2、3、4、5をカバー8の背後に隠すことが可能な第2のゾーン7とを備え、食表示機構1は、第2のインジケータ3とは異なる構成の第2の天体に対応する第3の移動インジケータ4を備え、第3の移動インジケータ4は、第2の移動インジケータ3とは異なる少なくとも1つの可視的特徴を有し、第3のインジケータ4は、第2のインジケータ3の代わりに第1のゾーン6において視認可能である。
【選択図】図1
特許請求の範囲
【請求項1】
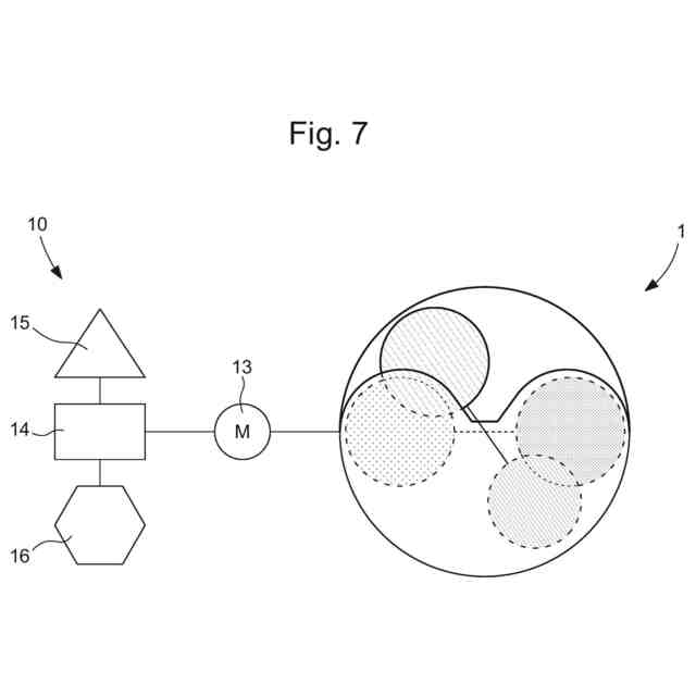
機械的又は電気機械的な時計ムーブメントのために月食及び日食を表示するための機構であって、前記時計ムーブメントは、前記機構を動作させることができるように構成され、
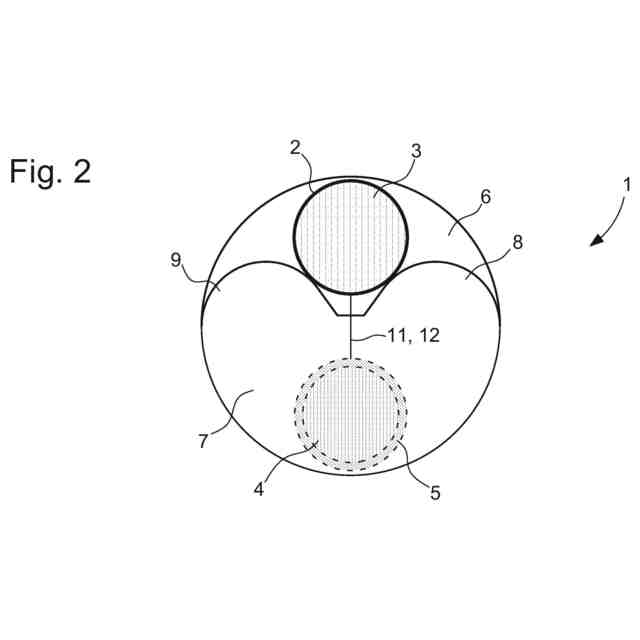
前記食表示機構(1)は、第1の天体、例えば太陽に対応する第1の移動インジケータ(2)と、第2の天体、例えば月に対応する第2の移動インジケータ(3)とを備え、
前記食表示機構(1)は、前記第1のインジケータ(2)及び前記第2のインジケータ(3)が視認可能である第1のゾーン(6)と、1つ以上のインジケータ(2、3、4、5)をカバー(8)の背後に隠すことが可能な第2のゾーン(7)とを備え、
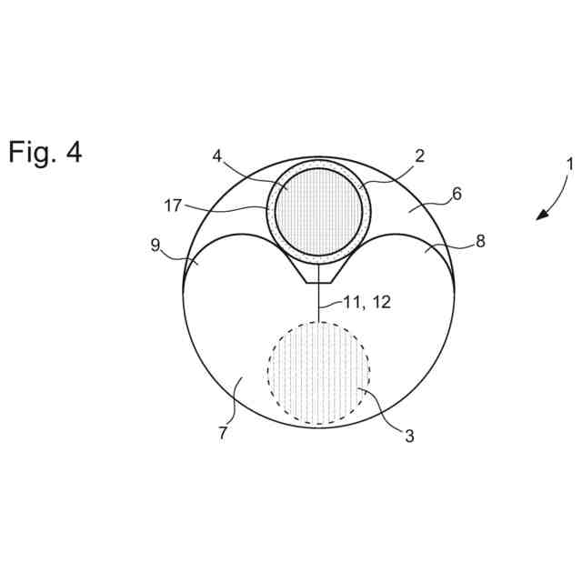
前記食表示機構(1)は、前記第2のインジケータ(3)とは異なる構成の前記第2の天体に対応する第3の移動インジケータ(4)を備え、前記第3の移動インジケータ(4)は、前記第2の移動インジケータ(3)とは異なる少なくとも1つの可視的特徴を有し、
前記第1のインジケータ(2)、前記第2のインジケータ(3)及び前記第3のインジケータ(4)は、好ましくは円盤状であり、前記第3のインジケータ(4)は、前記第2のインジケータ(3)の代わりに前記第1のゾーン(6)において視認可能である、機構。
続きを表示(約 950 文字)
【請求項2】
前記第2の移動インジケータ(3)が前記第1の移動インジケータ(2)を完全に覆う場合に、前記第2の移動インジケータ(3)は、前記第1の天体の部分食、又は前記第1の天体の皆既食さえも表すように、は前記第1の移動インジケータ(2)上に少なくとも部分的に重ね合わせられ得る、請求項1に記載の表示機構。
【請求項3】
前記第3の移動インジケータ(4)の異なる可視的特徴は直径であり、前記直径は、好ましくは、前記第2の移動インジケータ(3)の直径よりも小さい、請求項1に記載の表示機構。
【請求項4】
前記第3のインジケータ(4)は、金環日食を表すように、前記第1の移動インジケータ(2)上に重ね合わされ得る、請求項3に記載の表示機構。
【請求項5】
前記表示機構は、前記第2のインジケータ(3)及び前記第3のインジケータ(4)とは異なる構成の前記第2の天体に対応する第4の移動インジケータ(5)を備え、前記第4のインジケータ(5)は、前記第2のインジケータ(3)及び前記第3のインジケータ(4)とは異なる少なくとも1つの可視的特徴を有する、請求項1に記載の表示機構。
【請求項6】
前記第4の移動インジケータ(5)の異なる特徴は、その色であり、前記色は、好ましくは、月食を表すために好ましくは赤色である、請求項5に記載の表示機構。
【請求項7】
前記第4のインジケータ(5)は、前記第2のインジケータ(3)及び/又は前記第3のインジケータ(4)の代わりに、前記第1のゾーン(6)において視認可能である、請求項1に記載の表示機構。
【請求項8】
前記移動インジケータ(2、3、4、5)は、同じ回転軸を中心に回転可能である、請求項1に記載の表示機構。
【請求項9】
前記第2のインジケータ(3)は、前記カバー(7)に対する位置に応じて、月の位相を表す機能を有する、請求項1に記載の表示機構。
【請求項10】
前記第1のゾーン(6)及び前記第2のゾーン(7)の形状は、従来の月相表示機構に対応する、請求項1に記載の表示機構。
(【請求項11】以降は省略されています)
発明の詳細な説明
【技術分野】
【0001】
本発明は、時計用の食、特に月食及び/又は日食を表示する機構に関する。
続きを表示(約 1,300 文字)
【背景技術】
【0002】
月相表示機構は、純粋に機械的な機構及び電気機械的な機構の両方において、長い間知られている。
【0003】
より洗練された表示機構は、月食及び/又は日食がいつ発生するかを決定することができるように、他の天体さえも、特に太陽をも表示することができる。
【0004】
例えば、欧州特許EP0195742には、これらの天体が配置された針付き表示が示されている。この機構は、特に食の発生を判断するために使用できる。しかしながら、異なるタイプの食を区別することはできない。地球上のどこにいるかによって、月又は太陽の皆既食又は部分食が発生する。また、金環日食は、月の見かけの直径が太陽の直径より小さい場合にも発生する。
【0005】
特許文献CH715722及びWO2020/152015には、部分食又は皆既食を区別し、さらにはリアルタイムで追跡することを可能にする別のタイプの表示機構が示されている。しかしながら、この表示機構は、一見して読みやすくなく、直感的でもない。
【発明の概要】
【0006】
本発明は、使用者にとってより理解しやすく、より明確な視覚化を有する食表示機構を提供することを目的とする。
【0007】
この目的のために、本発明は、機械的又は電気機械的な時計ムーブメントのために月食及び日食を表示するための機構に関し、時計ムーブメントは、機構を動作させることができるように構成され、前記食表示機構は、第1の天体、例えば太陽に対応する第1の移動インジケータと、第2の天体、例えば月に対応する第2の移動インジケータとを備え、前記食表示機構は、第1のインジケータ及び第2のインジケータが視認可能である第1のゾーンと、1つ以上のインジケータをカバーの背後に隠すことが可能な第2のゾーンとを備え、前記食表示機構は、前記第2の天体に対応し、前記第2のインジケータとは異なる構成の第3の移動インジケータを備え、前記第3の移動インジケータは、前記第2の移動インジケータとは異なる少なくとも1つの可視的特徴を有し、前記第1のインジケータ、前記第2のインジケータ及び前記第3のインジケータは、好ましくは円盤状である。
【0008】
本発明において、前記第3のインジケータは、前記第2の表示インジケータの代わりに前記第1のゾーンにおいて視認可能である。
【0009】
本発明の特定の実施形態において、前記第2の移動インジケータが前記第1の移動インジケータを完全に覆う場合に、前記第2の移動インジケータは、前記第1の天体の部分食、又は前記第1の天体の皆既食さえも表すように、前記第1の移動インジケータに少なくとも部分的に重ね合わせられ得る。
【0010】
本発明の特定の実施形態において、前記第3の移動インジケータの異なる可視的特徴は、好ましくは、前記第2の移動インジケータの直径よりも小さい直径である。
(【0011】以降は省略されています)
この特許をJ-PlatPat(特許庁公式サイト)で参照する
関連特許
個人
砂時計
14日前
個人
目覚し時計
2か月前
個人
休憩報知タイマー
3か月前
個人
時刻同期システム
16日前
セイコーエプソン株式会社
時計
3か月前
個人
自照式の針により認視性を高めたアナログ式時計
2か月前
セイコーエプソン株式会社
電子時計
1か月前
セイコーエプソン株式会社
機械式時計
3か月前
株式会社oneA
目覚まし装置
3か月前
株式会社村田製作所
光学的パターン表示物品
今日
シチズン時計株式会社
電子時計
1か月前
セイコーエプソン株式会社
電子制御式機械時計
2日前
セイコーエプソン株式会社
電子制御式機械時計
3か月前
シチズン時計株式会社
機械式時計
2か月前
シチズン時計株式会社
機械式時計
2か月前
シチズン時計株式会社
機械式時計
1か月前
セイコーエプソン株式会社
ムーブメント及び時計
3か月前
個人
アナログ時計、時間表示方法、および、時間表示プログラム
3か月前
セイコーエプソン株式会社
電子時計
3か月前
カシオ計算機株式会社
装飾板及び時計
1日前
セイコータイムクリエーション株式会社
からくり時計
今日
セイコーエプソン株式会社
機械式時計
15日前
カシオ計算機株式会社
制御装置、制御方法、及びプログラム
1日前
株式会社5コーポレーション
勉強時間測定装置及び勉強時間測定方法
3か月前
カシオ計算機株式会社
機器ケース及び時計
2か月前
カシオ計算機株式会社
機器ケース及び時計
24日前
セイコーエプソン株式会社
インデックス、文字板、及び時計
28日前
カシオ計算機株式会社
電子時計及び電子時計本体
15日前
カシオ計算機株式会社
外装部品ユニット及び時計
今日
住友ベークライト株式会社
計時装置、計時方法および検査装置
3か月前
モントレー ブレゲ・エス アー
プレート上のディスプレイモジュールの配置
3か月前
セイコーウオッチ株式会社
時計、音声再生方法およびプログラム
1か月前
モントレー ブレゲ・エス アー
表示機構のための調整システム
3か月前
カシオ計算機株式会社
電子時計、外装部材及びバンド
15日前
セイコーエプソン株式会社
機械式時計及び機械式時計の組み立て方法
2か月前
カシオ計算機株式会社
カバー構造体、時計、およびカバー構造体の製造方法
3か月前
続きを見る
他の特許を見る