TOP
|
特許
|
意匠
|
商標
特許ウォッチ
Twitter
他の特許を見る
10個以上の画像は省略されています。
公開番号
2025143899
公報種別
公開特許公報(A)
公開日
2025-10-02
出願番号
2024043400
出願日
2024-03-19
発明の名称
データ連携システム、データ連携方法、およびデータ連携プログラム
出願人
三菱電機株式会社
代理人
個人
主分類
G06Q
50/00 20240101AFI20250925BHJP(計算;計数)
要約
【課題】連携されたデータに対する操作を許可するか否かを顧客に応じて柔軟に切り換え可能とするデータ連携システムを得ること。
【解決手段】データ連携システムは、データを出力する複数のシステムの各々からのデータを取得するデータ取得部10と、複数のシステムの各々からのデータを互いに連携させた連携データに対する、顧客による操作の権限を示す連携データ属性情報に基づいて、操作の要求元である顧客による連携データに対する操作を許可するか否かを決定する連携データ管理部12と、を備える。
【選択図】図2
特許請求の範囲
【請求項1】
データを出力する複数のシステムの各々からの前記データを取得するデータ取得部と、
複数の前記システムの各々からの前記データを互いに連携させた連携データに対する、顧客による操作の権限を示す連携データ属性情報に基づいて、操作の要求元である前記顧客による前記連携データに対する操作を許可するか否かを決定する連携データ管理部と、を備える
ことを特徴とするデータ連携システム。
続きを表示(約 1,400 文字)
【請求項2】
前記連携データ属性情報を作成する連携データ属性情報作成部を備える
ことを特徴とする請求項1に記載のデータ連携システム。
【請求項3】
前記連携データ属性情報作成部は、複数の前記システムの各々からの前記データに対する、前記顧客による操作の権限を示すデータ属性情報を提示し、かつ、前記連携データ属性情報の編集を受け付ける
ことを特徴とする請求項2に記載のデータ連携システム。
【請求項4】
前記連携データ属性情報には、前記顧客による前記連携データに対する操作が許可される日時の条件である時期的条件が含まれており、
前記連携データ管理部は、前記要求元による前記連携データに対する操作の要求を受け付けた日時が前記時期的条件を満たす場合に、前記要求元による操作を許可する
ことを特徴とする請求項1または2に記載のデータ連携システム。
【請求項5】
前記連携データ属性情報は、複数の前記システムの各々からの前記データに対する操作の権限の有無を表す変数を含む式により表され、
前記連携データ管理部は、前記式を計算することによって、前記要求元による操作を許可するか否かを決定する
ことを特徴とする請求項1または2に記載のデータ連携システム。
【請求項6】
データを出力する複数のシステムの各々からの前記データを取得するステップと、
複数の前記システムの各々からの前記データを互いに連携させた連携データに対する、顧客による操作の権限を示す連携データ属性情報に基づいて、操作の要求元である前記顧客による前記連携データに対する操作を許可するか否かを決定するステップと、を含む
ことを特徴とするデータ連携方法。
【請求項7】
前記連携データ属性情報を作成するステップをさらに含む
ことを特徴とする請求項6に記載のデータ連携方法。
【請求項8】
前記連携データ属性情報を作成する前記ステップでは、複数の前記システムの各々からの前記データに対する、前記顧客による操作の権限を示すデータ属性情報を提示し、かつ、前記連携データ属性情報の編集を受け付ける
ことを特徴とする請求項7に記載のデータ連携方法。
【請求項9】
前記連携データ属性情報には、前記顧客による前記連携データに対する操作が許可される日時の条件である時期的条件が含まれており、
前記要求元による前記連携データに対する操作を許可するか否かを決定する前記ステップでは、前記要求元による前記連携データに対する操作の要求を受け付けた日時が前記時期的条件を満たす場合に、前記要求元による操作を許可する
ことを特徴とする請求項6または7に記載のデータ連携方法。
【請求項10】
前記連携データ属性情報は、複数の前記システムの各々からの前記データに対する操作の権限の有無を表す変数を含む式により表され、
前記要求元による前記連携データに対する操作を許可するか否かを決定する前記ステップでは、前記式を計算することによって、前記要求元による操作を許可するか否かを決定する
ことを特徴とする請求項6または7に記載のデータ連携方法。
(【請求項11】以降は省略されています)
発明の詳細な説明
【技術分野】
【0001】
本開示は、データを連携させるデータ連携システム、データ連携方法、およびデータ連携プログラムに関する。
続きを表示(約 1,600 文字)
【背景技術】
【0002】
共通のシステムを複数の顧客が利用可能とする、いわゆるマルチテナント方式のサービスが知られている。マルチテナント方式によると、各顧客は、当該システムと同様の機能を実現するためのシステムを構築する手間を省くことができる。また、各顧客は、当該システムの運用および管理の手間を省くことができる。
【0003】
また、データを出力する複数のシステムの各々からデータを取得し、取得されたデータを連携させるデータ連携システムが知られている。
【0004】
特許文献1には、マルチテナント方式のデータベースシステムに関し、データベース内にあるデータを複数の顧客の間で共有し、データをコピーすること無く瞬時にデータにアクセス可能とすることが開示されている。
【先行技術文献】
【特許文献】
【0005】
国際公開第2018/132478号
【発明の概要】
【発明が解決しようとする課題】
【0006】
特許文献1のデータベースシステムにおいて、データベース内にあるデータを連携させることとした場合、連携されたデータを複数の顧客の各々へ提供し得る。特許文献1の技術によると、連携されたデータをマルチテナント方式のサービスにより提供し得るが、顧客のニーズに応じたより柔軟なデータの制御が求められていた。
【0007】
本開示は、上記に鑑みてなされたものであって、連携されたデータに対する操作を許可するか否かを顧客に応じて柔軟に切り換え可能とするデータ連携システムを得ることを目的とする。
【課題を解決するための手段】
【0008】
上述した課題を解決し、目的を達成するために、本開示に係るデータ連携システムは、データを出力する複数のシステムの各々からのデータを取得するデータ取得部と、複数のシステムの各々からのデータを互いに連携させた連携データに対する、顧客による操作の権限を示す連携データ属性情報に基づいて、操作の要求元である顧客による連携データに対する操作を許可するか否かを決定する連携データ管理部と、を備える。
【発明の効果】
【0009】
本開示に係るデータ連携システムは、連携されたデータに対する操作を許可するか否かを顧客に応じて柔軟に切り換えることができる、という効果を奏する。
【図面の簡単な説明】
【0010】
実施の形態1に係るデータ連携システムを示す図
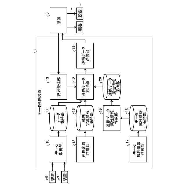
実施の形態1に係るデータ連携システムを実現するデータ連携装置の構成例を示す図
実施の形態1に係るデータ連携装置により取得される連携元データの例を示す図
実施の形態1に係るデータ連携装置により作成されるデータ属性情報の例を示す図
実施の形態1に係るデータ連携装置により作成される連携定義情報の例を示す図
実施の形態1に係るデータ連携装置により作成される連携データ属性情報の例を示す図
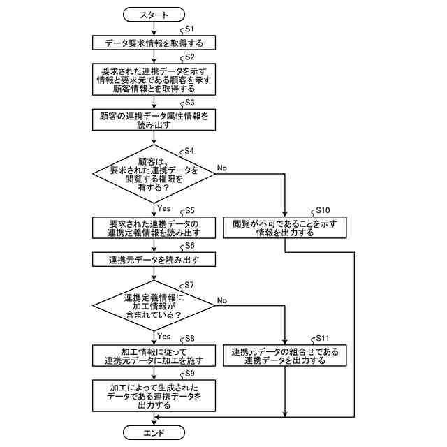
実施の形態1に係るデータ連携装置の連携データ管理部による動作手順の例を示すフローチャート
実施の形態2に係るデータ連携装置においてデータ属性情報に含まれる時期的条件の例を示す図
実施の形態2に係るデータ連携装置において連携データ属性情報に含まれる時期的条件の例を示す図
実施の形態3に係るデータ連携システムを実現するデータ連携装置の構成例を示す図
実施の形態3に係るデータ連携装置における連携データ属性情報を表す論理式の例を示す図
実施の形態3に係るデータ連携装置の連携データ管理部による動作手順の例を示すフローチャート
実施の形態1から3に係るデータ連携装置を実現するハードウェア構成の例を示す図
【発明を実施するための形態】
(【0011】以降は省略されています)
この特許をJ-PlatPat(特許庁公式サイト)で参照する
関連特許
三菱電機株式会社
計測器
1か月前
三菱電機株式会社
冷蔵庫
1か月前
三菱電機株式会社
照明装置
1か月前
三菱電機株式会社
照明装置
14日前
三菱電機株式会社
電子機器
1か月前
三菱電機株式会社
回転電機
1か月前
三菱電機株式会社
照明装置
1か月前
三菱電機株式会社
回転電機
4日前
三菱電機株式会社
照明装置
1か月前
三菱電機株式会社
回転電機
1か月前
三菱電機株式会社
照明器具
1か月前
三菱電機株式会社
照明装置
1か月前
三菱電機株式会社
換気装置
1か月前
三菱電機株式会社
回転電機
14日前
三菱電機株式会社
照明装置
25日前
三菱電機株式会社
照明器具
1か月前
三菱電機株式会社
回転電機
28日前
三菱電機株式会社
半導体装置
1か月前
三菱電機株式会社
電気掃除機
1か月前
三菱電機株式会社
半導体装置
1か月前
三菱電機株式会社
回路遮断器
1か月前
三菱電機株式会社
半導体装置
1か月前
三菱電機株式会社
半導体装置
14日前
三菱電機株式会社
加熱調理器
1か月前
三菱電機株式会社
回路遮断器
1か月前
三菱電機株式会社
半導体装置
8日前
三菱電機株式会社
半導体装置
1か月前
三菱電機株式会社
半導体装置
1か月前
三菱電機株式会社
加熱調理器
1か月前
三菱電機株式会社
半導体装置
24日前
三菱電機株式会社
加熱調理器
7日前
三菱電機株式会社
空気処理装置
1か月前
三菱電機株式会社
電力変換装置
24日前
三菱電機株式会社
貯湯式給湯機
1か月前
三菱電機株式会社
電源システム
1か月前
三菱電機株式会社
梱包チューブ
1か月前
続きを見る
他の特許を見る