TOP
|
特許
|
意匠
|
商標
特許ウォッチ
Twitter
他の特許を見る
公開番号
2025143923
公報種別
公開特許公報(A)
公開日
2025-10-02
出願番号
2024043438
出願日
2024-03-19
発明の名称
不飽和アルコールの製造設備
出願人
新日本理化株式会社
代理人
個人
,
個人
,
個人
,
個人
主分類
C07C
29/149 20060101AFI20250925BHJP(有機化学)
要約
【課題】還元反応を制御して不飽和アルコールを収率良く得ることが可能であり、工業的規模で連続的に不飽和アルコールを製造できる設備を提供すること。
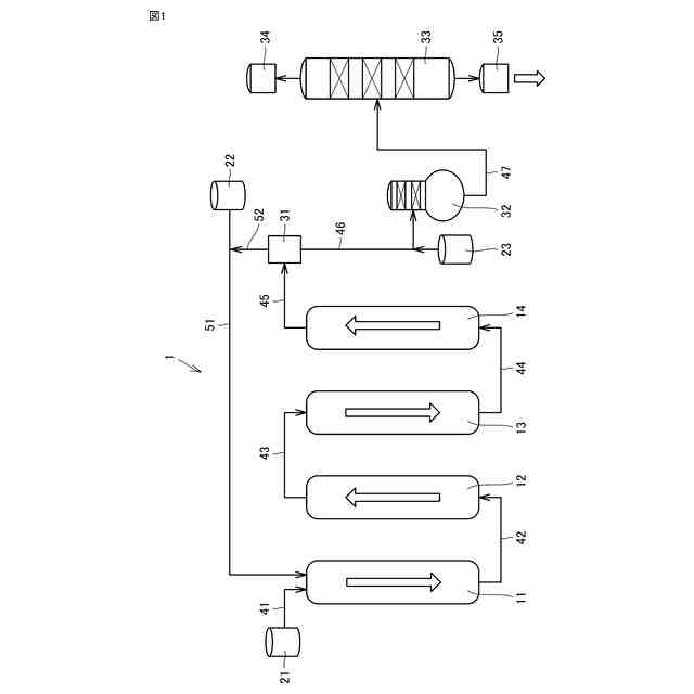
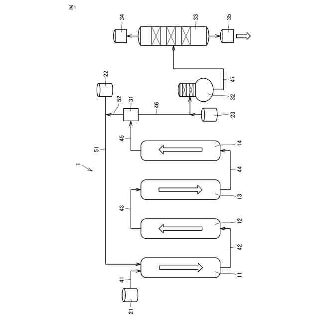
【解決手段】この順に互いに接続された第1反応塔と、第2反応塔と、第3反応塔と、第4反応塔とを備える製造設備である。前記第1反応塔と、前記第2反応塔と、前記第3反応塔と、前記第4反応塔のそれぞれには粒状の固体触媒が充填されている。前記第1反応塔は、上方に原料供給配管および水素ガス供給配管が接続されている。前記第1反応塔と前記第2反応塔とは、前記第1反応塔の下端と前記第2反応塔の下端とを接続する第1接続配管で接続され、前記第2反応塔と前記第3反応塔とは、前記第2反応塔の上端と前記第3反応塔の上端とを接続する第2接続配管で接続され、前記第3反応塔と前記第4反応塔とは、前記第3反応塔の下端と前記第4反応塔の下端とを接続する第3接続配管で接続されている。
【選択図】図1
特許請求の範囲
【請求項1】
この順に互いに接続された第1反応塔と、第2反応塔と、第3反応塔と、第4反応塔とを備え、
前記第1反応塔と、前記第2反応塔と、前記第3反応塔と、前記第4反応塔のそれぞれには粒状の固体触媒が充填されており、
前記第1反応塔は、上方に原料供給配管および水素ガス供給配管が接続され、
前記第1反応塔と前記第2反応塔とは、前記第1反応塔の下端と前記第2反応塔の下端とを接続する第1接続配管で接続され、
前記第2反応塔と前記第3反応塔とは、前記第2反応塔の上端と前記第3反応塔の上端とを接続する第2接続配管で接続され、
前記第3反応塔と前記第4反応塔とは、前記第3反応塔の下端と前記第4反応塔の下端とを接続する第3接続配管で接続されている、
不飽和アルコールの製造設備。
続きを表示(約 540 文字)
【請求項2】
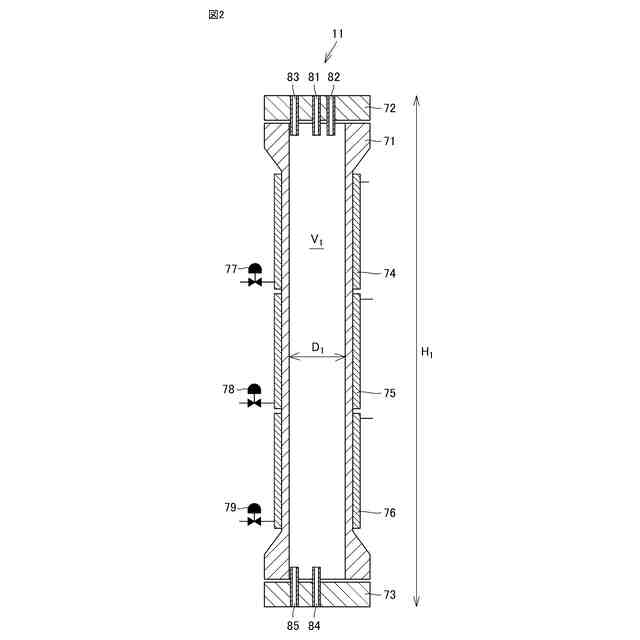
前記第1反応塔、前記第2反応塔、前記第3反応塔、前記第4反応塔は、いずれも、内径(D(m))に対する高さ(H(m))の比(H/D)が20~30である反応室を備える、
請求項1に記載の不飽和アルコールの製造設備。
【請求項3】
前記第1反応塔、前記第2反応塔、前記第3反応塔、前記第4反応塔は、それぞれ、上下に離隔した複数の加熱ジャケットを備え、前記複数の加熱ジャケットの各々は熱媒体の流量を調節可能であるバルブを備える、
請求項1または請求項2に記載の不飽和アルコールの製造設備。
【請求項4】
前記第1反応塔、前記第2反応塔、前記第3反応塔、前記第4反応塔は、同じ高さの設置面上に設置され、配管の組み換えによって接続順を変更可能である、
請求項1または請求項2に記載の不飽和アルコールの製造設備。
【請求項5】
前記第4反応装置の下流側にさらに蒸留装置を備え、
前記第4反応装置と前記蒸留装置との間に、さらに気液分離装置を備え、
前記気液分離装置は、前記水素ガス供給配管に接続する水素ガス還流配管を備える、
請求項1または請求項2に記載の不飽和アルコールの製造設備。
発明の詳細な説明
【技術分野】
【0001】
本発明は不飽和アルコールの製造設備に関する。
続きを表示(約 1,900 文字)
【背景技術】
【0002】
不飽和アルコールの製造設備として、固体触媒を充填した複数の反応塔を備える設備が知られている。特許文献1は、固体触媒を充填した複数の反応塔の上方から「水素ガス」と「不飽和脂肪酸アルキルエステルを含む液相」とを並流で流下させることによって、水素化を行うことを開示している。特許文献1に開示された水素化方法は、反応塔に充填される固体触媒の液相保持量、固体触媒の強度、また、被水素化物質における塩素原子と硫黄原子の合計量を特定の範囲にすることを特徴としている。
【0003】
特許文献2は、銅含有量が30ppm以下である亜鉛系触媒を使用し、高温高圧下で、固定床連続反応方式によって不飽和脂肪酸アルキルエステルの還元反応を行うことを開示している。特許文献2には、固定床連続反応で還元を行う場合、成形された固体触媒を反応塔に充填し、活性化した後に、例えば、「不飽和脂肪酸アルキルエステルである被還元物質」と「水素ガス」とを流下並流もしくは上昇並流させることによって反応を行うことが開示されている。
【先行技術文献】
【特許文献】
【0004】
WO2004/048297号公報
WO2003/089393号公報
【発明の概要】
【発明が解決しようとする課題】
【0005】
本発明は、不飽和脂肪酸アルキルエステルを原料とする不飽和アルコールの製造設備であって、還元反応を制御して不飽和アルコールを収率良く得ることが可能であり、工業的規模で連続的に不飽和アルコールを製造できる設備を提供することを目的とする。
【課題を解決するための手段】
【0006】
本開示にかかる不飽和アルコールの製造設備は、この順に互いに接続された第1反応塔と、第2反応塔と、第3反応塔と、第4反応塔とを備える。前記第1反応塔と、前記第2反応塔と、前記第3反応塔と、前記第4反応塔のそれぞれには、粒状の固体触媒が充填されている。前記第1反応塔は、上方に原料供給配管および水素ガス供給配管が接続されている。前記第1反応塔と前記第2反応塔とは、前記第1反応塔の下端と前記第2反応塔の下端とを接続する第1接続配管で接続され、前記第2反応塔と前記第3反応塔とは、前記第2反応塔の上端と前記第3反応塔の上端とを接続する第2接続配管で接続され、前記第3反応塔と前記第4反応塔とは、前記第3反応塔の下端と前記第4反応塔の下端とを接続する第3接続配管で接続されている。
【発明の効果】
【0007】
本開示にかかる製造設備によれば、還元反応を制御して不飽和アルコールを収率良く得ることが可能であり、工業的規模で連続的に不飽和アルコールを製造できる設備が提供される。
【図面の簡単な説明】
【0008】
図1は、本開示にかかる製造設備の構成を示す模式図である。
図2は、本開示にかかる製造設備の反応塔の構成を示す断面模式図である。
図3は、本開示にかかる製造設備における触媒の形状および反応系の流れを示す模式図である。
【発明を実施するための形態】
【0009】
[実施形態の概要]
最初に本開示にかかる不飽和アルコールの製造設備の実施の形態を列挙して説明する。なお、本明細書においては、特記しない限り、数値範囲を表す「A~B」は「A以上、B以下」を意味する。
【0010】
本開示にかかる製造設備は、触媒存在下、不飽和脂肪酸アルキルエステルの還元を行うことで不飽和アルコールを製造する設備である。本開示にかかる不飽和アルコールの製造設備は、この順に互いに接続された第1反応塔と、第2反応塔と、第3反応塔と、第4反応塔とを備える。前記第1反応塔と、前記第2反応塔と、前記第3反応塔と、前記第4反応塔のそれぞれには粒状の固体触媒が充填されている。前記第1反応塔は、上方に原料供給配管および水素ガス供給配管が接続されている。前記第1反応塔と前記第2反応塔とは、前記第1反応塔の下端と前記第2反応塔の下端とを接続する第1接続配管で接続され、前記第2反応塔と前記第3反応塔とは、前記第2反応塔の上端と前記第3反応塔の上端とを接続する第2接続配管で接続され、前記第3反応塔と前記第4反応塔とは、前記第3反応塔の下端と前記第4反応塔の下端とを接続する第3接続配管で接続されている。
(【0011】以降は省略されています)
この特許をJ-PlatPat(特許庁公式サイト)で参照する
関連特許
新日本理化株式会社
潤滑油基油
17日前
新日本理化株式会社
不飽和アルコールの製造方法
3日前
新日本理化株式会社
不飽和アルコールの製造設備
3日前
東ソー株式会社
タンパク質の発現方法
16日前
東ソー株式会社
炭素-窒素結合形成方法
2か月前
株式会社トクヤマ
四塩化炭素の製造方法
2か月前
株式会社トクヤマ
シロキサン類の回収方法
2か月前
株式会社トクヤマ
ビオチン誘導体の製造方法
2か月前
株式会社半導体エネルギー研究所
有機化合物
1か月前
株式会社トクヤマ
チオラクトン誘導体の製造方法
6日前
東ソー株式会社
イソシアネート化合物の製造方法
1か月前
株式会社トクヤマ
ベンザゼピン化合物の製造方法
1か月前
株式会社コスモス
液状炭化水素の増産方法
1か月前
株式会社トクヤマ
ホルムアミド化合物の製造方法
1か月前
株式会社コスモス
液状炭化水素の増産方法
2か月前
日本特殊陶業株式会社
メタン製造装置
3か月前
artience株式会社
四塩基酸無水物の製造方法
3か月前
信越化学工業株式会社
新規化合物
2か月前
日産化学株式会社
ピラゾール化合物及び有害生物防除剤
3か月前
日産化学株式会社
ピラゾール化合物及び有害生物防除剤
2か月前
大阪瓦斯株式会社
メタン製造システム
2日前
株式会社トクヤマ
サフィナミド若しくはその塩の製造方法
3か月前
国立大学法人東京農工大学
深共晶溶媒
1か月前
三菱ケミカル株式会社
アルコールの製造方法
24日前
本田技研工業株式会社
CO2変換方法
2日前
東ソー株式会社
免疫グロブリン結合性タンパク質の保存溶液
3か月前
キヤノン株式会社
有機化合物及び有機発光素子
3か月前
株式会社トクヤマ
アシル化ベンゼン誘導体の酸塩の製造方法
1か月前
旭化成株式会社
トリオキサンの製造方法
3か月前
JNC株式会社
有機ケイ素化合物およびこれを用いた重合体
1か月前
JNC株式会社
有機ケイ素化合物およびこれを用いた重合体
1か月前
キヤノン株式会社
有機化合物及び有機発光素子
6日前
東ソー株式会社
免疫グロブリン結合性タンパク質の製造方法
16日前
個人
IL-17産生誘導能を有する化合物及びその用途
3日前
キヤノン株式会社
有機金属錯体及び有機発光素子
2日前
株式会社半導体エネルギー研究所
有機金属錯体、発光デバイス
1か月前
続きを見る
他の特許を見る