TOP
|
特許
|
意匠
|
商標
特許ウォッチ
Twitter
他の特許を見る
10個以上の画像は省略されています。
公開番号
2025143977
公報種別
公開特許公報(A)
公開日
2025-10-02
出願番号
2024043521
出願日
2024-03-19
発明の名称
ナット部材、緩衝装置、加圧工具
出願人
Astemo株式会社
代理人
個人
主分類
F16F
9/34 20060101AFI20250925BHJP(機械要素または単位;機械または装置の効果的機能を生じ維持するための一般的手段)
要約
【課題】接着剤を塗布することなく、雄ねじと雌ねじとにより形成される螺旋通路を封止することができるナット部材等を提供する。
【解決手段】雄ねじが締め付けられる雌ねじが形成されたナット部材であって、液体が密封された部位である液密室に雄ねじと雌ねじとの締め付け部が繋がっており、雌ねじの周囲の少なくとも一部には塑性流動することにより形成された塑性流動部を有する、ナット部材。
【選択図】図2
特許請求の範囲
【請求項1】
雄ねじが締め付けられる雌ねじが形成されたナット部材であって、
液体が密封された部位である液密室に前記雄ねじと前記雌ねじとの締め付け部が繋がっており、前記雌ねじの周囲の少なくとも一部には塑性流動することにより形成された塑性流動部を有する、
ナット部材。
続きを表示(約 810 文字)
【請求項2】
前記雌ねじの周囲における前記液密室側の部位には、加圧されることにより凹部が生じており、
前記塑性流動部は、前記凹部の内側に形成されている、
請求項1に記載のナット部材。
【請求項3】
前記凹部は、前記雌ねじの周囲に全周に亘って形成されている、
請求項2に記載のナット部材。
【請求項4】
前記凹部は、前記雌ねじの周囲に、周方向に部分的に複数形成されている、
請求項2に記載のナット部材。
【請求項5】
請求項1から4のいずれか1項に記載のナット部材と、
前記ナット部材が締め付けられる雄ねじが形成されたロッドと、
を備える緩衝装置。
【請求項6】
雄ねじが締め付けられる雌ねじが形成されたナット部材における前記雌ねじの周囲の少なくとも一部を加圧するのに用いられる加圧工具であって、
前記ナット部材における中心線方向の端面に対向する対向面を有する基部と、
前記対向面から前記中心線方向に突出するように前記雌ねじの周囲の少なくとも一部に設けられた突起と、
を備える加圧工具。
【請求項7】
前記突起は、前記雌ねじの周囲に全周に亘って設けられている、
請求項6に記載の加圧工具。
【請求項8】
前記突起は、前記雌ねじの周囲に、周方向に部分的に複数設けられている、
請求項6に記載の加圧工具。
【請求項9】
前記対向面から前記中心線方向に突出するとともに、前記ナット部材が締め付けられる雄ねじを有する部材の中央部に形成された凹部に嵌め込まれる凸部をさらに備え、
前記突起は、前記凸部からの距離が、前記凸部から前記雌ねじまでの距離よりも大きい、
請求項6から8のいずれか1項に記載の加圧工具。
発明の詳細な説明
【技術分野】
【0001】
本発明は、ナット部材、緩衝装置および加圧工具に関する。
続きを表示(約 2,600 文字)
【背景技術】
【0002】
例えば、特許文献1に記載の圧力緩衝装置は、液体を収容するシリンダに挿入され前記シリンダに対して軸方向に移動可能に設けられるロッドと、前記ロッドに接続するとともに、前記シリンダ内の空間を、液体を収容する第1液室と第2液室とに区画するピストンとを備える。また、特許文献1に記載の圧力緩衝装置は、前記第1液室と前記第2液室との間における液体の流路を形成する流路形成部と、前記流路形成部の前記流路を開閉して減衰力を発生させるバルブ部と、液体が流入する流入部を有し、前記流入部の液体の圧力によって前記バルブ部にて発生させる減衰力を変更する減衰力変更部と、を備える。そして、前記減衰力変更部は、変形または変位することにより前記流入部の液体の圧力を変化させる圧力変化部と、前記圧力変化部を支持する支持部と、加締められた加締め部によって前記支持部を保持し、前記支持部と共に前記流入部を形成する流入形成部と、を有する。
【先行技術文献】
【特許文献】
【0003】
特許第6539009号
【発明の概要】
【発明が解決しようとする課題】
【0004】
特許文献1に記載の圧力緩衝装置においては、バルブ部にて発生させる減衰力を変更するために、伸長行程において、第2油室からバイパス路に流入したオイルが、絞り部材のオリフィス、ピストンナットの連絡通路を通って、圧力調整室に流れ込むように構成されている。それゆえ、ロッドの一端側取付部に形成された雄ねじとピストンナットに形成された雌ねじとの間に生じる螺旋通路を介して、第2油室からバイパス路に流入したオイルが圧力調整室に流れ込むことを抑制することが望ましい。螺旋通路を塞ぐために接着剤を塗布することが考えられるが、接着剤を塗布すると、接着剤が乾くまでに長時間が必要となるため、組立時間が長くなってしまう。
本発明は、接着剤を塗布することなく、雄ねじと雌ねじとにより形成される螺旋通路を封止することができるナット部材等を提供することを目的とする。
【課題を解決するための手段】
【0005】
かかる目的のもと完成させた本発明は、雄ねじが締め付けられる雌ねじが形成されたナット部材であって、液体が密封された部位である液密室に前記雄ねじと前記雌ねじとの締め付け部が繋がっており、前記雌ねじの周囲の少なくとも一部には塑性流動することにより形成された塑性流動部を有する、ナット部材である。
【発明の効果】
【0006】
本発明によれば、接着剤を塗布することなく、雄ねじと雌ねじとにより形成される螺旋通路を封止することができる。
【図面の簡単な説明】
【0007】
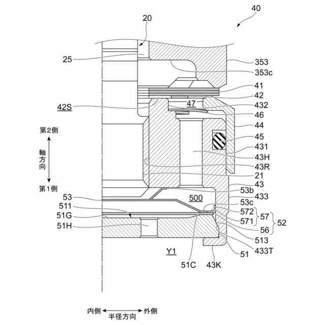
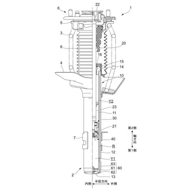
第1実施形態に係る懸架装置の概略構成の一例を示す図である。
第1実施形態に係るピストン部および減衰力変更部の断面の一例を示す図である。
絞り部材の概略構成の一例を示す図である。
支持バネの概略構成の一例を示す図である。
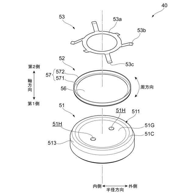
エンドキャップ、フロートバルブ、圧力調整室スプリングの一例を示す斜視図である。
減衰力変更部の部分断面の一例を示す図である。
圧縮行程時および伸長行程時におけるピストン部とボトム部の動作説明図である。
伸長行程時における減衰力変更部の動作の一例を示す図である。
減衰力変更部を組み立てる様子の一例を示す図である。
加圧工具にてピストンナットを加圧する前後のピストンナットの状態の一例を示す図である。(a)はピストンナットを加圧する前の状態の一例を示す図であり、図9のX部の拡大図の一例を示す図である。(b)はピストンナットを加圧した後の状態の一例を示す図である。
加圧工具の一例を示す図である。
突起の断面形状の変形例の一例を示す図である。
突起の周方向形状の変形例の一例を示す図である。
第2実施形態に係る加圧工具の一例を示す図である。
【発明を実施するための形態】
【0008】
以下、添付図面を参照して、本発明の実施形態について詳細に説明する。
<第1実施形態>
図1は、第1実施形態に係る懸架装置1の概略構成の一例を示す図である。
懸架装置1は、乗用自動車等の四輪車に用いられるサスペンションであり、図1に示すように、油圧式の緩衝装置2と、緩衝装置2の外側に配置されたコイルスプリング3とを備える。また、懸架装置1は、コイルスプリング3における、後述するロッド20の軸方向の第1側(図1では下側)の端部を支持する下スプリングシート4と、コイルスプリング3における、ロッド20の軸方向の第2側(図1では上側)の端部を支持する上スプリングシート5とを備える。
【0009】
また、懸架装置1は、懸架装置1を車両に取り付けるための車体側ブラケット6と、懸架装置1を車輪に取り付けるための車輪側ブラケット7と、シリンダ部10およびロッド20の少なくとも一部を覆うダストカバー8とを備える。
以下では、ロッド20の軸方向を、単に「軸方向」と称する場合がある。また、軸方向の第1側(図1では下側)、軸方向の第2側(図1では上側)を、それぞれ、単に「第1側」、「第2側」と称する場合がある。また、軸方向に交差する方向(例えば、直交方向)を、「半径方向」と称する場合がある。半径方向において、シリンダ11の中心線側を単に「内側」と称し、中心線から離れる側を単に「外側」と称する場合がある。
【0010】
以下、緩衝装置2について詳述する。
緩衝装置2は、オイルを収容するシリンダ部10と、第2側の端部がシリンダ部10から突出して設けられるとともに第1側の端部がシリンダ部10内に挿入されるロッド20とを備える。また、緩衝装置2は、ロッド20の第1側の端部に設けられるピストン部30と、ピストン部30にて発生する減衰力を調整する減衰力変更部40と、シリンダ部10の第1側の端部に設けられるボトム部60とを備える。
(【0011】以降は省略されています)
この特許をJ-PlatPat(特許庁公式サイト)で参照する
関連特許
個人
鍋虫ねじ
1か月前
個人
回転伝達機構
1か月前
個人
紛体用仕切弁
1か月前
個人
差動歯車用歯形
3か月前
個人
ジョイント
13日前
株式会社不二工機
電磁弁
3か月前
株式会社不二工機
電磁弁
4か月前
個人
ナット
14日前
個人
地震の揺れ回避装置
2か月前
個人
吐出量監視装置
1か月前
カヤバ株式会社
ダンパ
3か月前
カヤバ株式会社
ダンパ
3か月前
柿沼金属精機株式会社
分岐管
1か月前
カヤバ株式会社
緩衝器
2か月前
カヤバ株式会社
緩衝器
2か月前
個人
固着具と固着具の固定方法
4か月前
株式会社フジキン
ボールバルブ
3か月前
個人
固着具と固着具の固定方法
4か月前
株式会社タカギ
水栓装置
1か月前
株式会社不二工機
電磁弁
1か月前
個人
固着具と固着具の固定方法
4か月前
株式会社奥村組
制振機構
3日前
株式会社奥村組
制振機構
3日前
アズビル株式会社
回転弁
7日前
株式会社有恒商会
伸縮継手
2か月前
個人
ワンウェイベアリング
2か月前
株式会社ケアコム
取付器具
2か月前
株式会社不二越
転がり軸受
1か月前
株式会社オンダ製作所
識別リング
2か月前
アイホン株式会社
電気機器
3日前
井関農機株式会社
作業車両
3か月前
個人
機械式固定スタッドボルト装置
3か月前
株式会社テイエルブイ
液体圧送装置
3か月前
個人
交互ピッチ湾曲保持ばね構造体
1か月前
株式会社オンダ製作所
長尺体保持具
2か月前
株式会社アイシン
シフト装置
4か月前
続きを見る
他の特許を見る