TOP
|
特許
|
意匠
|
商標
特許ウォッチ
Twitter
他の特許を見る
公開番号
2025151744
公報種別
公開特許公報(A)
公開日
2025-10-09
出願番号
2024053310
出願日
2024-03-28
発明の名称
軸受装置
出願人
NTN株式会社
代理人
弁理士法人深見特許事務所
主分類
F16C
19/52 20060101AFI20251002BHJP(機械要素または単位;機械または装置の効果的機能を生じ維持するための一般的手段)
要約
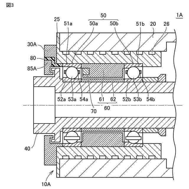
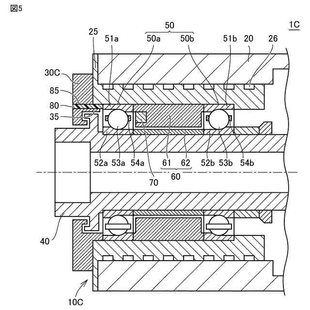
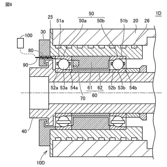
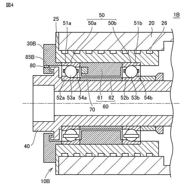
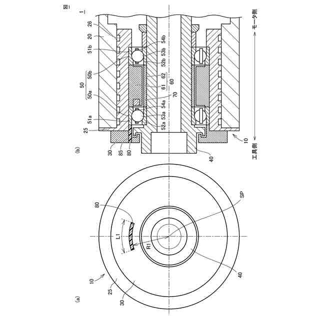
【課題】無線通信装置を備えた軸受装置において、電波を伝播し易くするための空間をハウジングの内部に形成しなくても、計測データを無線で外部に送信可能とする。
【解決手段】軸受装置10は、主軸40を内部に収容するハウジング25と、軸受50aと、金属製の蓋部30と、通信装置71とを備える。軸受50aは、内輪52aと外輪51aとを有し、主軸40をハウジング25に対して回転自在に支持する。蓋部30は、ハウジング25の軸方向端面および外輪51aの軸方向端面に接触した状態でハウジング25の内径面に嵌合される。通信装置71は、軸受50aを挟んで蓋部30と対向する領域に配置され、電波を用いた無線通信を行なう。蓋部30には、主軸40の軸方向に貫通する貫通孔85が形成されている。貫通孔85には非磁性材料で形成された封止部材80が設けられている。
【選択図】図1
特許請求の範囲
【請求項1】
回転体を内部に収容する筒状のハウジングと、
前記回転体の外径面に固定される内輪と前記ハウジングの内径面に固定される外輪とを有し、前記回転体を前記ハウジングに対して回転自在に支持する第1軸受と、
金属材料で形成され、前記ハウジングの軸方向端面および前記外輪の軸方向端面に接触した状態で前記ハウジングの内径面に嵌合される蓋部と、
前記第1軸受を挟んで前記蓋部と対向する領域に配置され、電波を用いた無線通信を行なう通信装置とを備え、
前記蓋部には、前記回転体の軸方向に貫通する少なくとも1つの貫通孔が形成されており、
前記少なくとも1つの貫通孔には非磁性材料で形成された封止部材が設けられている、軸受装置。
続きを表示(約 890 文字)
【請求項2】
前記蓋部を前記回転体の軸方向から見た場合に、前記少なくとも1つの貫通孔の各々は、前記回転体の回転軸中心から第1距離の位置に形成されており、
各貫通孔における前記回転軸中心に対する周方向の第1寸法は、前記通信装置の無線通信で用いられる電波の波長の1/10以上であり、
前記少なくとも1つの貫通孔における前記第1寸法の合計は、前記第1距離を半径とする円周の長さの1/2未満である、請求項1に記載の軸受装置。
【請求項3】
各貫通孔を通り前記回転体の回転軸に沿った断面を見た場合に、当該貫通孔はクランク形状を有している、請求項2に記載の軸受装置。
【請求項4】
前記蓋部を前記回転体の軸方向から見た場合に、前記封止部材は前記外輪と少なくとも一部が重なっている、請求項1~請求項3のいずれか1項に記載の軸受装置。
【請求項5】
前記通信装置は、無線通信によって外部装置と通信可能であり、
前記軸受装置は、前記封止部材内に少なくとも一部が配置され、前記通信装置からの電波を受信して前記外部装置へ伝達するためのアンテナをさらに備える、請求項1~請求項3のいずれか1項に記載の軸受装置。
【請求項6】
前記通信装置は、前記第1軸受と、前記第1軸受を挟んで前記蓋部と対向する位置に配置された第2軸受との間の領域に配置されており、
前記軸受装置は、前記第1軸受と前記第2軸受との間の領域に配置され、前記通信装置に電力を供給する自己発電装置をさらに備える、請求項1~請求項3のいずれか1項に記載の軸受装置。
【請求項7】
前記非磁性材料は、樹脂またはセラミックスを含む、請求項1~請求項3のいずれか1項に記載の軸受装置。
【請求項8】
前記第1軸受は、アンギュラ玉軸受である、請求項1~請求項3のいずれか1項に記載の軸受装置。
【請求項9】
前記回転体は、工作機械の主軸である、請求項1~請求項3のいずれか1項に記載の軸受装置。
発明の詳細な説明
【技術分野】
【0001】
本開示は、無線通信装置を備えた軸受装置に関する。
続きを表示(約 1,700 文字)
【背景技術】
【0002】
工作機械の主軸などに用いられる、転がり機構あるいは揺動機構を含む機械には、機械の制御あるいは状態監視を行うために、センサなどの検出装置が取り付けられることがある。特に、転がり軸受を用いた機械においては、機械内部の軸受近傍で特性を検出することが有効であることから、振動センサ、温度センサなどの各種センサを機械内部の軸受近傍に配置することが望ましい。
【0003】
また、従来、センサが検出したデータの送信には電線が多用されるが、機械内部に電線を配置することは、機械内部の他の機構との干渉や、その機構の機能低下(例えば寸法精度の低下や形状精度の低下)を招く可能性がある。また、機械の組立性も悪化し、生産性を低下させる要因ともなり得る。
【0004】
上記のような問題に対して、たとえば特開2003-28151号公報(特許文献1)には、アンテナ付きのワイヤレスセンサが軸受の外輪に取り付けられ、このワイヤレスセンサによって検出されたデータを電波によって無線で外部に送信する軸受装置が開示されている。この軸受装置においては、軸受およびその周辺部品(ハウジングおよび蓋など)が電波を伝播し難い金属製(磁性材料製)であることに鑑み、ワイヤレスセンサが取り付けられた部分の周辺に位置するハウジングの内部に、ワイヤレスセンサから送信される電波を外部に伝播し易くするための空間(穴あるいは溝)が形成されている。
【先行技術文献】
【特許文献】
【0005】
特開2003-28151号公報
【発明の概要】
【発明が解決しようとする課題】
【0006】
特開2003-28151号公報(特許文献1)に開示された軸受装置においては、軸受周辺に配置されるハウジングの内部に、電波を伝播し易くするための空間(穴あるいは溝)が形成されている。
【0007】
しかしながら、通常、軸受周辺のハウジングの内部には、軸受を冷却するための他の機構などが設けられており、他の機構と干渉する場合にはハウジングの内部に十分な空間を形成することができない場合が生じ得る。また、他の機構との干渉を回避するためにハウジングの内部に複雑な形状の空間を形成すると、ハウジングの形状精度の劣化やコストの上昇を招くことが懸念される。
【0008】
本開示は、上記の課題を解決するためになされたものであって、その目的は、無線通信装置を備えた軸受装置において、電波を伝播し易くするための特別な空間をハウジングの内部に形成しなくても、計測データを無線で外部に送信可能とすることである。
【課題を解決するための手段】
【0009】
(1)本開示に係る軸受装置は、回転体を内部に収容する筒状のハウジングと、第1軸受と、蓋部と、通信装置とを備える。第1軸受は、回転体の外径面に固定される内輪とハウジングの内径面に固定される外輪とを有し、回転体をハウジングに対して回転自在に支持する。蓋部は、金属材料で形成されている。蓋部は、ハウジングの軸方向端面および外輪の軸方向端面に接触した状態でハウジングの内径面に嵌合される。通信装置は、第1軸受を挟んで蓋部と対向する領域に配置され、電波を用いた無線通信を行なう。蓋部には、回転体の軸方向に貫通する少なくとも1つの貫通孔が形成されている。少なくとも1つの貫通孔には非磁性材料で形成された封止部材が設けられている。
【0010】
(2)ある態様において、蓋部を回転体の軸方向から見た場合に、少なくとも1つの貫通孔の各々は、回転体の回転軸中心から第1距離の位置に形成されている。各貫通孔における回転軸中心に対する周方向の第1寸法は、通信装置の無線通信で用いられる電波の波長の1/10以上である。少なくとも1つの貫通孔における第1寸法の合計は、第1距離を半径とする円周の長さの1/2未満である。
(【0011】以降は省略されています)
この特許をJ-PlatPat(特許庁公式サイト)で参照する
関連特許
NTN株式会社
基板
17日前
NTN株式会社
ハンド
12日前
NTN株式会社
玉軸受
18日前
NTN株式会社
玉軸受
26日前
NTN株式会社
玉軸受
25日前
NTN株式会社
玉軸受
4日前
NTN株式会社
軸受装置
4日前
NTN株式会社
軸受装置
4日前
NTN株式会社
焼結軸受
4日前
NTN株式会社
軸受装置
4日前
NTN株式会社
密封装置
10日前
NTN株式会社
軸受装置
4日前
NTN株式会社
把持装置
12日前
NTN株式会社
軸受装置
24日前
NTN株式会社
作業装置
10日前
NTN株式会社
把持装置
12日前
NTN株式会社
転がり軸受
5日前
NTN株式会社
転がり軸受
18日前
NTN株式会社
荷積込装置
5日前
NTN株式会社
転がり軸受
12日前
NTN株式会社
転がり軸受
4日前
NTN株式会社
回転伝達装置
5日前
NTN株式会社
円筒ころ軸受
26日前
NTN株式会社
回転伝達装置
5日前
NTN株式会社
状態監視装置
11日前
NTN株式会社
基板取付構造
24日前
NTN株式会社
回転伝達装置
10日前
NTN株式会社
軸受用保持器
1か月前
NTN株式会社
等速自在継手
24日前
NTN株式会社
シール付軸受
10日前
NTN株式会社
保持器付きころ
14日前
NTN株式会社
車輪用軸受装置
10日前
NTN株式会社
円すいころ軸受
17日前
NTN株式会社
モータユニット
14日前
NTN株式会社
リンク作動装置
6日前
NTN株式会社
車輪用軸受装置
26日前
続きを見る
他の特許を見る