TOP
|
特許
|
意匠
|
商標
特許ウォッチ
Twitter
他の特許を見る
公開番号
2025144013
公報種別
公開特許公報(A)
公開日
2025-10-02
出願番号
2024043566
出願日
2024-03-19
発明の名称
電源システムおよび電源システムの制御方法
出願人
本田技研工業株式会社
代理人
弁理士法人桐朋
主分類
H02M
3/00 20060101AFI20250925BHJP(電力の発電,変換,配電)
要約
【課題】より良好な電源システムおよび電源システムの制御方法を提供する。
【解決手段】電源システム10は、基準バッテリから供給される電圧を変圧する一の電圧変換器18の出力電圧を基準出力電圧として、一の電圧変換器以外の他の電圧変換器の出力電圧が基準出力電圧となるように他の電圧変換器を制御する制御部40と、基準バッテリとして選択された一のバッテリ12に異常が発生したか否かを判定する異常判定部44と、を備え、基準バッテリとして選択された一のバッテリに異常が発生したと異常判定部によって判定された場合に、制御部は、一のバッテリとは異なるバッテリを基準バッテリとして選択する。
【選択図】図1
特許請求の範囲
【請求項1】
複数のバッテリからそれぞれ供給される電圧をそれぞれ変圧するとともに、出力が互いに並列接続された複数の電圧変換器と、
複数の前記バッテリのうちから選択される一の前記バッテリである基準バッテリから供給される電圧を変圧する一の前記電圧変換器の出力電圧を基準出力電圧として、前記一の電圧変換器以外の他の前記電圧変換器の出力電圧が前記基準出力電圧となるように前記他の電圧変換器を制御する制御部と、
前記基準バッテリとして選択された前記一のバッテリに異常が発生したか否かを判定する異常判定部と、
を備え、
前記基準バッテリとして選択された前記一のバッテリに前記異常が発生したと前記異常判定部によって判定された場合に、前記制御部は、前記一のバッテリとは異なる前記バッテリを前記基準バッテリとして選択する、電源システム。
続きを表示(約 700 文字)
【請求項2】
請求項1に記載の電源システムであって、
前記基準バッテリとして選択された前記一のバッテリの電圧の微分値を取得する情報取得部をさらに備え、
前記異常判定部は、前記基準バッテリとして選択された前記一のバッテリの前記微分値が予め決定された閾値に達した場合に前記基準バッテリとして選択された前記一のバッテリに前記異常が発生したと判定する、電源システム。
【請求項3】
請求項2に記載の電源システムであって、
前記情報取得部は、複数の前記バッテリの各々の電圧の前記微分値を取得し、
前記基準バッテリとして選択された前記一のバッテリに前記異常が発生したと前記異常判定部によって判定された場合に、前記制御部は、前記微分値が前記閾値に達していない前記バッテリを前記基準バッテリとして選択する、電源システム。
【請求項4】
複数のバッテリからそれぞれ供給される電圧をそれぞれ変圧するとともに、出力が互いに並列接続された複数の電圧変換器を備えた電源システムの制御方法であって、
複数の前記バッテリのうちから選択される一の前記バッテリである基準バッテリから供給される電圧を変圧する一の前記電圧変換器の出力電圧を基準出力電圧として、前記一の電圧変換器以外の他の前記電圧変換器の出力電圧が前記基準出力電圧となるように前記他の前記電圧変換器を制御し、
前記基準バッテリとして選択された前記一のバッテリに異常が発生した場合に、前記一のバッテリとは異なる前記バッテリを前記基準バッテリとして選択する、電源システムの制御方法。
発明の詳細な説明
【技術分野】
【0001】
本開示は、電源システムおよび電源システムの制御方法に関する。
続きを表示(約 1,400 文字)
【背景技術】
【0002】
近年、より多くの人々が手ごろで信頼でき、持続可能かつ先進的なエネルギーへのアクセスを確保できるようにするため、エネルギーの効率化に貢献する電源システムに関する研究開発が行われている。
【0003】
例えば、特許文献1には、複数のバッテリからそれぞれ供給される電圧をそれぞれ変圧するとともに、出力が互いに並列接続された複数の電圧変換器を備えた電源システムが開示されている。
【先行技術文献】
【特許文献】
【0004】
特許第7147080号公報
【発明の概要】
【発明が解決しようとする課題】
【0005】
より良好な電源システムおよび電源システムの制御方法が待望されている。
【0006】
本開示は、上述した課題を解決することを目的とする。
【課題を解決するための手段】
【0007】
本開示の第1の態様は、複数のバッテリからそれぞれ供給される電圧をそれぞれ変圧するとともに、出力が互いに並列接続された複数の電圧変換器と、複数の前記バッテリのうちから選択される一の前記バッテリである基準バッテリから供給される電圧を変圧する一の前記電圧変換器の出力電圧を基準出力電圧として、前記一の電圧変換器以外の他の前記電圧変換器の出力電圧が前記基準出力電圧となるように前記他の電圧変換器を制御する制御部と、前記基準バッテリとして選択された前記一のバッテリに異常が発生したか否かを判定する異常判定部と、を備え、前記基準バッテリとして選択された前記一のバッテリに前記異常が発生したと前記異常判定部によって判定された場合に、前記制御部は、前記一のバッテリとは異なる前記バッテリを前記基準バッテリとして選択する、電源システムである。
【0008】
本開示の第2の態様は、複数のバッテリからそれぞれ供給される電圧をそれぞれ変圧するとともに、出力が互いに並列接続された複数の電圧変換器を備えた電源システムの制御方法であって、複数の前記バッテリのうちから選択される一の前記バッテリである基準バッテリから供給される電圧を変圧する一の前記電圧変換器の出力電圧を基準出力電圧として、前記一の電圧変換器以外の他の前記電圧変換器の出力電圧が前記基準出力電圧となるように前記他の前記電圧変換器を制御し、前記基準バッテリとして選択された前記一のバッテリに異常が発生した場合に、前記一のバッテリとは異なる前記バッテリを前記基準バッテリとして選択する、電源システムの制御方法である。
【発明の効果】
【0009】
本開示によれば、より良好な電源システムおよび電源システムの制御方法を提供し得る。
【図面の簡単な説明】
【0010】
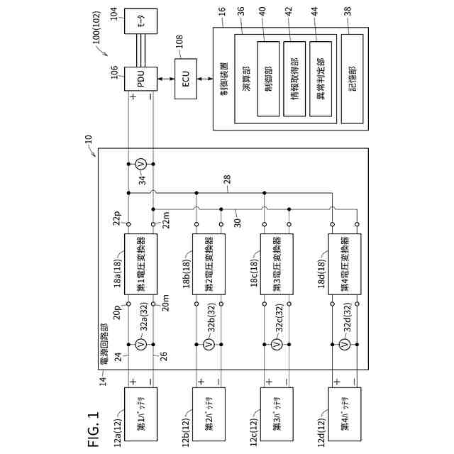
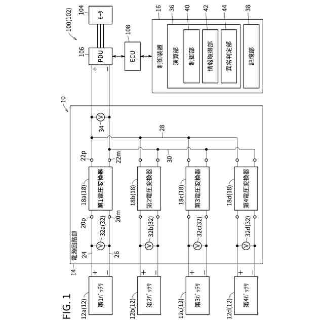
図1は、実施形態に係る電源システムの構成図である。
図2は、電源システムの制御方法の一例を説明するためのフローチャートである。
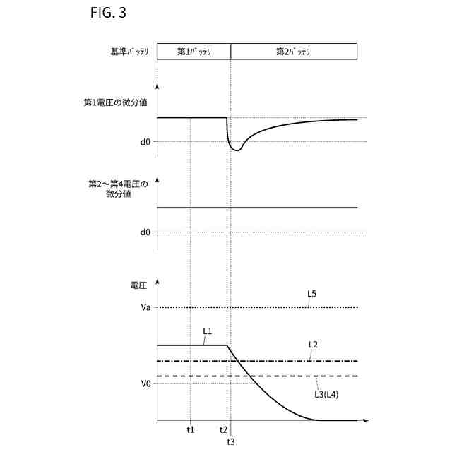
図3は、電源システムの制御方法の一例を説明するためのタイミングチャートである。
図4は、比較例に係る電源システムの制御方法を説明するためのタイミングチャートである。
【発明を実施するための形態】
(【0011】以降は省略されています)
この特許をJ-PlatPat(特許庁公式サイト)で参照する
関連特許
個人
電源装置
14日前
個人
永久磁石モーター
1か月前
個人
バッテリ内蔵直流電源
13日前
株式会社FUJI
制御盤
3日前
オムロン株式会社
電源回路
7日前
オムロン株式会社
電源回路
7日前
オムロン株式会社
電源回路
7日前
トヨタ自動車株式会社
回転子
14日前
日産自動車株式会社
電子機器
24日前
エイブリック株式会社
バッテリ装置
1か月前
ニデック株式会社
モータの制御方法
21日前
トヨタ自動車株式会社
溶接装置
27日前
大豊工業株式会社
モータ
13日前
東京応化工業株式会社
発電装置
7日前
井関農機株式会社
充電システム
24日前
ミサワホーム株式会社
居住設備
3日前
三菱ケミカル株式会社
電池
1か月前
株式会社リコー
拡張アンテナ装置
6日前
愛知電機株式会社
巻線方法および巻線装置
29日前
トヨタ自動車株式会社
ロータ
1日前
ユタカ電業株式会社
ケーブルダクト
3日前
富士電子工業株式会社
電力変換装置
15日前
日産自動車株式会社
ステータ
今日
株式会社正興電機製作所
地絡確認装置
6日前
株式会社ミツバ
巻線装置
6日前
株式会社ダイヘン
電力管理装置
22日前
株式会社大林組
可搬式充電設備
今日
株式会社アイシン
直流回転電機
27日前
NTN株式会社
モータユニット
3日前
株式会社ダイヘン
電力変換装置
29日前
株式会社ダイヘン
変換装置集積体
29日前
カヤバ株式会社
アクチュエータユニット
13日前
株式会社アイシン
駆動装置
1日前
住友電装株式会社
ワイヤハーネス
23日前
大阪瓦斯株式会社
蓄電装置
1か月前
株式会社デンソー
インバータ装置
15日前
続きを見る
他の特許を見る