TOP
|
特許
|
意匠
|
商標
特許ウォッチ
Twitter
他の特許を見る
10個以上の画像は省略されています。
公開番号
2025144152
公報種別
公開特許公報(A)
公開日
2025-10-02
出願番号
2024043794
出願日
2024-03-19
発明の名称
画像形成装置及び転写残トナーの回収方法
出願人
株式会社リコー
代理人
個人
主分類
G03G
15/16 20060101AFI20250925BHJP(写真;映画;光波以外の波を使用する類似技術;電子写真;ホログラフイ)
要約
【課題】現像手段による転写残トナーの回収を良好に行うことができる画像形成装置を提供する。
【解決手段】像担持、帯電部材、現像手段、転写手段、転写電圧印加手段、制御部を有し、転写の後に前記像担持体に残留した転写残トナーを前記現像手段で回収する画像形成装置である。制御部は、非転写期間における前記転写電流が転写期間における転写電流と同じ極性となりかつ異なる絶対値の電流値になるように、又は、非転写期間における転写電流がゼロになるように転写電圧印加手段を制御し、現像手段で転写残トナーを回収する際に、像担持体の回転方向における帯電位置を通過した後かつ現像位置を通過する前の転写残トナーの荷電量を-30μC/g以上-25μC/g以下にする。
【選択図】図1
特許請求の範囲
【請求項1】
回転可能な像担持体と、
前記像担持体を帯電する帯電部材と、
前記像担持体にトナーを供給する現像部材を備え、前記像担持体にトナー像を形成する現像手段と、
前記トナー像を被転写体に転写させる転写部材と、
前記転写部材に電圧を印加する転写電圧印加手段と、
制御部と、を有し、
前記転写の後に前記像担持体に残留した転写残トナーを前記現像手段で回収する画像形成装置であって、
前記像担持体と前記帯電部材とが対向する位置を帯電位置とし、
前記像担持体と前記現像部材とが対向する位置を現像位置とし、
前記転写部材に流れる電流を転写電流とし、
前記転写部材が前記被転写体に前記トナー像を転写している期間を転写期間とし、
前記転写部材が前記被転写体に前記トナー像を転写していない期間を非転写期間とし、
前記制御部は、非転写期間における前記転写電流が転写期間における前記転写電流と同じ極性となりかつ異なる絶対値の電流値になるように、又は、非転写期間における前記転写電流がゼロになるように前記転写電圧印加手段を制御し、前記像担持体の回転方向における前記帯電位置を通過した後かつ前記現像位置を通過する前の転写残トナーの荷電量を-30μC/g以上-25μC/g以下にする
ことを特徴とする画像形成装置。
続きを表示(約 1,100 文字)
【請求項2】
前記制御部は、前記現像部材の駆動量を積算した積算現像駆動量を求め、前記積算現像駆動量に基づいて転写期間における前記転写電流及び/又は非転写期間における前記転写電流を調整する
ことを特徴とする請求項1に記載の画像形成装置。
【請求項3】
前記制御部は、前記転写を行った回数を積算した積算転写回数に基づいて転写期間における前記転写電流及び/又は非転写期間における前記転写電流を調整する
ことを特徴とする請求項1に記載の画像形成装置。
【請求項4】
前記制御部は、当該画像形成装置の内部又は外部の温度及び絶対湿度に基づいて転写期間における前記転写電流及び/又は非転写期間における前記転写電流を調整する
ことを特徴とする請求項1に記載の画像形成装置。
【請求項5】
前記制御部は、前記現像部材の駆動量を積算した積算現像駆動量と、前記転写を行った回数を積算した積算転写回数と、当該画像形成装置の内部又は外部の温度及び絶対湿度とから選ばれるうちの2つ以上に基づいて転写期間における前記転写電流及び/又は非転写期間における前記転写電流を調整する
ことを特徴とする請求項1に記載の画像形成装置。
【請求項6】
前記制御部は、画像形成装置の内部又は外部の温度及び絶対湿度に基づいて選択された転写期間における前記転写電流及び/又は非転写期間における前記転写電流を、前記転写を行った回数を積算した積算転写回数に基づいて選択された電流補正値に基づいて、調整する
ことを特徴とする請求項1に記載の画像形成装置。
【請求項7】
前記制御部は、前記温度及び絶対湿度が高いほど設定する前記転写電流値を高くし、前記積算転写回数が多くなるほど設定する前記転写電流補正値を大きくする
ことを特徴とする請求項6に記載の画像形成装置。
【請求項8】
前記制御部は、転写期間における前記転写電流の絶対値が、非転写期間における前記転写電流の絶対値よりも小さくなるように前記転写電圧印加手段を制御する
ことを特徴とする請求項1に記載の画像形成装置。
【請求項9】
前記制御部は、転写期間の一部において、非転写期間中に前記帯電部材に印加する電圧の絶対値よりも小さい電圧を前記帯電部材に印加するように前記帯電電圧印加手段を制御する
ことを特徴とする請求項1に記載の画像形成装置。
【請求項10】
前記制御部は、非転写期間における前記転写電流が10μA以上16μA以下となるように前記転写電圧印加手段を制御する
ことを特徴とする請求項1に記載の画像形成装置。
(【請求項11】以降は省略されています)
発明の詳細な説明
【技術分野】
【0001】
本発明は、画像形成装置及び転写残トナーの回収方法に関する。
続きを表示(約 1,700 文字)
【背景技術】
【0002】
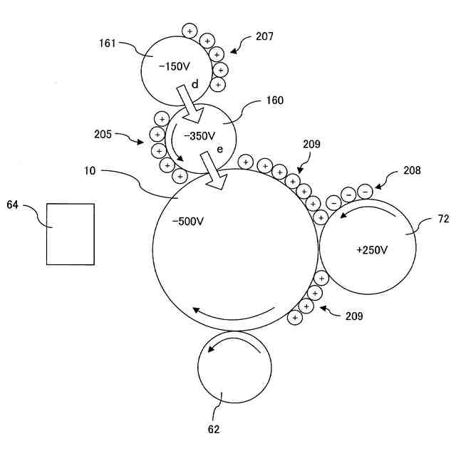
電子写真方式の画像形成装置では、帯電ローラ等の帯電部材により感光体(像担持体)を帯電させ、現像手段によりトナーを感光体に供給し、感光体上のトナーを記録媒体又は中間転写体に転写することが知られている。
【0003】
従来の技術では、例えば感光体上に付着しているトナーをクリーニングブレード等のクリーニング手段で清掃することが知られている。近年、装置の小型化等の観点から、感光体のクリーニングを専用に行うクリーニング手段を備えない、いわゆるクリーナーレス方式が提案されている。
【0004】
クリーナーレス方式の画像形成装置では、転写後に感光体上に残留した転写残トナーを現像手段で回収するものが知られている。このようなクリーナーレス方式の画像形成装置では、転写残トナーを現像手段で回収し、再利用するため、廃トナーを抑制できる。このため、ユーザーメンテナンスが簡略化できるとともに、廃トナー収容器が不要となり、廃棄物を削減できる。
【0005】
クリーナーレス方式の画像形成装置では、例えば以下の方法が知られている。帯電部材に印加する電圧(帯電バイアス)を大きくして地肌ポテンシャル(帯電部材の電位と感光体の電位との電位差)の幅を広げることで、転写残トナーを回収する方法が知られている。この他にも、帯電バイアスと感光体上の表面電位との電位差を利用して、帯電部材に付着したトナーを感光体上に吐き出し、現像手段で回収する方法が知られている。
【0006】
しかし、現像手段での回収が不十分な場合、現像手段で回収しきれなかった転写残トナーが感光体上に残ったままになり、再び転写位置に送られたときに用紙上に転写されて、転写残ゴーストとなって現れてしまう。このような問題は再転写などとも称する。この問題に対して例えば以下のような提案がある。
【0007】
特許文献1では、転写の後に感光体に残留したトナーを、現像部において現像手段に回収する画像形成装置が開示されている。特許文献1では、転写部を通過する際の感光体上の静電像の非画像部と画像部との電位差に関して、前記電位差が所定の関係を満たすように、転写前露光手段による露光量を変更している。特許文献1によれば、現像部で転写残トナーを良好に回収し、かつ、転写部でトナー像を良好に記録材に転写することができるとしている。
【0008】
特許文献2では、接触帯電・クリーナーレス系の画像形成部を複数備えたタンデム方式等のカラー画像形成装置等が開示されている。特許文献2では、複数の画像形成部の像担持体から記録材担持体あるいは中間転写体への転写残留現像剤の吐き出しタイミングを制御して記録材担持体あるいは中間転写体上で吐き出し現像剤が重ならないようにしている。これにより、一度に大量に吐き出した現像剤が下流側の画像形成部の転写部に送られることによる再転写を防ぐことができるとしている。
【発明の概要】
【発明が解決しようとする課題】
【0009】
しかしながら、従来技術では、現像手段による転写残トナーの回収性を向上させることが求められている。例えば使用状況によってトナーの帯電能力が低下している場合などにおいて、帯電部材の位置を通過する前の転写残トナーの荷電量が小さくなり、このため帯電部材の位置を通過した後の転写残トナーの荷電量が上がりきらない場合がある。この他にも、転写効率や異常画像の余裕度の観点で転写部材に印加する電圧を高めに設定している場合などにおいても、帯電部材の位置を通過した後の転写残トナーの荷電量が上がりきらない場合がある。帯電部材の位置を通過した後の転写残トナーの荷電量が上がりきらない場合、地肌ポテンシャルを高く設定しても現像手段での回収性が下がり、再転写が生じてしまう。
【0010】
そこで本発明は、現像手段による転写残トナーの回収を良好に行うことができる画像形成装置を提供することを目的とする。
【課題を解決するための手段】
(【0011】以降は省略されています)
この特許をJ-PlatPat(特許庁公式サイト)で参照する
関連特許
株式会社シグマ
絞りユニット
16日前
キヤノン株式会社
撮像装置
15日前
キヤノン株式会社
撮像装置
9日前
株式会社リコー
画像形成装置
23日前
株式会社リコー
画像形成装置
5日前
株式会社オプトル
プロジェクタ
8日前
キヤノン株式会社
トナー
1日前
ブラザー工業株式会社
画像形成装置
25日前
ブラザー工業株式会社
画像形成装置
25日前
株式会社電気印刷研究所
静電印刷用積層体
1日前
ブラザー工業株式会社
画像形成装置
23日前
株式会社リコー
画像形成装置
5日前
キヤノン株式会社
画像形成装置
2日前
キヤノン株式会社
画像形成装置
24日前
キヤノン株式会社
画像形成装置
5日前
キヤノン株式会社
画像形成装置
26日前
キヤノン株式会社
画像形成装置
15日前
キヤノン株式会社
画像形成装置
26日前
ブラザー工業株式会社
定着装置
24日前
株式会社セガ
写真シール作成機
26日前
ブラザー工業株式会社
定着装置
17日前
ブラザー工業株式会社
定着装置
24日前
ブラザー工業株式会社
定着装置
24日前
キヤノン株式会社
画像形成装置
2日前
キヤノン電子株式会社
絞り装置及び撮像装置
17日前
株式会社セガ
写真シール作成機
26日前
沖電気工業株式会社
画像形成装置
5日前
ニデックプレシジョン株式会社
カメラ装置
9日前
ニデックプレシジョン株式会社
カメラ装置
9日前
株式会社リコー
定着装置及び画像形成装置
15日前
ブラザー工業株式会社
画像形成装置
25日前
ブラザー工業株式会社
画像形成装置
24日前
キヤノン電子株式会社
光量調節装置および光学機器
17日前
キヤノン電子株式会社
羽根駆動装置、及び、光学機器
17日前
株式会社リコー
定着装置、及び、画像形成装置
5日前
沖電気工業株式会社
情報処理装置
2日前
続きを見る
他の特許を見る