TOP
|
特許
|
意匠
|
商標
特許ウォッチ
Twitter
他の特許を見る
10個以上の画像は省略されています。
公開番号
2025137090
公報種別
公開特許公報(A)
公開日
2025-09-19
出願番号
2024036088
出願日
2024-03-08
発明の名称
床付き布枠の掴み金具
出願人
日鉄建材株式会社
代理人
個人
主分類
E04G
7/28 20060101AFI20250911BHJP(建築物)
要約
【課題】作業者の作業性向上とともに安全性及び経済性の向上が図られた床付き布枠の掴み金具を提供する。
【解決手段】掴み金具1は、仮設足場を構成する横地に対して床付き布枠を着脱自在に取り付けるための床付き布枠の掴み金具1であって、下方に開放した嵌入凹部Dを有する扁平板状の金具本体部11と、金具本体部11の表面に突設された1以上の支持部114と、支持部114が遊嵌される長孔122と、側面視で上外郭が膨出又は凹出して形成された係り部123とを有し、長孔122の上端が支持部114により係止された施錠状態において、側面視で上外郭が金具本体部11の外周上部11uを超えない扁平板状の落下錠12と、を備えることを特徴とする。係り部123は、施錠状態において、側面視で外周上部11uに向かって膨出してもよい。
【選択図】図2
特許請求の範囲
【請求項1】
仮設足場を構成する横地に対して床付き布枠を着脱自在に取り付けるための床付き布枠の掴み金具であって、
下方に開放した嵌入凹部を有する扁平板状の金具本体部と、
前記金具本体部の表面に突設された1以上の支持部と、
前記支持部が遊嵌される長孔と、側面視で上外郭が膨出又は凹出して形成された係り部とを有し、前記長孔の上端が前記支持部により係止された施錠状態において、側面視で前記上外郭が前記金具本体部の外周上部を超えない扁平板状の落下錠と、
を備えること
を特徴とする床付き布枠の掴み金具。
続きを表示(約 340 文字)
【請求項2】
前記係り部は、前記施錠状態において、側面視で前記外周上部に向かって膨出していること
を特徴とする請求項1に記載の床付き布枠の掴み金具。
【請求項3】
前記係り部は、前記施錠状態において、側面視で前記支持部を挟んで前記嵌入凹部と反対側の領域に形成されること
を特徴とする請求項1又は2に記載の床付き布枠の掴み金具。
【請求項4】
前記係り部は、側面視で外郭の一部が窪んだ窪み部を有すること
を特徴とする請求項1又は2に記載の床付き布枠の掴み金具。
【請求項5】
前記窪み部は、側面視で前記長孔の延長方向に略平行に窪んでいること
を特徴とする請求項4に記載の床付き布枠の掴み金具。
発明の詳細な説明
【技術分野】
【0001】
この発明は、床付き布枠の掴み金具に関する。
続きを表示(約 2,800 文字)
【背景技術】
【0002】
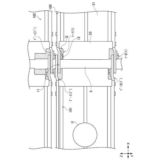
従来、建設現場等や土木現場等の工事現場における仮設足場として組み立てられる枠組み足場やくさび式足場等が知られている。これらの仮設足場は、支柱や横地を連結することによって構成され、横地間に床材(歩行面)が架設されている(特許文献1の図1等を参照)。床材として、例えば図11に示す従来の床付き布枠800が用いられる。従来の床付き布枠800は、例えば第1領域R1及び第2領域R2等の端部に突設され、仮設足場を構成する横地3に取り付けるための従来の掴み金具8と、歩行用の布板と一体の布枠21と、布枠21に固定される落下防止用の側板23と、からなる。また、従来の掴み金具8は、例えば図12(a)に示すように、横地3が嵌入される凹部が外周下部に形成された本体81と、本体81に付属して風の吹上り等で布枠21が不意に外れないようにするための落下錠を含む外れ防止片82と、を有する。外れ防止片82は、第1片本体部821に第1片案内溝822が形成され、その第1片案内溝822に本体81に固定された第1留め具814(814a、814b)が遊嵌されている。すなわち、外れ防止片82は、第1片案内溝822を介して第1留め具814を案内することにより、本体81の凹部を開閉する。これにより、従来の掴み金具8は、外れ防止片82の開閉動作により横地3に対して着脱自在とされる。また、例えば図11に示すように、隣接する他の布板上において作業者Uが従来の床付き布枠800を仮設足場から取り外す際、第1領域R1においては、例えば図12(b)に示すように、従来の掴み金具8の側面に手を差し入れて容易に外れ防止片82の第1片本体部821を引き上げながら布枠21を持ち上げて取り外すことができる。一方で、第2領域R2においては、例えば図12(c)に示すように、従来の掴み金具8と側板23と横地3との間の隙間Gが狭く第1片本体部821の側面に手を差し入れることができず、また外れ防止片82の上部が曲面形状であり作業者Uの指が引っ掛からず第1片本体部821を引き上げられないため、下段の他の布板上を作業位置として下方から布枠21を取り外す必要があるなど、作業性に問題があった。
【0003】
その対策として、例えば図13(a)~図13(b)に示すように、改良床付き布枠900が開発された。改良床付き布枠900は、改良掴み金具9と、布枠21と、側板23と、からなる。なお、図13(b)は、図13(a)のA-A断面図である。改良掴み金具9は、本体81に対応する改良掴み金具本体91と、落下錠であって上部が改良掴み金具本体91の外周上部91uに対して突出するように延長された延長部923を有する改良外れ防止片92と、からなる。なお、図13中の第2片本体部921は第1片本体部821に、第2片案内溝922は第1片案内溝822に、第2留め具914(914a、914b)は第1留め具814(814a、814b)に、第2片案内溝922は第1片案内溝822に、それぞれ対応する。すなわち、改良掴み金具9は、延長部923を介して改良外れ防止片92の開閉動作により横地3に対して着脱自在とされる。したがって、改良掴み金具9によれば、改良掴み金具9と側板23と横地3との間の隙間Gが狭く第2片本体部921の側面に手を差し入れることができない場合でも、隣接する他の布板上において作業者Uが布枠21を足場本体から取り外す際、延長部923を把持して引き上げる方法により布枠21を取り外すことができ、作業性の向上を図ることができる。特許文献1には、その一例として、延長部923が形成された改良外れ防止片92を備える改良掴み金具9に対応する把持連結金具が開示されている。
【先行技術文献】
【特許文献】
【0004】
特開平08-254015号公報
【発明の概要】
【発明が解決しようとする課題】
【0005】
しかしながら、改良掴み金具9によれば、改良外れ防止片92が閉位置(横地3に取り付けられた状態)においても延長部923が改良掴み金具本体91の外周上部91uから突出しているため、例えば図13(c)に示すように、作業者Uの靴の衝突により作業者Uが高所で転倒したり、改良外れ防止片92が破損したりするおそれがあり、安全性及び経済性の観点で問題がある。また、例えば図14(a)に示すように保管時に複数の改良床付き布枠900(900’、900’’)を垂直方向に積み重ねて収容する際、それぞれの第2片本体部921(921’、921’’)同士が相互に干渉したり、延長部923と上方の改良床付き布枠900’の外周下部91dとが相互に干渉したりするため、図14(b)に示すように上下に隣接するそれぞれの第2片本体部921(921’、921’’)をずらして積み重ねるように配置する必要がある。このため、広い収容スペースが必要となり、経済性の観点で問題がある。
【0006】
そこで本発明は、上述した問題点に鑑みて案出されたものであり、その目的とするところは、作業者の作業性向上とともに安全性及び経済性の向上が図られた床付き布枠の掴み金具を提供することにある。
【課題を解決するための手段】
【0007】
第1発明における床付き布枠の掴み金具は、仮設足場を構成する横地に対して床付き布枠を着脱自在に取り付けるための床付き布枠の掴み金具であって、下方に開放した嵌入凹部を有する扁平板状の金具本体部と、前記金具本体部の表面に突設された1以上の支持部と、前記支持部が遊嵌される長孔と、側面視で上外郭が膨出又は凹出して形成された係り部とを有し、前記長孔の上端が前記支持部により係止された施錠状態において、側面視で前記上外郭が前記金具本体部の外周上部を超えない扁平板状の落下錠と、を備えることを特徴とする。
【0008】
第2発明における床付き布枠の掴み金具は、第1発明において、前記係り部は、前記施錠状態において、側面視で前記外周上部に向かって膨出していることを特徴とする。
【0009】
第3発明における床付き布枠の掴み金具は、第1発明又は第2発明において、前記係り部は、前記施錠状態において、側面視で前記支持部を挟んで前記嵌入凹部と反対側の領域に形成されることを特徴とする。
【0010】
第4発明における床付き布枠の掴み金具は、第1発明又は第2発明において、前記係り部は、側面視で外郭の一部が窪んだ窪み部を有することを特徴とする。
(【0011】以降は省略されています)
この特許をJ-PlatPat(特許庁公式サイト)で参照する
関連特許
日鉄建材株式会社
屋根構造
1か月前
日鉄建材株式会社
金属管支柱
6日前
日鉄建材株式会社
外壁通気工法用ラス
今日
日鉄建材株式会社
屋根部材の接合構造
20日前
日鉄建材株式会社
屋根部材の接合構造
20日前
日鉄建材株式会社
デッキプレート構造
6日前
日鉄建材株式会社
床付き布枠の掴み金具
20日前
日鉄建材株式会社
鉄骨造の乾式屋根の設計方法
6日前
日鉄建材株式会社
モールドパウダーの製造方法
2日前
日鉄建材株式会社
解析システム、および解析方法
2日前
日鉄建材株式会社
屋根部材の接合構造の設計方法
20日前
日鉄建材株式会社
構造物用補強リング及び構造物
7日前
日鉄建材株式会社
砂防構造体のアンカーボルト保護構造
2日前
日鉄建材株式会社
スラリー及びモールドパウダーの製造方法
今日
日鉄建材株式会社
乾式屋根の設計システム、及び乾式屋根の設計方法
6日前
日鉄建材株式会社
排水パイプ、排水パイプ用端末材、及び擁壁排水構造
1か月前
日鉄建材株式会社
コルゲートセクションの接合構造及びコルゲート構造物
1か月前
日鉄建材株式会社
上下の柱部材の溶接接合構造および溶接接合工法ならびに上下の柱部材
21日前
日鉄建材株式会社
上下の柱部材の溶接接合構造および溶接接合工法ならびに上下の柱部材
21日前
日鉄建材株式会社
水平構面構造、水平構面構造の設計方法、および水平構面構造の施工方法
2か月前
東日本旅客鉄道株式会社
深礎基礎および深礎基礎の施工方法
7日前
鉄建建設株式会社
立坑の構築装置、及び立坑の構築方法
1か月前
鉄建建設株式会社
立坑の構築装置、及び立坑の構築方法
1か月前
個人
接合構造
3日前
個人
屋台
20日前
個人
タッチミー
2日前
個人
野良猫ハウス
1か月前
個人
フェンス
1か月前
個人
転落防止用手摺
1か月前
個人
筋交自動設定装置
10日前
個人
地下型マンション
3か月前
ニチハ株式会社
建築板
1か月前
個人
ベンリナアングル
2日前
個人
居住車両用駐車場
1か月前
積水樹脂株式会社
柵体
29日前
株式会社タナクロ
テント
3か月前
続きを見る
他の特許を見る