TOP
|
特許
|
意匠
|
商標
特許ウォッチ
Twitter
他の特許を見る
10個以上の画像は省略されています。
公開番号
2025144250
公報種別
公開特許公報(A)
公開日
2025-10-02
出願番号
2024043938
出願日
2024-03-19
発明の名称
建具および建具の改装方法
出願人
株式会社LIXIL
代理人
個人
,
個人
,
個人
主分類
E06B
1/56 20060101AFI20250925BHJP(戸,窓,シャッタまたはローラブラインド一般;はしご)
要約
【課題】新設の枠と既設の枠との隙間を遮蔽部材で覆うことができる建具および建具の改装方法を提供する。
【解決手段】躯体11に固定された既設枠21に取り付けられる新設枠31と、新設枠31および既設枠21のいずれか一方に取り付けられ、新設枠31と既設枠21との隙間を遮蔽する遮蔽部材48,58と、を有し、遮蔽部材48,58は、既設枠21および既設枠21のいずれか一方に取り付けられ屋内外方向の位置を調整可能である。
【選択図】図1
特許請求の範囲
【請求項1】
躯体に固定された既設枠に取り付けられる新設枠と、
前記新設枠および前記既設枠のいずれか一方に取り付けられ、前記新設枠と前記既設枠との隙間を遮蔽する遮蔽部材と、を有し、
前記遮蔽部材は、前記新設枠および前記既設枠のいずれか一方に取り付けられ屋内外方向の位置を調整可能である建具。
続きを表示(約 820 文字)
【請求項2】
前記遮蔽部材は、
前記新設枠に固定される固定部と、
前記固定部と接続され前記新設枠と前記既設枠との間を遮蔽するヒレ部と、を有し、
前記固定部は、前記新設枠に固定される屋内外方向の位置を調整可能である請求項1に記載の建具。
【請求項3】
前記ヒレ部は、複数設けられ、
複数の前記ヒレ部は、屋内外方向に重なっている請求項2に記載の建具。
【請求項4】
前記固定部と前記ヒレ部とは、一体に成形されている請求項2に記載の建具。
【請求項5】
前記固定部と前記ヒレ部とは、別部材である請求項2に記載の建具。
【請求項6】
前記ヒレ部は、前記新設枠に取り付けられ、前記躯体および前記既設枠のいずれか一方と接触する請求項2に記載の建具。
【請求項7】
前記遮蔽部材は、前記新設枠に沿って複数配列して設けられ、
配列される方向に隣り合う前記遮蔽部材それぞれの前記ヒレ部は、屋内外方向に重なっている請求項2に記載の建具。
【請求項8】
前記ヒレ部は、前記新設枠の縦枠と前記新設枠の横枠とが接続される前記新設枠の角部に沿ったL字形状に形成され、
隣り合う前記新設枠の角部に沿って設けられる前記ヒレ部は、前記新設枠の角部と離れた位置において屋内外方向に重なっている請求項7に記載の建具。
【請求項9】
前記新設枠の縦枠に取り付けられる前記遮蔽部材の固定部と、前記新設枠の横枠に取り付けられる前記遮蔽部材の固定部と、を前記縦枠と前記横枠とが接続される前記新設枠の角部において接続する接続部材を有する請求項2に記載の建具。
【請求項10】
前記遮蔽部材は、前記新設枠の全周に設けられている請求項1から9のいずれか一項に記載の建具。
(【請求項11】以降は省略されています)
発明の詳細な説明
【技術分野】
【0001】
本開示は、建具および建具の改装方法に関する。
続きを表示(約 1,800 文字)
【背景技術】
【0002】
従来、建物の建具を改装する際に、新設する建具の枠を既設の建具の枠の内側に設置している(例えば、特許文献1参照)。新設の枠には、既設の枠との隙間を覆うように遮蔽部材が設けられている。遮蔽部材が新設の枠と既設の枠との隙間を覆うことによって、新設の枠と既設の枠との隙間を介して屋外から屋内に雨水が入り込んだり、冷気が入り込んだりすることを防止できる。
【先行技術文献】
【特許文献】
【0003】
特開2015-124544号公報
【発明の概要】
【発明が解決しようとする課題】
【0004】
しかしながら、遮蔽部材は、新設の枠に固定されて位置調整ができないため、既設の枠の形状によっては、遮蔽部材が新設の枠と既設の枠との隙間を覆うことができないことがある。
【0005】
本開示は、新設の枠と既設の枠との隙間を遮蔽部材で覆うことができる建具および建具の改装方法を提供することを目的とする。
【課題を解決するための手段】
【0006】
上記目的を達成するため、本開示に係る建具は、躯体に固定された既設枠に取り付けられる新設枠と、前記新設枠および前記既設枠のいずれか一方に取り付けられ、前記新設枠と前記既設枠との隙間を遮蔽する遮蔽部材と、を有し、前記遮蔽部材は、前記新設枠および前記既設枠のいずれか一方に取り付けられ屋内外方向の位置を調整可能である。
【0007】
上記目的を達成するため、本開示に係る建具の改装方法は、躯体に固定された既設枠に新設枠を取り付け、前記新設枠および前記既設枠のいずれか一方に遮蔽部材を取り付け、前記遮蔽部材で前記新設枠と前記既設枠との間を遮蔽し、前記遮蔽部材を前記新設枠および前記既設枠のいずれか一方に屋内外方向の位置を調整して固定する。
【図面の簡単な説明】
【0008】
実施形態による建具の鉛直断面図である。
実施形態による建具の水平断面図である。
既設の建具の鉛直断面図である。
既設の建具の水平断面図である。
新設上枠の鉛直断面図である。
新設下枠の鉛直断面図である。
第1新設縦枠の水平断面図である。
新設枠と遮蔽部材を屋内側から見た図である。
新設枠の角部に設けられた遮蔽部材の斜視図である。
新設枠の角部に設けられた遮蔽部の固定部および接続部材の斜視図である。
接続部材の斜視図である。
接続部材の他の方向から見た斜視図である。
接続部材を屋外側から見た図である。
接続部材を第2溝部側から見た図である。
接続部材を第1溝部側から見た図である。
二色成形された接続部材を示す図である。
ヒレ部の別の形態を示す図である。
【発明を実施するための形態】
【0009】
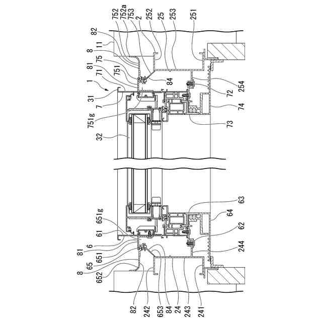
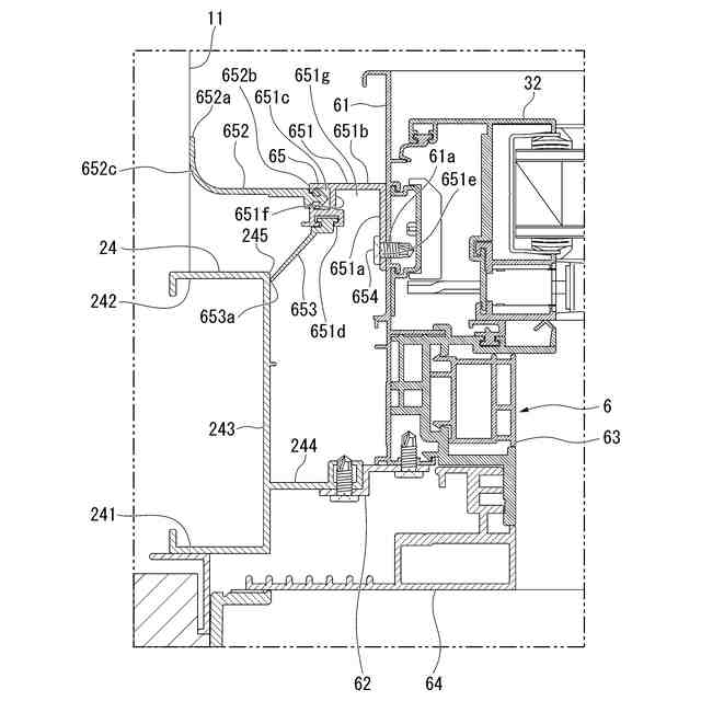
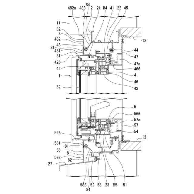
図1および図2に示すように、実施形態による建具1は、建物の躯体11に固定されている既設建具2の改修を行う際に新設される建具である。建具1は、横すべり出し窓である。新設される建具1は、枠31と、障子32と、遮蔽部材8と、を有する。枠31は、既設建具2の枠21の内側に設置される。新設される建具1の枠31を新設枠31と表記する。既設建具2の枠21を既設枠21と表記する。新設枠31は、既設枠21を覆うように設けられる。遮蔽部材8は、新設枠31に取り付けられ、新設枠31と既設枠21との隙間を遮蔽する。遮蔽部材8は、新設枠31と既設枠21との隙間から屋内側に雨水が入り込むことを防止する。既設建具2は、金属製のサッシである。新設される建具1は、金属と樹脂の複合サッシである。屋内と屋外とを結ぶ方向を屋内外方向と表記し、屋内外方向に直交する水平方向を幅方向と表記する。
【0010】
図3および図4に示すように、既設枠21は、既設上枠22、既設下枠23、一対の既設縦枠24,25と、を有する。既設上枠22および既設下枠23は、幅方向に延びている。既設上枠22および既設下枠23は、それぞれ上下方向全体にわたって略同じ断面形状である。一対の既設縦枠24,25は、上下方向に延びている。一対の既設縦枠24,25は、それぞれ幅方向全体にわたって略同じ断面形状である。
(【0011】以降は省略されています)
この特許をJ-PlatPat(特許庁公式サイト)で参照する
関連特許
株式会社LIXIL
建具
4日前
株式会社LIXIL
建具
3日前
株式会社LIXIL
建具
4日前
株式会社LIXIL
建具
4日前
株式会社LIXIL
建具
4日前
株式会社LIXIL
建具
4日前
株式会社LIXIL
建具
4日前
株式会社LIXIL
便器装置
5日前
株式会社LIXIL
日除けシート
7日前
株式会社LIXIL
宅配ボックス
4日前
株式会社LIXIL
汚物処理装置
3日前
株式会社LIXIL
洗浄水タンク装置
3日前
株式会社LIXIL
可燃性ガス回収装置
3日前
株式会社LIXIL
窓用ステー及び開き窓
4日前
株式会社LIXIL
窓用ステー及び開き窓
4日前
株式会社LIXIL
建具および建具の改装方法
4日前
株式会社LIXIL
建具および建具の改装方法
3日前
株式会社LIXIL
建具および建具の改装方法
3日前
株式会社LIXIL
建具および建具の改装方法
3日前
株式会社LIXIL
建具および建具の改装方法
4日前
株式会社LIXIL
トイレ装置及びトイレシステム
3日前
株式会社LIXIL
障子、建具、及び障子の施工方法
4日前
株式会社LIXIL
床タイル及び床タイルの製造方法
4日前
株式会社LIXIL
障子、建具、及び障子の施工方法
4日前
株式会社LIXIL
シャワーヘッド装置及び浴室ユニット
5日前
株式会社LIXIL
宅配ボックス及び宅配ボックスの設置方法
4日前
株式会社LIXIL
トイレ装置、トイレシステム及び排卵推測装置
3日前
株式会社LIXIL
太陽光発電給電シート、建物およびペリカバー
3日前
株式会社LIXIL
駆逐装置、駆逐システム、駆逐方法および駆逐プログラム
3日前
株式会社LIXIL
洗浄ハンドルユニット、洗浄タンクユニット及び便器装置
4日前
株式会社LIXIL
改装サッシ
3日前
株式会社LIXIL
汚水処理装置、汚水処理システム、および汚水処理システムの施工方法
3日前
株式会社LIXIL
ホームシステム、サーバ、オーナー認証方法およびオーナー認証プログラム
3日前
株式会社LIXIL
ホームシステム、サーバ、ユーザ登録初期化方法およびユーザ登録初期化プログラム
3日前
株式会社LIXIL
情報処理装置、情報処理システム、ユーザ端末、情報処理方法、および情報処理プログラム
4日前
株式会社ナカオ
作業台
26日前
続きを見る
他の特許を見る