TOP
|
特許
|
意匠
|
商標
特許ウォッチ
Twitter
他の特許を見る
10個以上の画像は省略されています。
公開番号
2025143950
公報種別
公開特許公報(A)
公開日
2025-10-02
出願番号
2024043479
出願日
2024-03-19
発明の名称
洗浄ハンドルユニット、洗浄タンクユニット及び便器装置
出願人
株式会社LIXIL
代理人
弁理士法人 快友国際特許事務所
主分類
E03D
5/092 20060101AFI20250925BHJP(上水;下水)
要約
【課題】ハンドルの回転と洗浄タンクに配置される軸部材の回転とをずらすことができる技術を提供する。
【解決手段】洗浄ハンドルユニットは、便器装置の洗浄タンクの排水口に配置される栓部材を動作させ、前記洗浄タンク側に配置され、前記栓部材に連結される洗浄タンク側軸部材と、前記洗浄タンク側軸部材に連結されるハンドル側軸部材と、前記ハンドル側軸部材に取り付けられるハンドルと、を備え、前記ハンドル側軸部材は、前記洗浄タンク側軸部材に対して、前記洗浄タンク側軸部材と一体で回転する通常位置と、前記洗浄タンク側軸部材に対して回転可能な回転位置と、の間で移動してもよい。
【選択図】図8
特許請求の範囲
【請求項1】
便器装置の洗浄タンクの排水口に配置される栓部材を動作させる洗浄ハンドルユニットであって、
前記洗浄タンク側に配置され、前記栓部材に連結される洗浄タンク側軸部材と、
前記洗浄タンク側軸部材に連結されるハンドル側軸部材と、
前記ハンドル側軸部材に取り付けられるハンドルと、を備え、
前記ハンドル側軸部材は、前記洗浄タンク側軸部材に対して、前記洗浄タンク側軸部材と一体で回転する通常位置と、前記洗浄タンク側軸部材に対して回転可能な回転位置と、の間で移動する、洗浄ハンドルユニット。
続きを表示(約 1,300 文字)
【請求項2】
前記洗浄タンク側軸部材が所定位置を越えて回転することを規制する規制部材をさらに備え、
前記ハンドル側軸部材は、前記通常位置から前記回転位置に移動することによって、前記所定位置を越えて回転可能である、請求項1に記載の洗浄ハンドルユニット。
【請求項3】
前記規制部材は、前記洗浄タンク側軸部材が前記所定位置に回転される場合に前記洗浄タンク側軸部材に接触する、請求項2に記載の洗浄ハンドルユニット。
【請求項4】
前記ハンドル側軸部材は、
前記洗浄タンクと前記ハンドルとの間で直線状に延びるハンドル軸部と、
前記ハンドル軸部から前記ハンドル軸部の周方向の外側に突出する突出部と、を備え、
前記洗浄タンク側軸部材は、
前記ハンドル軸部と同一軸上に配置される洗浄タンク側軸部と、
前記突出部が嵌まり込む第1凹部と、
前記突出部を前記ハンドル軸部を中心に所定角度だけ回転可能に収容する第2凹部と、を備え、
前記通常位置では、前記突出部が前記第1凹部に嵌まり込み、
前記回転位置では、前記突出部が前記第2凹部に収容される、請求項1から3のいずれか一項に記載の洗浄ハンドルユニット。
【請求項5】
前記第1凹部は、前記第2凹部と前記ハンドル軸部の軸方向に沿って隣接して配置され、
前記ハンドル側軸部材は、前記洗浄タンク側軸部材に対して、前記ハンドル軸部の前記軸方向に沿って移動することによって、前記通常位置と前記回転位置との間で移動する、請求項4に記載の洗浄ハンドルユニット。
【請求項6】
前記ハンドル側軸部材が前記洗浄タンク側軸部材に対して回転されるロック位置で、前記ハンドル側軸部材の回転をロックするロック部をさらに備える、請求項1から3のいずれか一項に記載の洗浄ハンドルユニット。
【請求項7】
前記ロック部は、
前記洗浄タンクに対して固定される固定部材と、
前記ハンドルに配置されており、前記ハンドル側軸部材が前記ロック位置にある状態で、前記固定部材に接触する接触部材と、を備える、請求項6に記載の洗浄ハンドルユニット。
【請求項8】
前記固定部材は、溝形状を有し、
前記接触部材は、前記溝形状に嵌まり込む凸形状を有し、
前記凸形状は、
前記通常位置において、前記溝形状の外側に位置しており、
前記回転位置において、前記溝形状の内側に位置している、請求項7に記載の洗浄ハンドルユニット。
【請求項9】
洗浄タンクと、
前記洗浄タンクの排水口に配置される栓部材と、
前記栓部材を動作させる請求項1から3のいずれか一項に記載の洗浄ハンドルユニットと、を備える、洗浄タンクユニット。
【請求項10】
洗浄タンクと、
前記洗浄タンクの排水口に配置される栓部材と、
前記栓部材を動作させる請求項1から3のいずれか一項に記載の洗浄ハンドルユニットと、
前記排水口に連通する便器と、を備える、便器装置。
発明の詳細な説明
【技術分野】
【0001】
本明細書が開示する技術は、洗浄ハンドルユニット、洗浄タンクユニット及び便器装置に関する。
続きを表示(約 1,700 文字)
【背景技術】
【0002】
特許文献1には、洗浄タンクに配置される開閉機構を動作させることによって、洗浄タンクに貯留される洗浄水を、便器に供給する技術が開示されている。洗浄タンクには、排水口が配置されている。排水口は、栓部材で閉塞されている。ユーザがハンドルを操作することによって、栓部材が引き上げられる。これにより、排水口が開かれる。
【先行技術文献】
【特許文献】
【0003】
特開2012-132142号公報
【発明の概要】
【発明が解決しようとする課題】
【0004】
上記の技術では、ハンドルは、栓部材を動作させる出力軸に固定されている。この構成では、ハンドルの出力軸回りの回転と出力軸の回転とが一致する。
【0005】
本明細書では、ハンドルの回転と洗浄タンクに配置される軸部材の回転とをずらすことができる技術を提供する。
【課題を解決するための手段】
【0006】
本明細書で開示の技術は、洗浄ハンドルユニットに関する。洗浄ハンドルユニットは、便器装置の洗浄タンクの排水口に配置される栓部材を動作させ、前記洗浄タンク側に配置され、前記栓部材に連結される洗浄タンク側軸部材と、前記洗浄タンク側軸部材に連結されるハンドル側軸部材と、前記ハンドル側軸部材に取り付けられるハンドルと、を備え、前記ハンドル側軸部材は、前記洗浄タンク側軸部材に対して、前記洗浄タンク側軸部材と一体で回転する通常位置と、前記洗浄タンク側軸部材に対して回転可能な回転位置と、の間で移動してもよい。
【0007】
本明細書で開示の他の技術は、洗浄タンクユニットに関する。洗浄タンクユニットは、洗浄タンクと、前記洗浄タンクの排水口に配置される栓部材と、前記栓部材を動作させる上記の洗浄ハンドルユニットと、を備えていてもよい。
【0008】
本明細書で開示のさらに他の技術は、便器装置に関する。便器装置は、洗浄タンクと、前記洗浄タンクの排水口に配置される栓部材と、前記栓部材を動作させる上記の洗浄ハンドルユニットと、前記排水口に連通する便器と、を備えていてもよい。
【図面の簡単な説明】
【0009】
本実施形態の便器装置の斜視図を示す。
本実施形態の洗浄タンクユニットの概略構成を表す斜視図を示す。
本実施形態の洗浄ハンドルユニットの斜視図を示す。
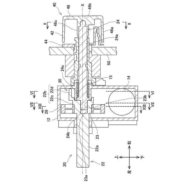
本実施形態の出力軸ユニット回りの縦断面図を示す。
本実施形態の2個の軸部材の斜視図を示す。
図4のVI-VI断面の断面図を示す。
本実施形態の連結部の拡大斜視図を示す。
図4のVIII-VIII断面における連結部と挿入部との断面図を示す。
本実施形態の挿入部の拡大斜視図を示す。
図4のX-X断面の断面図であって、ハンドルがロックされている状態を示す。
本実施形態のロック部の拡大斜視図を示す。
変形例の図4のXIII-XIII断面における連結部と挿入部との断面図を示す。
変形例の図4のVIII-VIII断面における連結部と挿入部との断面図を示す。
変形例の図4のXIII-XIII断面における連結部と挿入部との断面図を示す。
変形例の図4のVIII-VIII断面における連結部と挿入部との断面図を示す。
【発明を実施するための形態】
【0010】
(便器装置の構成)
図1に示すように、便器装置2は、便器4と、洗浄タンクユニット6と、を備える。便器4は、排泄物を受け入れる便器本体8と、便器本体8上に配置される便座9と、を備える。便器4は、ユーザが便座9に座っている状態で使用可能な水洗式便器である。便器4の構成は特に限定されない。便座9を覆う便蓋が配置されていてもよい。便器4は、ユーザが立っている状態で使用可能な便器であってもよい。便器4は、オストメイト装置であってもよい。
(【0011】以降は省略されています)
この特許をJ-PlatPat(特許庁公式サイト)で参照する
関連特許
株式会社LIXIL
建具
4日前
株式会社LIXIL
建具
3日前
株式会社LIXIL
建具
17日前
株式会社LIXIL
建具
17日前
株式会社LIXIL
建具
7日前
株式会社LIXIL
建具
7日前
株式会社LIXIL
建具
4日前
株式会社LIXIL
建具
4日前
株式会社LIXIL
建具
4日前
株式会社LIXIL
建具
17日前
株式会社LIXIL
建具
4日前
株式会社LIXIL
建具
4日前
株式会社LIXIL
建具
17日前
株式会社LIXIL
便器装置
5日前
株式会社LIXIL
汚物処理装置
3日前
株式会社LIXIL
日除けシート
7日前
株式会社LIXIL
宅配ボックス
4日前
株式会社LIXIL
太陽電池ガラス
7日前
株式会社LIXIL
洗浄水タンク装置
3日前
株式会社LIXIL
可燃性ガス回収装置
3日前
株式会社LIXIL
窓用ステー及び開き窓
4日前
株式会社LIXIL
窓用ステー及び開き窓
4日前
株式会社LIXIL
建具及び建具の改修方法
18日前
株式会社LIXIL
建具および建具の改装方法
3日前
株式会社LIXIL
建具および建具の改装方法
3日前
株式会社LIXIL
建具および建具の改装方法
3日前
株式会社LIXIL
建具および建具の改装方法
4日前
株式会社LIXIL
建具および建具の改装方法
4日前
株式会社LIXIL
改装建具及び建具の防火構造
11日前
株式会社LIXIL
トイレ装置及びトイレシステム
3日前
株式会社LIXIL
床タイル及び床タイルの製造方法
4日前
株式会社LIXIL
障子、建具、及び障子の施工方法
4日前
株式会社LIXIL
障子、建具、及び障子の施工方法
4日前
株式会社LIXIL
シャワーヘッド装置及び浴室ユニット
5日前
株式会社LIXIL
宅配ボックス及び宅配ボックスの設置方法
4日前
株式会社LIXIL
熱処理木材の漂白方法および木材の処理方法
17日前
続きを見る
他の特許を見る