TOP
|
特許
|
意匠
|
商標
特許ウォッチ
Twitter
他の特許を見る
10個以上の画像は省略されています。
公開番号
2025144260
公報種別
公開特許公報(A)
公開日
2025-10-02
出願番号
2024043951
出願日
2024-03-19
発明の名称
建具および建具の改装方法
出願人
株式会社LIXIL
代理人
個人
,
個人
,
個人
主分類
E06B
1/18 20060101AFI20250925BHJP(戸,窓,シャッタまたはローラブラインド一般;はしご)
要約
【課題】断熱性能を向上できる建具および建具の改装方法を提供する。
【解決手段】躯体11に固定された金属製の既設枠21に固定される新設枠31を有し、新設上枠4は、屋外側に設けられる金属製の屋外側部材42と、屋内側に設けられる金属製の屋内側部材41と、屋外側部材42と屋内側部材41との間に設けられ屋外側部材42と屋内側部材41とを連結する樹脂製のブリッジ材43と、を有し、ブリッジ材43は、既設枠21の屋外側端部よりも屋内側に配置される。
【選択図】図5
特許請求の範囲
【請求項1】
躯体に固定された金属製の既設枠に固定される新設枠を有し、
前記新設枠は、
屋外側に設けられる金属製の屋外側部材と、
屋内側に設けられる金属製の屋内側部材と、
前記屋外側部材と前記屋内側部材との間に設けられ前記屋外側部材と前記屋内側部材とを連結する樹脂製のブリッジ材と、を有し、
前記ブリッジ材は、前記既設枠の屋外側端部よりも屋内側に配置される建具。
続きを表示(約 670 文字)
【請求項2】
前記新設枠は、前記既設枠に固定される固定部の内側となる位置に固定部内側中空部が形成されている請求項1に記載の建具。
【請求項3】
前記新設枠は、前記固定部内側中空部と屋内外方向に重なる位置に複数の屋内外方向中空部が形成されている請求項2に記載の建具。
【請求項4】
前記新設枠の屋内側に設けられる額縁を有し、
前記額縁には、前記固定部内側中空部の屋内側に重なる位置に額縁中空部が形成されている請求項2または3に記載の建具。
【請求項5】
前記新設枠に取り付けられ、前記新設枠と前記既設枠との間の空間を屋内側と屋外側とに区画する遮蔽部材を有し、
前記遮蔽部材は、前記既設枠の屋外側端部の近傍位置に配置される請求項1に記載の建具。
【請求項6】
躯体に固定された金属製の既設枠の内側に新設枠を配置し、
前記新設枠を前記既設枠に固定し、
前記新設枠の屋内側に額縁を取り付け、
前記新設枠は、
屋外側に設けられる金属製の屋外側部材と、
屋内側に設けられる金属製の屋内側部材と、
前記屋外側部材と前記屋内側部材との間に設けられ前記屋外側部材と前記屋内側部材とを連結する樹脂製のブリッジ材と、
前記屋内側部材を屋内側から前記既設枠に固定する屋内側固定部材と、を有し、
前記ブリッジ材が前記既設枠の屋外側端部よりも屋内側に配置されるように前記新設枠を前記既設枠の内側に配置する建具の改装方法。
発明の詳細な説明
【技術分野】
【0001】
本開示は、建具および建具の改装方法に関する。
続きを表示(約 1,800 文字)
【背景技術】
【0002】
従来、建物の建具を改装する際に、新設する建具の枠を既設の建具の枠の内側に設置し、建物の躯体に固定している。新設する建具には、アルミなどの金属と樹脂との複合サッシが用いられる。このような場合、建具の断熱性能を高めるために、屋内側に設けられる金属製の部材と屋外側に設けられる金属製の部材とを樹脂製のブリッジ材で連結している(例えば、特許文献1参照)。
【先行技術文献】
【特許文献】
【0003】
特開2023-080312号公報
【発明の概要】
【発明が解決しようとする課題】
【0004】
既設の枠の内側に新設の枠を設置する場合、既設の枠や躯体から新設の枠に冷気が伝達することがある。このため、改装用の建具における断熱性の向上が望まれている。
【0005】
本開示は、断熱性能を向上できる建具および建具の改装方法を提供することを目的とする。
【課題を解決するための手段】
【0006】
上記目的を達成するため、本開示に係る建具は、躯体に固定された金属製の既設枠に固定される新設枠を有し、前記新設枠は、屋外側に設けられる金属製の屋外側部材と、屋内側に設けられる金属製の屋内側部材と、前記屋外側部材と前記屋内側部材との間に設けられ前記屋外側部材と前記屋内側部材とを連結する樹脂製のブリッジ材と、を有し、前記ブリッジ材は、前記既設枠の屋外側端部よりも屋内側に配置される。
【0007】
上記目的を達成するため、本開示に係る建具の改装方法は、躯体に固定された金属製の既設枠の内側に新設枠を配置し、前記新設枠を前記既設枠に固定し、前記新設枠の屋内側に額縁を取り付け、前記新設枠は、屋外側に設けられる金属製の屋外側部材と、屋内側に設けられる金属製の屋内側部材と、前記屋外側部材と前記屋内側部材との間に設けられ前記屋外側部材と前記屋内側部材とを連結する樹脂製のブリッジ材と、前記屋内側部材を屋内側から前記既設枠に固定する屋内側固定部材と、を有し、前記ブリッジ材が前記既設枠の屋外側端部よりも屋内側に配置されるように前記新設枠を前記既設枠の内側に配置する。
【図面の簡単な説明】
【0008】
第1実施形態による建具の鉛直断面図である。
第1実施形態による建具の水平断面図である。
既設の建具の鉛直断面図である。
既設の建具の水平断面図である。
第1実施形態の新設上枠の鉛直断面図である。
第1実施形態の新設下枠の鉛直断面図である。
第1実施形態の第1新設縦枠の水平断面図である。
第2実施形態の新設上枠の鉛直断面図である。
第2実施形態の新設下枠の鉛直断面図である。
第2実施形態の第1新設縦枠の水平断面図である。
第3実施形態の新設上枠の鉛直断面図である。
第4実施形態の新設上枠の鉛直断面図である。
【発明を実施するための形態】
【0009】
(第1実施形態)
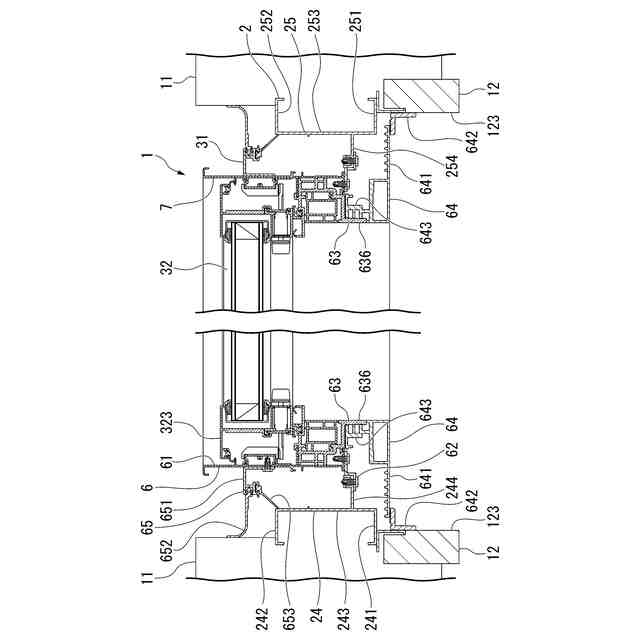
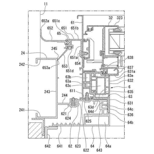
図1および図2に示すように、第1実施形態による建具1は、建物の躯体11に固定されている既設建具2の改装を行う際に新設される建具である。建具1は、横すべり出し窓である。建具1は、枠31と、障子32と、を有する。枠31は、既設枠21の内側に設置される。枠31は、既設枠21を覆うように設けられる。新設される建具1の枠31を新設枠31と表記する。既設建具2は、金属製のサッシである。新設される建具1は、金属と樹脂の複合サッシである。屋内と屋外とを結ぶ方向を屋内外方向と表記し、屋内外方向に直交する水平方向を幅方向と表記する。
【0010】
図3および図4に示すように、既設枠21は、既設上枠22、既設下枠23、一対の既設縦枠24,25と、を有する。既設上枠22および既設下枠23は、幅方向に延びている。既設上枠22および既設下枠23は、それぞれ上下方向全体にわたって略同じ断面形状である。一対の既設縦枠24,25は、上下方向に延びている。一対の既設縦枠24,25は、それぞれ幅方向全体にわたって略同じ断面形状である。
(【0011】以降は省略されています)
この特許をJ-PlatPat(特許庁公式サイト)で参照する
関連特許
株式会社LIXIL
建具
6日前
株式会社LIXIL
建具
5日前
株式会社LIXIL
建具
6日前
株式会社LIXIL
建具
6日前
株式会社LIXIL
建具
6日前
株式会社LIXIL
建具
6日前
株式会社LIXIL
建具
6日前
株式会社LIXIL
便器装置
7日前
株式会社LIXIL
シリンダ錠
1日前
株式会社LIXIL
宅配ボックス
6日前
株式会社LIXIL
汚物処理装置
5日前
株式会社LIXIL
日除けシート
9日前
株式会社LIXIL
洗浄水タンク装置
5日前
株式会社LIXIL
可燃性ガス回収装置
5日前
株式会社LIXIL
窓用ステー及び開き窓
6日前
株式会社LIXIL
窓用ステー及び開き窓
6日前
株式会社LIXIL
建具および建具の改装方法
5日前
株式会社LIXIL
建具および建具の改装方法
6日前
株式会社LIXIL
建具および建具の改装方法
6日前
株式会社LIXIL
建具および建具の改装方法
5日前
株式会社LIXIL
建具および建具の改装方法
5日前
株式会社LIXIL
シリンダ錠及び建物設備機器群
1日前
株式会社LIXIL
トイレ装置及びトイレシステム
5日前
株式会社LIXIL
障子、建具、及び障子の施工方法
6日前
株式会社LIXIL
床タイル及び床タイルの製造方法
6日前
株式会社LIXIL
障子、建具、及び障子の施工方法
6日前
株式会社LIXIL
シャワーヘッド装置及び浴室ユニット
7日前
株式会社LIXIL
宅配ボックス及び宅配ボックスの設置方法
6日前
株式会社LIXIL
太陽光発電給電シート、建物およびペリカバー
5日前
株式会社LIXIL
トイレ装置、トイレシステム及び排卵推測装置
5日前
株式会社LIXIL
駆逐装置、駆逐システム、駆逐方法および駆逐プログラム
5日前
株式会社LIXIL
洗浄ハンドルユニット、洗浄タンクユニット及び便器装置
6日前
株式会社LIXIL
改装サッシ
5日前
株式会社LIXIL
表示制御装置、表示制御システム、プログラム及び表示制御方法
1日前
株式会社LIXIL
汚水処理装置、汚水処理システム、および汚水処理システムの施工方法
5日前
株式会社LIXIL
ホームシステム、サーバ、オーナー認証方法およびオーナー認証プログラム
5日前
続きを見る
他の特許を見る