TOP
|
特許
|
意匠
|
商標
特許ウォッチ
Twitter
他の特許を見る
10個以上の画像は省略されています。
公開番号
2025144365
公報種別
公開特許公報(A)
公開日
2025-10-02
出願番号
2024044109
出願日
2024-03-19
発明の名称
移動体管理システムおよび移動体管理方法
出願人
キヤノン株式会社
代理人
個人
,
個人
,
個人
主分類
G08G
1/00 20060101AFI20250925BHJP(信号)
要約
【課題】移動体の情報を分割領域で管理するシステムで、必要な処理の負荷を少なくし、分割領域間での受け渡される通信容量を低減させ、計算の負荷を少なくする。
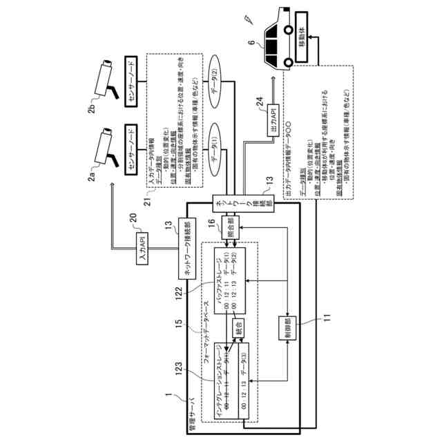
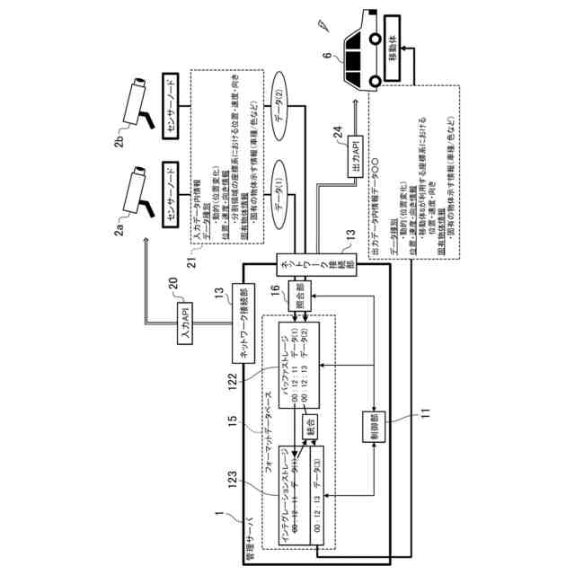
【解決手段】移動体管理システムは、移動体の状態と時間に関する情報である空間情報を管理する管理サーバと、固有物体情報を含む空間情報を検出するセンサーノードとを備える。センサーノードは、移動体を検出して、空間情報に含まれる位置情報を管理サーバの管理する分割領域の座標系に対応するように変換して、空間情報を管理サーバに送信する。管理サーバは、バッファストレージに受信した空間情報を格納し、バッファストレージに格納された空間情報に含まれる固有物体情報によりその空間情報に関する移動体が同一であるか否かを照合し、同一であるとされたときに、同一の移動体に関する空間情報を統合して、インテグレーションストレージに格納する。
【選択図】 図9
特許請求の範囲
【請求項1】
空間内を移動する移動体の情報を管理する移動体管理システムであって、
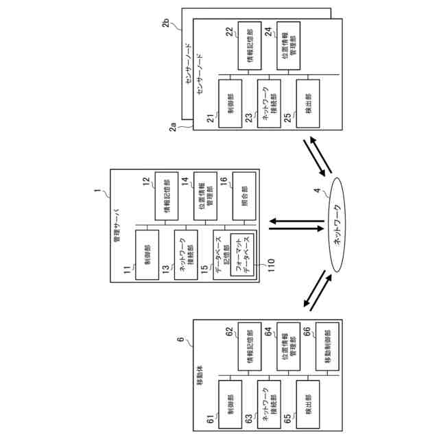
前記移動体の状態と時間に関する情報である空間情報を管理する管理サーバと、
ネットワークを介して接続され、移動体の固有物体情報を含む空間情報を検出するセンサーノードとを備え、
前記管理サーバは、
外部から取得した空間情報を一時的にため込む記憶領域であるバッファストレージと、
前記バッファストレージに格納されたデータを統合して格納する記憶領域であるインテグレーションストレージと、
画像認識により物体の同一性を照合する照合部とを有し、
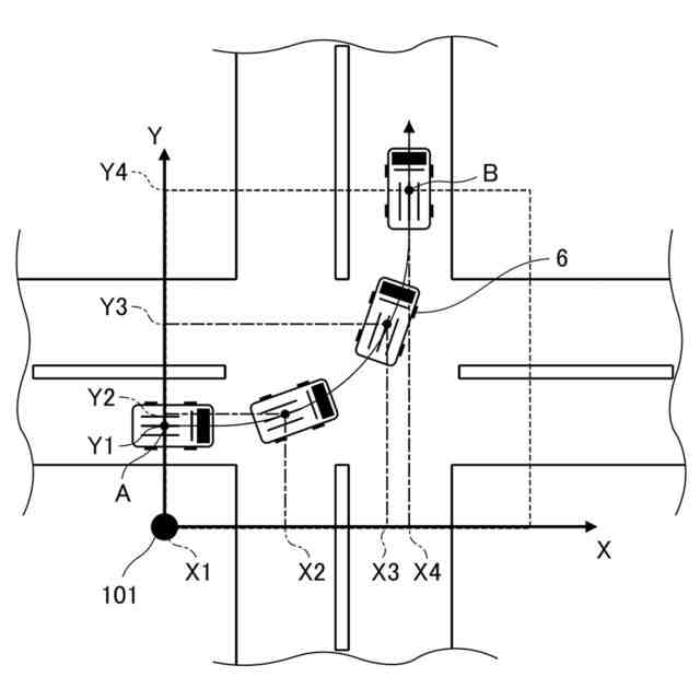
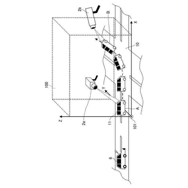
前記管理サーバは、前記空間に対して所定の領域を所定の位置を起点として分割した分割領域に一意的な識別子である固有識別子を付与することにより、各々の分割領域を識別し、
前記センサーノードは、前記移動体に関する前記空間情報を検出して、前記空間情報に含まれる位置情報を前記管理サーバと前記センサーノード間の入力API(Application Interface)の規定により前記管理サーバの管理する分割領域の座標系に対応するように位置情報を変換して、前記空間情報を前記管理サーバに送信し、
前記管理サーバは、前記センサーノードから前記空間情報を受信したときに、前記バッファストレージに受信した空間情報を格納し、
前記管理サーバの前記照合部は、前記バッファストレージに格納された空間情報に含まれる固有物体情報によりその空間情報に関する移動体が同一であるか否かを照合し、同一であるとされたときに、同一の移動体に関する空間情報を統合して、前記インテグレーションストレージに格納することを特徴とする移動体管理システム。
続きを表示(約 2,300 文字)
【請求項2】
前記空間情報は、データ種別、移動体の位置情報、移動体の速度情報、移動体の移動の向きの情報、移動体の固有物体情報を含むことを特徴とする請求項1記載の情報管理システム。
【請求項3】
前記管理サーバは、前記バッファストレージに格納された空間情報を、同一の移動体に関する空間情報を統合して、前記インテグレーションストレージに格納するときに、最新の時間情報を有する空間情報を前記インテグレーションストレージに格納することを特徴とする請求項1記載の移動体管理システム。
【請求項4】
前記管理サーバは、格納された前記移動体に関する前記空間情報に含まれる位置情報を前記管理サーバと前記移動体の出力APIの規定により前記移動体の分割領域の座標系に対応するように位置情報を変換して、前記空間情報を前記移動体に送信することを特徴とする請求項1記載の移動体管理システム。
【請求項5】
空間内を移動する移動体の状態と時間に関する情報である空間情報を、前記空間に対して所定の領域を所定の位置を起点として分割した分割領域に一意的な識別子である固有識別子を付与することにより、各々の分割領域を識別して管理する移動体管理システムであって、
第一の分割領域の空間情報を管理する第一の管理サーバと、
第二の分割領域の空間情報を管理する第二の管理サーバと、
前記第一の管理サーバにネットワークを介して接続され、移動体の固有物体情報を含む第一の分割領域の空間情報を検出する第一のセンサーノードと、
前記第二の管理サーバにネットワークを介して接続され、移動体の固有物体情報を含む第二の分割領域の空間情報を検出する第二のセンサーノードとを備え、
前記第一の管理サーバと前記第二の管理サーバは、画像認識により物体の同一性を照合する照合部を有し、
前記第一のセンサーノードは、前記移動体に関する前記空間情報を検出して、前記空間情報に含まれる位置情報を前記第一の管理サーバと前記第一のセンサーノード間の入力API(Application Interface)の規定により前記第一の管理サーバの管理する分割領域の座標系に対応するように位置情報を変換して、前記空間情報を前記第一の管理サーバに送信し、
前記第二のセンサーノードは、前記移動体に関する前記空間情報を検出して、前記空間情報に含まれる位置情報を前記第二の管理サーバと前記第二のセンサーノード間の入力APIの規定により前記第二の管理サーバの管理する分割領域の座標系に対応するように位置情報を変換して、前記空間情報を前記第二の管理サーバに送信し、
前記第一の管理サーバは、第一のセンサーノードから受信した空間情報に基づいて、対象とする移動体が、前記第二の分割領域に進入する位置と時間を算出し、前記移動体の固有物体情報と、算出した前記移動体の前記第二の分割領域に進入する位置と時間を送信することを特徴とする移動体管理システム。
【請求項6】
前記空間情報は、データ種別、移動体の位置情報、移動体の速度情報、移動体の移動の向きの情報、移動体の固有物体情報を含むことを特徴とする請求項5記載の情報管理システム。
【請求項7】
前記管理サーバの前記照合部は、前記バッファストレージに格納された空間情報に含まれる固有物体情報によりその空間情報に関する移動体が同一であるか否かを照合し、同一であるとされたときに、同一の移動体に関する空間情報を統合して、前記インテグレーションストレージに格納することを特徴とする請求項6記載の移動体管理システム。
【請求項8】
前記第一の管理サーバと前記第二の管理サーバは、前記バッファストレージに格納された空間情報を、同一の移動体に関する空間情報を統合して、前記インテグレーションストレージに格納するときに、最新の時間情報を有する空間情報を前記インテグレーションストレージに格納することを特徴とする請求項7記載の移動体管理システム。
【請求項9】
前記第一の管理サーバと前記第二の管理サーバは、過去の空間情報を保管するヒストリーストレージを有し、前記ヒストリーストレージに保管される空間情報は、移動体の固有物体情報を含むことを特徴とする請求項8記載の移動体管理システム。
【請求項10】
前記第二の管理サーバは、
前記第一の管理サーバから前記移動体の固有物体情報と、前記移動体の前記第二の分割領域に進入する位置と時間を受信したときに、前記ヒストリーストレージに、前記移動体の固有物体情報と、前記移動体の前記第二の分割領域に進入する位置と時間を関連付けて格納し、
前記第二のセンサーノードから前記移動体に関する前記空間情報を受信して、前記バッファストレージに格納し、
前記バッファストレージに格納された空間情報の固有物体情報と、前記ヒストリーストレージに格納された前記移動体の固有物体情報を照合し、前記バッファストレージに格納された空間情報の固有物体情報と前記ヒストリーストレージに格納された前記移動体の固有物体情報が一致または類似すると判定したときに、前記バッファストレージに格納された空間情報の固有物体情報を前記ヒストリーストレージに格納された前記移動体の固有物体情報に基づいて更新し、
前記バッファストレージに格納された空間情報を前記インテグレーションストレージに格納することを特徴とする請求項8記載の移動体管理システム。
(【請求項11】以降は省略されています)
発明の詳細な説明
【技術分野】
【0001】
本発明は、移動体管理システムおよび移動体管理方法に係り、特に、自動運転のため外部サーバを利用するシステムで、移動体と外部サーバの通信容量を低減させ、自動運転に関する計算の負荷を少なくするのに好適なシステムおよび方法に関する。
続きを表示(約 2,300 文字)
【背景技術】
【0002】
近年、世界では自律走行モビリティシステムや空間認識システムなどの技術革新に伴い、異なる組織や社会の構成員の間でデータやシステムをつなぐ全体像(以下、「デジタルアーキテクチャ」という)の開発が急務となっている。
【0003】
このようなデジタルアーキテクチャを活用することにより、自律移動モビリティシステムや空間認識システムは、より多くの情報を取得することができるようになる。それとともに、外部デバイスおよびシステムと連携してより大きな課題を解決することができるようになる。これを実現するデジタルアーキテクチャには、現実空間とデジタル情報を結び付け、物体の状態と時間に関する情報を管理する技術と、物体の状態と時間に関する情報の変化(移動など)に伴う情報の更新を行う技術が必要である。
【0004】
従来から、現実空間とデジタル情報を結び付ける技術としては、例えば、特許文献1に記載がある。特許文献1の時空間データ管理システムでは、ユーザーの提供する時空間管理データに従って単一のプロセッサーが時空間領域を時間及び空間で分割して、複数の時空間分割領域を生成している。また、時空間分割領域の時間及び空間の近傍性を考慮して、複数の時空間分割領域の各々を一意に識別するための、一次元の整数値で表現される識別子を割り当てている。そして、その識別子が近い時空間分割領域のデータが記憶装置上で近くに配置されるように、時系列データの配置を決定する時空間データ管理システムが開示されている。
【0005】
また、物体の状態と時間に関する情報の変化(移動など)に伴う情報の更新を行う技術としては、例えば、特許文献2に記載がある。特許文献2の追跡システムでは、撮像範囲にて撮像された撮像データに含まれる移動体の動きを示す動線情報を生成し、その移動体が撮像範囲内の所定の領域に移動した場合に、移動体の特徴量と、動線情報とを関連付けて記憶する。次に、撮像範囲の外から撮像範囲に移動した移動体の特徴量と、記憶した特徴量とを照合する。そして、それらが合致した場合に、記憶した特徴量に関連付けられた動線情報と、撮像範囲の外から撮像範囲に移動した移動体の動線情報とを関連付けることにより、移動体の追跡を容易にするとしている。
【先行技術文献】
【特許文献】
【0006】
特開2014-2519
特開2020-161032
【発明の概要】
【発明が解決しようとする課題】
【0007】
しかしながら、上記特許文献1に記載された時空間管理システムでは、単一のプロセッサーによって、分割領域が管理されている。そのため、分割領域で構成される全体領域が大規模であった場合、全体領域に含まれる時空間分割領域のデータは莫大な量となり、処理負荷が増大することになる。そのため、自動運転のために単一のプロセッサーでデータ処理を行っている場合に、自動運転のためのリアルタイムのデータ処理に支障がでる可能性がある。
【0008】
また、特許文献2の追跡システムでは、撮像している移動体の過去状態に関する情報を引き継ぐ際に、移動体の正確な照合が必要となり、照合処理に負荷がかかる。そのため、自律走行モビリティや空間認識システムのように多くの物体が高速で行き交うユースケースにおいては、現実的な処理時間を達成できない可能性がある。
【0009】
本発明の目的は、特に、自動運転のため外部サーバを利用するシステムで、移動体と外部サーバの通信容量を低減させ、自動運転に関する計算の負荷を少なくするシステムおよび方法を提供することにある。
【課題を解決するための手段】
【0010】
本発明の移動体管理システムの構成は、好ましくは、空間内を移動する移動体の情報を管理する移動体管理システムであって、移動体の状態と時間に関する情報である空間情報を管理する管理サーバと、ネットワークを介して接続され、動体の固有物体情報を含む空間情報を検出するセンサーノードとを備え、管理サーバは、外部から取得した空間情報を一時的にため込む記憶領域であるバッファストレージと、バッファストレージに格納されたデータを統合して格納する記憶領域であるインテグレーションストレージと、画像認識により物体の同一性を照合する照合部とを有し、管理サーバは、空間に対して所定の領域を所定の位置を起点として分割した分割領域に一意的な識別子である固有識別子を付与することにより、各々の分割領域を識別し、センサーノードは、移動体に関する空間情報を検出して、空間情報に含まれる位置情報を管理サーバとセンサーノード間の入力API(Application Interface)の規定により管理サーバの管理する分割領域の座標系に対応するように位置情報を変換して、空間情報を管理サーバに送信し、管理サーバは、センサーノードから空間情報を受信したときに、バッファストレージに受信した空間情報を格納し、管理サーバの照合部は、バッファストレージに格納された空間情報に含まれる固有物体情報によりその空間情報に関する移動体が同一であるか否かを照合し、同一であるとされたときに、同一の移動体に関する空間情報を統合して、インテグレーションストレージに格納するようにしたものである。
(【0011】以降は省略されています)
この特許をJ-PlatPat(特許庁公式サイト)で参照する
関連特許
キヤノン株式会社
トナー
1日前
キヤノン株式会社
撮像装置
9日前
キヤノン株式会社
記録装置
1日前
キヤノン株式会社
撮像装置
17日前
キヤノン株式会社
電子機器
17日前
キヤノン株式会社
記録装置
17日前
キヤノン株式会社
撮像装置
16日前
キヤノン株式会社
記録装置
16日前
キヤノン株式会社
撮像装置
15日前
キヤノン株式会社
電子機器
9日前
キヤノン株式会社
電子機器
3日前
キヤノン株式会社
定着装置
24日前
キヤノン株式会社
電子機器
9日前
キヤノン株式会社
定着装置
9日前
キヤノン株式会社
収容装置
9日前
キヤノン株式会社
表示装置
8日前
キヤノン株式会社
発光装置
8日前
キヤノン株式会社
電子機器
5日前
キヤノン株式会社
定着装置
24日前
キヤノン株式会社
定着装置
15日前
キヤノン株式会社
定着装置
24日前
キヤノン株式会社
電子機器
24日前
キヤノン株式会社
電子機器
26日前
キヤノン株式会社
撮像装置
26日前
キヤノン株式会社
撮像装置
1日前
キヤノン株式会社
現像剤容器
2日前
キヤノン株式会社
半導体装置
3日前
キヤノン株式会社
画像形成装置
24日前
キヤノン株式会社
画像形成装置
5日前
キヤノン株式会社
画像形成装置
1日前
キヤノン株式会社
画像形成装置
8日前
キヤノン株式会社
画像形成装置
8日前
キヤノン株式会社
画像形成装置
8日前
キヤノン株式会社
表示システム
2日前
キヤノン株式会社
画像形成装置
26日前
キヤノン株式会社
画像形成装置
26日前
続きを見る
他の特許を見る