TOP
|
特許
|
意匠
|
商標
特許ウォッチ
Twitter
他の特許を見る
公開番号
2025144797
公報種別
公開特許公報(A)
公開日
2025-10-03
出願番号
2024044645
出願日
2024-03-21
発明の名称
プロジェクター
出願人
セイコーエプソン株式会社
代理人
個人
,
個人
,
個人
主分類
G03B
21/14 20060101AFI20250926BHJP(写真;映画;光波以外の波を使用する類似技術;電子写真;ホログラフイ)
要約
【課題】プロジェクターの光源から射出される光の利用効率を向上させる。
【解決手段】プロジェクターPは、第1光を射出する第1光源1と、第1光源1から射出された第1光が入射する第1入射端21および第1入射端21から入射した第1光を射出する第1射出端22を備え、第1入射端21から入射した第1光を内面で反射する第1導光素子2と、第1導光素子2の内部に配置されて第1偏光成分を反射し第2偏光成分を透過する第1偏光素子8と、第1射出端22から射出された第1光を画像情報に基づいて変調する第1光変調素子4と、第1光変調素子4から射出される光を投写する投写光学系5と、を有する。第1偏光素子8は、第1導光素子2における第1入射端21の入射面21aに対して垂直な軸線Lに対して傾いている。
【選択図】図1
特許請求の範囲
【請求項1】
第1光を射出する第1光源と、
前記第1光源から射出された前記第1光が入射する第1入射端および前記第1入射端から入射した前記第1光を射出する第1射出端を備え、前記第1入射端から入射した前記第1光を内面で反射する第1導光素子と、
前記第1導光素子の内部に配置されて第1偏光成分を反射し第2偏光成分を透過する第1偏光素子と、
前記第1射出端から射出された前記第1光を画像情報に基づいて変調する第1光変調素子と、
前記第1光変調素子から射出された光を投写する投写光学系と、を有し、
前記第1偏光素子は、前記第1導光素子における前記第1入射端の入射面に対して垂直な軸線に対して傾いていることを特徴とするプロジェクター。
続きを表示(約 1,000 文字)
【請求項2】
前記第1導光素子は、前記第1光の偏光成分を変化させる第1位相差部を内部に有することを特徴とする請求項1に記載のプロジェクター。
【請求項3】
前記第1導光素子の内面は、第1内面領域および前記第1内面領域とは異なる第2内面領域を備え、
前記第1偏光素子は、前記第1入射端、前記第1内面領域、および前記第1偏光素子に囲われる第1空間と、前記第1射出端、前記第2内面領域、および前記第1偏光素子に囲われる第2空間とを区画することを特徴とする請求項2に記載のプロジェクター。
【請求項4】
前記第1位相差部は、前記第1空間に配置されることを特徴とする請求項3に記載のプロジェクター。
【請求項5】
前記第1位相差部は、前記第1内面領域に面接触していることを特徴とする請求項4に記載のプロジェクター。
【請求項6】
前記第1位相差部はλ/4板であることを特徴とする請求項2から5のいずれか一項に記載のプロジェクター。
【請求項7】
前記入射面に垂直な線と前記第1偏光素子とのなす角度をθとしたとき、
0度<θ<60度であることを特徴とする請求項2に記載のプロジェクター。
【請求項8】
前記入射面に垂直な線と前記第1偏光素子とのなす角をθとしたとき、
30度<θ<90度であることを特徴とする請求項1に記載のプロジェクター。
【請求項9】
前記第1光と波長帯が異なる第2光を射出する第2光源と、
前記第2光源から射出された前記第2光が入射する第2入射端および前記第2入射端から入射した前記第2光を射出する第2射出端を備え、前記第2入射端から入射した前記第2光を内面で反射する第2導光素子と、
前記第2導光素子の内部に配置されて第3偏光成分を反射し第4偏光成分を透過する第2偏光素子と、
前記第2射出端から射出された前記第2光を画像情報に基づいて変調する第2光変調素子と、
前記第1光変調素子から射出される光と前記第2光変調素子から射出される光とを合成して前記投写光学系に向けて射出する光合成素子と、をさらに備え、
前記第2偏光素子は、前記第2導光素子における前記第2入射端の入射面に対して垂直な軸線に対して傾いていることを特徴とする請求項1に記載のプロジェクター。
発明の詳細な説明
【技術分野】
【0001】
本発明は、プロジェクターに関する。
続きを表示(約 1,600 文字)
【背景技術】
【0002】
特許文献1には、光変調素子を用いて画像光を形成し、投射レンズにより拡大投射するプロジェクターが記載される。光源と光変調素子との間には、アクリル樹脂等からなる透明なブロック、および、コンデンサーレンズが配置される。光源はLEDである。ブロックは、入射端の断面積よりも出射端の断面積の方が大きく、光源から出射した光の照度分布を均一化してコンデンサーレンズに入射させる。コンデンサーレンズは、入射する光の光源像を投射レンズの入射瞳位置に結像させる。
【先行技術文献】
【特許文献】
【0003】
特開2000-180962号公報
【発明の概要】
【発明が解決しようとする課題】
【0004】
プロジェクターでは、偏光を揃えた光を光変調素子に入射させる。従って、無偏光の光を射出する光源は、射出する光束の半分近くを画像形成に利用できず、光の利用効率が悪いという問題がある。
【課題を解決するための手段】
【0005】
上記の課題を解決するために、本発明のプロジェクターは、第1光を射出する第1光源と、前記第1光源から射出された前記第1光が入射する第1入射端および前記第1入射端から入射した前記第1光を射出する第1射出端を備え、前記第1入射端から入射した前記第1光を内面で反射する第1導光素子と、前記第1導光素子の内部に配置されて第1偏光成分を反射し第2偏光成分を透過する第1偏光素子と、前記第1射出端から射出された前記第1光を画像情報に基づいて変調する第1光変調素子と、前記第1光変調素子から射出された光を投写する投写光学系と、を有し、前記第1偏光素子は、前記第1導光素子における前記第1入射端の入射面に対して垂直な軸に対して傾いていることを特徴とする。
【図面の簡単な説明】
【0006】
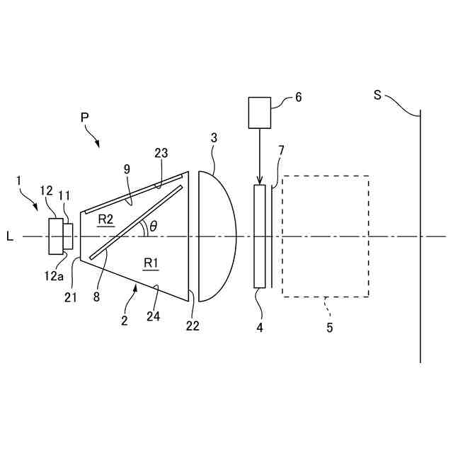
実施形態1のプロジェクターの要部を示す説明図である。
第1導光素子に入射した第1光の経路を示す説明図である。
変形例のプロジェクターの要部を示す説明図である。
第1偏光素子の角度が異なる場合の第1光の利用効率の値を示す一覧表である。
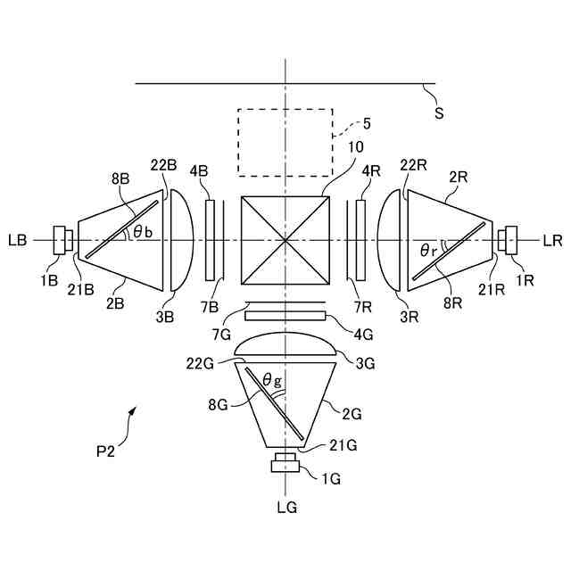
実施形態2のプロジェクターの要部を示す説明図である。
【発明を実施するための形態】
【0007】
以下に図面を参照して、本発明の実施形態に係るプロジェクターを説明する。
【0008】
(実施形態1)
図1は、実施形態1のプロジェクターPの要部を示す説明図である。図1に示すように、プロジェクターPは、スクリーンSに画像光を投写する。プロジェクターPは、第1光源1と、第1導光素子2と、第1平行化素子3と、第1光変調素子4と、投写光学系5と、制御部6と、偏光板7を備える。本形態では、第1光源1、第1導光素子2、第1平行化素子3、第1光変調素子4、偏光板7、および投写光学系5は、後述する軸線Lに沿ってこの順で配置される。
【0009】
第1光源1は、第1光を射出する。第1光は、無偏光の光である。第1光源1は、例えば、超高圧水銀ランプ、LED、レーザー光源、および、蛍光体を用いた光源等で構成される。本形態では、第1光源1は、LEDである。図1に示すように、第1光源1は、第1光を射出するLED素子11と、LED素子11が配置される基板12を備える。
【0010】
第1導光素子2は、第1光源1から入射した第1光を内面反射して射出する。なお、内面反射とは、第1導光素子2の内面で第1光を反射することである。第1導光素子2は、第1光の偏光方向を揃えて射出する。換言すると、第1導光素子2は、第1光の第1偏光成分の少なくとも一部を第2偏光成分に変換して射出する。従って、第1導光素子2から射出される第1光は、第1導光素子2への入射時よりも第2偏光成分が増大している。
(【0011】以降は省略されています)
この特許をJ-PlatPat(特許庁公式サイト)で参照する
関連特許
株式会社シグマ
絞りユニット
25日前
キヤノン株式会社
撮像装置
18日前
日本精機株式会社
車両用投射装置
4日前
平和精機工業株式会社
雲台
1か月前
キヤノン株式会社
撮像装置
1か月前
キヤノン株式会社
撮像装置
24日前
株式会社リコー
画像形成装置
1か月前
株式会社リコー
画像形成装置
1か月前
株式会社リコー
画像形成装置
3か月前
株式会社リコー
画像形成装置
2か月前
株式会社リコー
画像形成装置
2か月前
株式会社リコー
画像形成装置
3か月前
株式会社リコー
画像形成装置
2か月前
株式会社リコー
画像形成装置
14日前
株式会社オプトル
プロジェクタ
17日前
キヤノン株式会社
画像形成装置
2か月前
キヤノン株式会社
画像形成装置
1か月前
キヤノン株式会社
画像形成装置
2か月前
キヤノン株式会社
画像形成装置
2か月前
キヤノン株式会社
画像形成装置
2か月前
キヤノン株式会社
トナー
10日前
キヤノン株式会社
トナー
3か月前
キヤノン株式会社
トナー
3か月前
キヤノン株式会社
トナー
5日前
キヤノン株式会社
画像形成装置
2か月前
ブラザー工業株式会社
再生方法
2か月前
トヨタ自動車株式会社
撮像方法
3か月前
シャープ株式会社
画像形成装置
1か月前
キヤノン株式会社
トナー
1か月前
キヤノン株式会社
画像形成装置
1か月前
株式会社オプトル
プロジェクタ
1か月前
キヤノン株式会社
画像形成装置
1か月前
沖電気工業株式会社
画像形成装置
1か月前
キヤノン株式会社
現像装置
3日前
株式会社シグマ
絞り機構及びレンズ鏡筒
1か月前
スタンレー電気株式会社
照明装置
6日前
続きを見る
他の特許を見る