TOP
|
特許
|
意匠
|
商標
特許ウォッチ
Twitter
他の特許を見る
公開番号
2025144930
公報種別
公開特許公報(A)
公開日
2025-10-03
出願番号
2024044854
出願日
2024-03-21
発明の名称
固定構造
出願人
愛三工業株式会社
代理人
弁理士法人コスモス国際特許商標事務所
主分類
F16B
5/06 20060101AFI20250926BHJP(機械要素または単位;機械または装置の効果的機能を生じ維持するための一般的手段)
要約
【課題】対象部品を相手部材に固定するための、部品点数と固定工数を削減すること。
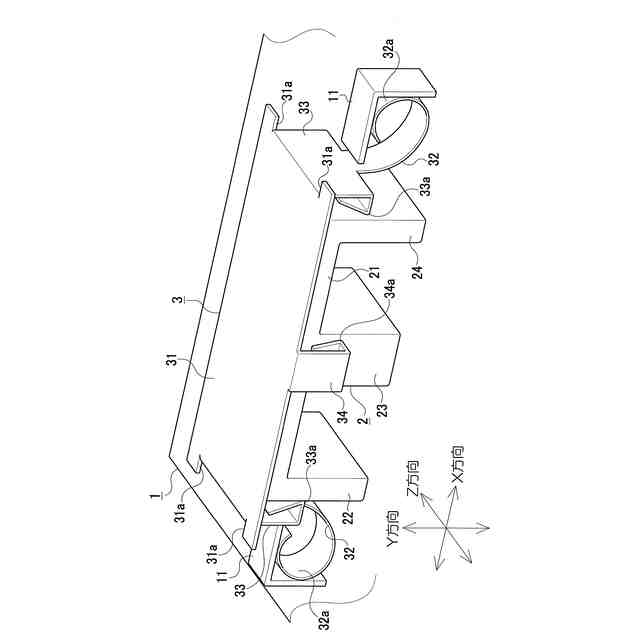
【解決手段】固定構造は、コア2を押さえ部材3によりヒートシンク1に押さえ付けて固定する構造である。ヒートシンク1は、係合部32が係合可能な被係合部11を含む。押さえ部材3は、係合部32と、係合部32が被係合部11に係合することで弾性変形して変形反力を発揮する弾性変形部32aと、コア2に接触し、ヒートシンク1へ向けた方向と異なる方向へコア2を押圧する第1押圧部33とを含む。押さえ部材3は、変形反力によりコア2に押し当てられることでコア2をヒートシンク1に押さえ付けるように構成される。第1押圧部33は、少なくとも二つの第1押圧部33が、コア2を挟んで互いに対向する形で配置される。
【選択図】図1
特許請求の範囲
【請求項1】
対象部品を押さえ部材により相手部材に押さえ付けて固定する固定構造であって、
前記相手部材は、係合部が係合可能な被係合部を含み、
前記押さえ部材は、前記係合部と、前記係合部が前記被係合部に係合することで弾性変形して変形反力を発揮する弾性変形部と、前記対象部品に接触し、前記相手部材へ向けた方向と異なる方向へ前記対象部品を押圧する第1押圧部とを含み、
前記押さえ部材は、前記変形反力により前記対象部品に押し当てられることで前記対象部品を前記相手部材に押さえ付けるように構成され、
前記第1押圧部は、少なくとも二つの第1押圧部が、前記対象部品を挟んで互いに対向する形で配置される
ことを特徴とする固定構造。
続きを表示(約 520 文字)
【請求項2】
請求項1に記載の固定構造において、
前記押さえ部材は、前記対象部品に接触し、前記相手部材へ向けた方向と異なる方向であって、前記第1押圧部の押圧方向と交差する方向へ前記対象部品を押圧する第2押圧部を更に含み、
前記第2押圧部は、少なくとも二つの第2押圧部が、前記対象部品を挟んで互いに対向する形で配置される
ことを特徴とする固定構造。
【請求項3】
請求項1に記載の固定構造において、
前記第1押圧部は、前記第1押圧部が前記対象部品と接触する接触部を含み、前記接触部が屈曲面から形成される
ことを特徴とする固定構造。
【請求項4】
請求項2に記載の固定構造において、
前記第2押圧部は、前記第2押圧部が前記対象部品と接触する接触部を含み、前記接触部が屈曲面から形成される
ことを特徴とする固定構造。
【請求項5】
請求項1乃至4のいずれかに記載の固定構造において、
前記押さえ部材は、前記対象部品を前記相手部材に押さえ付けるために前記対象部品に面接触する本体部を更に含む
ことを特徴とする固定構造。
発明の詳細な説明
【技術分野】
【0001】
この明細書に開示される技術は、対象となる部品を押さえ部材により相手部材に押さえ付けて固定する固定構造に関する。
続きを表示(約 1,500 文字)
【背景技術】
【0002】
従来、この種の技術として、例えば、下記の特許文献1に記載される技術が知られている。この技術は、電気機器の製造に係り、ヒートシンク(対象部品)の基板と保持部材(相手部材)に対する固定が板ばねを介在させたボルト(ねじ部材)の締結により行われている。
【先行技術文献】
【特許文献】
【0003】
特開2016-219605号公報
【発明の概要】
【発明が解決しようとする課題】
【0004】
ところが、特許文献1に記載の技術では、対象部品の相手部材に対する固定がねじ部材の締結により行われていたので、ねじ部材の手配、相手部材のねじ穴加工、ねじ部材の締結による固定工程が必要になった。また、ねじ部材の締結に板ばねを介在させていたので、板ばねの締結部周辺への応力を考慮した強度設計が必要になった。
【0005】
この開示技術は、上記事情に鑑みてなされたものであって、その目的は、対象部品を相手部材に固定するための、部品点数と固定工数を削減することを可能とした固定構造を提供することにある。
【課題を解決するための手段】
【0006】
上記目的を達成するために、請求項1に記載の技術は、対象部品を押さえ部材により相手部材に押さえ付けて固定する固定構造であって、相手部材は、係合部が係合可能な被係合部を含み、押さえ部材は、係合部と、係合部が被係合部に係合することで弾性変形して変形反力を発揮する弾性変形部と、対象部品に接触し、相手部材へ向けた方向と異なる方向へ対象部品を押圧する第1押圧部とを含み、押さえ部材は、変形反力により対象部品に押し当てられることで対象部品を相手部材に押さえ付けるように構成され、第1押圧部は、少なくとも二つの第1押圧部が、対象部品を挟んで互いに対向する形で配置されることを趣旨とする。
【0007】
上記技術の構成によれば、押さえ部材の係合部を相手部材の被係合部に係合させ、弾性変形部を弾性変形させて変形反力を発揮させる。押さえ部材は、この変形反力により対象部品に押し当てられ、対象部品が相手部材に押さえ付けられて固定される。従って、ねじ部材とねじ穴加工、ねじ部材による締結が不要になる。また、少なくとも二つの第1押圧部が、対象部品を挟んで互いに対向する形で配置され、相手部材へ向けた方向と異なる方向において、相対向する方向へ対象部品を押圧する。
【0008】
上記目的を達成するために、請求項2に記載の技術は、請求項1に記載の技術において、押さえ部材は、対象部品に接触し、相手部材へ向けた方向と異なる方向であって、第1押圧部の押圧方向と交差する方向へ対象部品を押圧する第2押圧部を更に含み、第2押圧部は、少なくとも二つの第2押圧部が、対象部品を挟んで互いに対向する形で配置されることを趣旨とする。
【0009】
上記技術の構成によれば、請求項1に記載の技術の作用に加え、第2押圧部は、少なくとも二つの第2押圧部が、対象部品を挟んで互いに対向する形で配置され、相手部材へ向けた方向と異なる方向であって、第1押圧部の押圧方向と交差する方向において、相対向する方向へ対象部品を押圧する。
【0010】
上記目的を達成するために、請求項3に記載の技術は、請求項1に記載の技術において、第1押圧部は、第1押圧部が対象部品と接触する接触部を含み、接触部が屈曲面から形成されることを趣旨とする。
(【0011】以降は省略されています)
この特許をJ-PlatPat(特許庁公式サイト)で参照する
関連特許
愛三工業株式会社
溶接方法
1か月前
愛三工業株式会社
固定構造
7日前
愛三工業株式会社
樹脂部材
7日前
愛三工業株式会社
吸着装置
1か月前
愛三工業株式会社
端子構造
1か月前
愛三工業株式会社
吸気制御弁
1か月前
愛三工業株式会社
吸気弁装置
23日前
愛三工業株式会社
気体精製装置
1か月前
愛三工業株式会社
燃料フィルタ
1か月前
愛三工業株式会社
燃料供給装置
1日前
愛三工業株式会社
電圧変換装置
15日前
愛三工業株式会社
電力供給装置
23日前
愛三工業株式会社
燃料電池システム
11日前
愛三工業株式会社
温度計測モジュール
3日前
愛三工業株式会社
グロメット装着治具
1か月前
愛三工業株式会社
内燃機関の制御装置
1か月前
愛三工業株式会社
電池及びその製造方法
2か月前
愛三工業株式会社
内燃機関の排気浄化装置
1か月前
愛三工業株式会社
内燃機関の排気浄化システム
1か月前
愛三工業株式会社
液化ガス利用システム及び自動車
22日前
愛三工業株式会社
仕切り体
1か月前
個人
鍋虫ねじ
1か月前
個人
紛体用仕切弁
1か月前
個人
回転伝達機構
2か月前
個人
ホース保持具
5か月前
個人
トーションバー
6か月前
個人
差動歯車用歯形
3か月前
個人
ジョイント
21日前
個人
給排気装置
3日前
株式会社不二工機
電磁弁
4か月前
個人
地震の揺れ回避装置
2か月前
個人
ナット
22日前
個人
ボルトナットセット
6か月前
個人
回転式配管用支持具
7か月前
株式会社不二工機
電磁弁
3か月前
個人
吐出量監視装置
1か月前
続きを見る
他の特許を見る