TOP
|
特許
|
意匠
|
商標
特許ウォッチ
Twitter
他の特許を見る
公開番号
2025138279
公報種別
公開特許公報(A)
公開日
2025-09-25
出願番号
2024037283
出願日
2024-03-11
発明の名称
電圧変換装置
出願人
愛三工業株式会社
代理人
弁理士法人 快友国際特許事務所
主分類
H02M
3/28 20060101AFI20250917BHJP(電力の発電,変換,配電)
要約
【課題】幅広い範囲の変圧比において効率良く電圧を変換することができる技術を提供する。
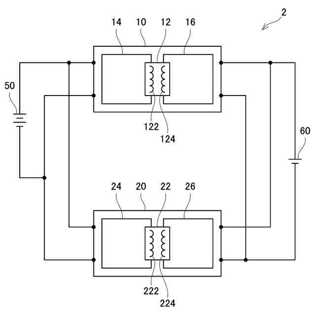
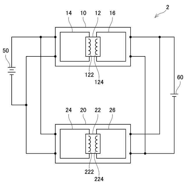
【解決手段】電圧変換装置は、第1DC-DCコンバータと第2DC-DCコンバータを備えている。第1DC-DCコンバータは、電源と蓄電池に接続されており、電源から入力される電圧を変換して蓄電池に出力する。第2DC-DCコンバータは、第1DC-DCコンバータと並列で電源と蓄電池に接続されており、電源から入力される電圧を変換して蓄電池に出力する。第1DC-DCコンバータと第2DC-DCコンバータは、それぞれ、トランスを備える絶縁型のDC-DCコンバータである。第1DC-DCコンバータにおけるトランスの巻き数比は、第2DC-DCコンバータにおけるトランスの巻き数比と異なる。
【選択図】図1
特許請求の範囲
【請求項1】
電源から入力される電圧を変換して蓄電池に出力する電圧変換装置であって、
前記電源と前記蓄電池に接続されており、前記電源から入力される電圧を変換して前記蓄電池に出力する第1DC-DCコンバータと、
前記第1DC-DCコンバータと並列で前記電源と前記蓄電池に接続されており、前記電源から入力される電圧を変換して前記蓄電池に出力する第2DC-DCコンバータと、を備え、
前記第1DC-DCコンバータと前記第2DC-DCコンバータは、それぞれ、トランスを備える絶縁型のDC-DCコンバータであり、
前記第1DC-DCコンバータにおける前記トランスの巻き数比は、前記第2DC-DCコンバータにおける前記トランスの巻き数比と異なる、電圧変換装置。
続きを表示(約 290 文字)
【請求項2】
請求項1に記載の電圧変換装置であって、
前記蓄電池は、第1蓄電池と第2蓄電池を含み、
前記第1DC-DCコンバータと前記第2DC-DCコンバータは、並列で前記第1蓄電池に接続されていると共に、並列で前記第2蓄電池に接続されており、
前記第1DC-DCコンバータは、リレーを介して前記第2蓄電池に接続されており、
前記第2DC-DCコンバータは、リレーを介して前記第1蓄電池に接続されている、電圧変換装置。
【請求項3】
請求項1又は2に記載の電圧変換装置であって、
電動車両に搭載される電圧変換装置。
発明の詳細な説明
【技術分野】
【0001】
本明細書に開示する技術は、電圧変換装置に関する。
続きを表示(約 1,600 文字)
【背景技術】
【0002】
特許文献1には、電源から入力される電圧を変換して出力する電圧変換装置が開示されている。特許文献1の電圧変換装置は、電源に接続されている第1コンバータと、第1コンバータと並列で電源に接続されている第2コンバータとを備えている。第1コンバータと第2コンバータは、それぞれ、トランスを備える絶縁型のコンバータであり、電源から入力される電圧を変換して負荷に出力する。
【先行技術文献】
【特許文献】
【0003】
特開平10-225126号公報
【発明の概要】
【発明が解決しようとする課題】
【0004】
特許文献1の電圧変換装置は、負荷に出力する出力電流を、各コンバータに均等に分担させることによって、装置全体の寿命および信頼性を向上させることを目的としているが、更なる改善の余地がある。本明細書は、幅広い範囲の変圧比において効率良く電圧を変換することができる技術を提供する。
【課題を解決するための手段】
【0005】
本技術の第1の態様は、電源から入力される電圧を変換して蓄電池に出力する電圧変換装置を開示する。電圧変換装置は、前記電源と前記蓄電池に接続されており、前記電源から入力される電圧を変換して前記蓄電池に出力する第1DC-DCコンバータと、前記第1DC-DCコンバータと並列で前記電源と前記蓄電池に接続されており、前記電源から入力される電圧を変換して前記蓄電池に出力する第2DC-DCコンバータと、を備えている。前記第1DC-DCコンバータと前記第2DC-DCコンバータは、それぞれ、トランスを備える絶縁型のDC-DCコンバータであってもよい。前記第1DC-DCコンバータにおける前記トランスの巻き数比は、前記第2DC-DCコンバータにおける前記トランスの巻き数比と異なっていてもよい。
【0006】
この構成によると、第1DC-DCコンバータと第2DC-DCコンバータでトランスの巻き数比が異なるので、第1DC-DCコンバータにおいて効率良く電圧を変換することができる変圧比と、第2DC-DCコンバータにおいて効率良く電圧を変換することができる変圧比とが異なる。そのため、第1DC-DCコンバータと第2DC-DCコンバータを用いることにより、幅広い範囲の変圧比において効率良く電圧を変換することができる。
【0007】
第2の態様では、上記第1の態様において、前記蓄電池は、第1蓄電池と第2蓄電池を含んでいてもよい。前記第1DC-DCコンバータと前記第2DC-DCコンバータは、並列で前記第1蓄電池に接続されていると共に、並列で前記第2蓄電池に接続されていてもよい。前記第1DC-DCコンバータは、リレーを介して前記第2蓄電池に接続されていてもよい。前記第2DC-DCコンバータは、リレーを介して前記第1蓄電池に接続されていてもよい。
【0008】
この構成によると、異常時にリレーを切断することにより、第1DC-DCコンバータと第2蓄電池の接続を遮断することができる一方で、第1DC-DCコンバータと第1蓄電池の接続を維持することができる。同様に、第2DC-DCコンバータと第1蓄電池の接続を遮断することができる一方で、第2DC-DCコンバータと第2蓄電池の接続を維持することができる。よって、冗長構成を担保することができる。
【0009】
第3の態様では、上記第1又は第2の態様において、電動車両に搭載されていてもよい。
【0010】
この構成によると、電動車両において幅広い範囲の変圧比において効率良く電圧を変換することができる。
【図面の簡単な説明】
(【0011】以降は省略されています)
この特許をJ-PlatPat(特許庁公式サイト)で参照する
関連特許
愛三工業株式会社
電池
2か月前
愛三工業株式会社
弁装置
2か月前
愛三工業株式会社
樹脂部材
5日前
愛三工業株式会社
溶接方法
1か月前
愛三工業株式会社
端子構造
1か月前
愛三工業株式会社
固定構造
5日前
愛三工業株式会社
吸着装置
1か月前
愛三工業株式会社
吸気弁装置
21日前
愛三工業株式会社
吸気制御弁
28日前
愛三工業株式会社
気体精製装置
1か月前
愛三工業株式会社
電圧変換装置
13日前
愛三工業株式会社
電力供給装置
21日前
愛三工業株式会社
燃料フィルタ
1か月前
愛三工業株式会社
燃料電池システム
9日前
愛三工業株式会社
吸着式ヒートポンプ
2か月前
愛三工業株式会社
温度計測モジュール
1日前
愛三工業株式会社
内燃機関の制御装置
1か月前
愛三工業株式会社
グロメット装着治具
1か月前
愛三工業株式会社
電池及びその製造方法
2か月前
愛三工業株式会社
燃料噴射量制御システム
2か月前
愛三工業株式会社
内燃機関の排気浄化装置
1か月前
愛三工業株式会社
内燃機関の排気浄化システム
1か月前
愛三工業株式会社
液化ガス利用システム及び自動車
20日前
愛三工業株式会社
仕切り体
1か月前
愛三工業株式会社
撹拌加熱装置及びこれを用いた金属有機構造体の合成方法
2か月前
個人
電源装置
20日前
個人
永久磁石モーター
1か月前
個人
バッテリ内蔵直流電源
19日前
株式会社FUJI
制御盤
9日前
日本精機株式会社
サージ保護回路
1日前
西部電機株式会社
充電装置
1日前
西部電機株式会社
充電装置
1日前
オムロン株式会社
電源回路
13日前
オムロン株式会社
電源回路
13日前
オムロン株式会社
電源回路
13日前
日産自動車株式会社
電子機器
1か月前
続きを見る
他の特許を見る