TOP
|
特許
|
意匠
|
商標
特許ウォッチ
Twitter
他の特許を見る
公開番号
2025140067
公報種別
公開特許公報(A)
公開日
2025-09-29
出願番号
2024039229
出願日
2024-03-13
発明の名称
燃料電池システム
出願人
愛三工業株式会社
代理人
弁理士法人コスモス国際特許商標事務所
主分類
H01M
8/043 20160101AFI20250919BHJP(基本的電気素子)
要約
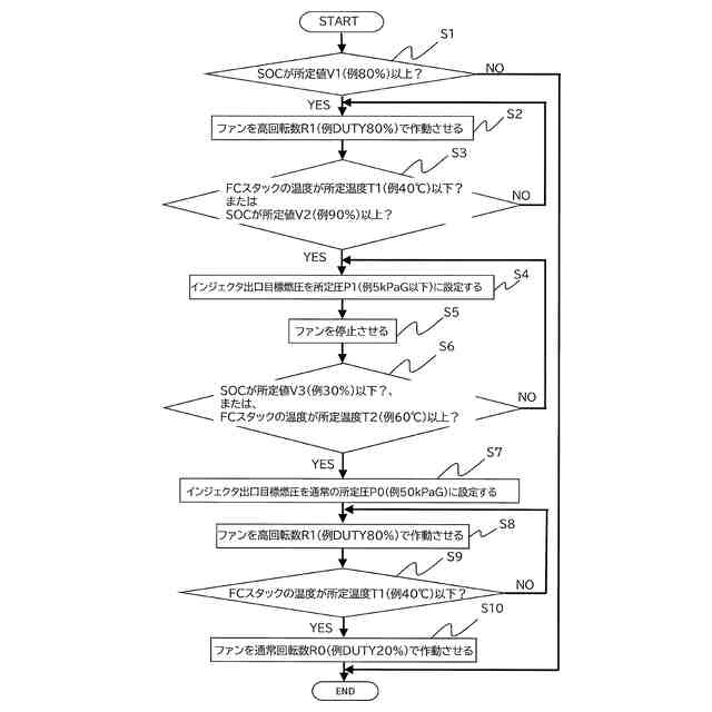
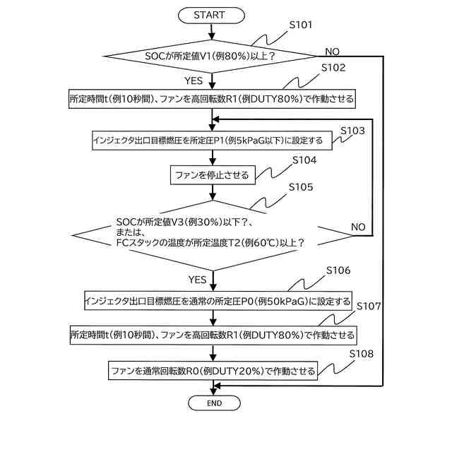
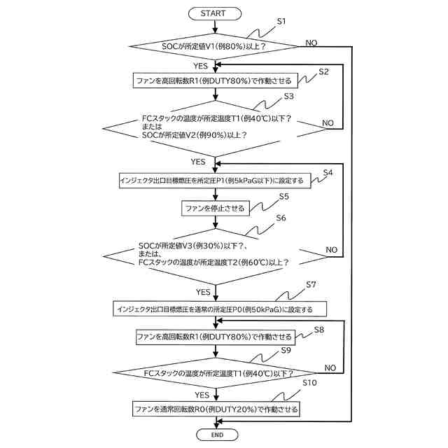
【課題】燃料電池システムがオープンカソード方式のシステムである場合において、間欠停止制御を行ってバッテリの充電を停止させるときに、燃料電池がオーバーヒートすることを抑制できる燃料電池システムを提供すること。
【解決手段】本開示の一態様は、燃料電池システム1において、制御部14は、バッテリ12のSOCが所定値V1以上である間欠停止要求時にて、ファン83を高回転数R1で作動させて、すなわち、ファン83の供給量をFCスタック11の発電時の量よりも多くして、FCスタック11を冷却する冷却制御を行った後に、ファン83を停止させる間欠停止制御を行う。
【選択図】図4
特許請求の範囲
【請求項1】
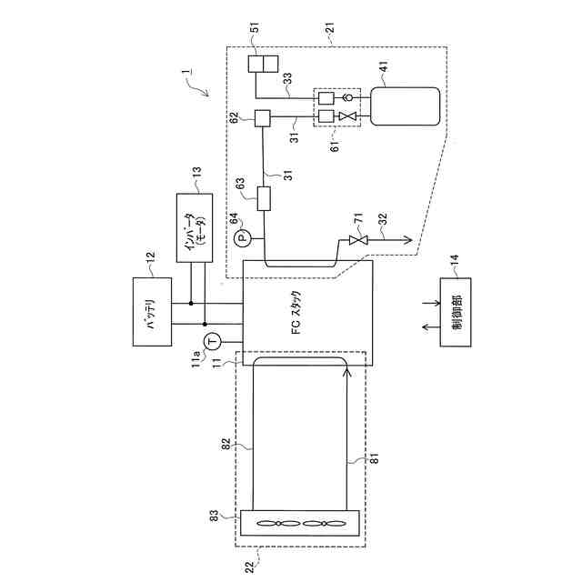
燃料ガスと酸化剤ガスの供給を受けて発電する燃料電池と、
前記燃料電池に前記燃料ガスを供給する燃料ガス供給装置と、
前記燃料電池に前記酸化剤ガスを供給する酸化剤ガス供給装置と、
前記燃料ガス供給装置と前記酸化剤ガス供給装置を制御する制御部と、
を有する燃料電池システムにおいて、
前記燃料電池システムは、
前記酸化剤ガスを前記燃料電池の冷却用のガスとして使用するオープンカソード方式のシステムであって、
かつ、前記燃料電池の出力電流が、前記燃料電池にて発電した電力を充電するバッテリの電圧に依存するシステムであり、
前記制御部は、
前記バッテリの充電率が第1所定値以上である間欠停止要求時にて、
前記酸化剤ガス供給装置の供給量を発電時の量よりも多くして前記燃料電池を冷却する冷却制御を行った後に、
前記酸化剤ガス供給装置を停止させる間欠停止制御を行うこと、
を特徴とする燃料電池システム。
続きを表示(約 840 文字)
【請求項2】
請求項1の燃料電池システムにおいて、
前記制御部は、
前記冷却制御を開始した後、
前記燃料電池の温度が第1所定温度以下になったときに、
または、前記バッテリの充電率が前記第1所定値よりも高い第2所定値以上になったときに、
前記冷却制御を終了して、前記間欠停止制御を行うこと、
を特徴とする燃料電池システム。
【請求項3】
請求項1または2の燃料電池システムにおいて、
前記制御部は、
前記間欠停止制御を開始した後、
前記バッテリの充電率が前記第1所定値よりも低い第3所定値以下になったときに、
または、前記燃料電池の温度が第2所定温度以上になったときに、
前記燃料ガス供給装置の供給圧力を発電時の圧力に設定し、
前記間欠停止制御を終了して前記冷却制御を行い、
前記酸化剤ガス供給装置の供給量を発電時の量にし、
前記燃料電池の発電を再始動する再始動制御を行うこと、
を特徴とする燃料電池システム。
【請求項4】
請求項3の燃料電池システムにおいて、
前記制御部は、前記再始動制御を行うときには、前記冷却制御を開始した後、前記燃料電池の温度が第1所定温度以下になったときに、前記冷却制御を終了して、前記酸化剤ガス供給装置の供給量を発電時の量にすること、
を特徴とする燃料電池システム。
【請求項5】
請求項1または2の燃料電池システムにおいて、
前記制御部は、前記間欠停止要求時にて、前記燃料電池の温度が第3所定温度よりも高い場合に、前記冷却制御を行うこと、
を特徴とする燃料電池システム。
【請求項6】
請求項1の燃料電池システムにおいて、
前記制御部は、前記冷却制御を所定時間行うこと、
を特徴とする燃料電池システム。
発明の詳細な説明
【技術分野】
【0001】
本開示は、燃料ガスと酸化剤ガスの供給を受けて発電する燃料電池を有する燃料電池システムに関する。
続きを表示(約 1,800 文字)
【背景技術】
【0002】
特許文献1には、燃料ガス系からの燃料ガスの供給を受けて、かつ、酸化剤ガス系からの酸化剤ガスの供給を受けて発電する燃料電池を有する燃料電池システムが開示されている。
【先行技術文献】
【特許文献】
【0003】
特開2022-185247号公報
【発明の概要】
【発明が解決しようとする課題】
【0004】
燃料電池とバッテリとの間にDCDCコンバータが配置されていない燃料電池システム、すなわち、DCDCコンバータレスの燃料電池システムでは、燃料電池は、発電時にバッテリ電圧に応じた成り行き発電を行う。そのため、燃料電池にて発電した電力がバッテリに充電され続けると、バッテリのSOC(すなわち、充電率)が高くなり過ぎるおそれがある。そこで、SOCが所定値よりも高くなったときには、燃料電池の発電を停止して、バッテリの充電を停止する間欠停止制御を行うこと、が考えられる。
【0005】
しかしながら、この間欠停止制御を行うときに、燃料電池などに残存する燃料ガスと酸化剤ガスとが反応することにより、燃料電池にて僅かではあるが発電して小電流が流れることによって発熱するおそれがある。ここで、間欠停止制御を行うときには、酸化剤ガス供給装置を停止させて、燃料電池への酸化剤ガスの供給を停止させる。そして、このとき、燃料電池システムがオープンカソード方式のシステムである場合には、酸化剤ガス供給装置から燃料電池へ供給される酸化剤ガスによって燃料電池を冷却することも停止されることになる。そうすると、燃料電池の温度が上昇して、燃料電池がオーバーヒートするおそれがある。
【0006】
ここで、特許文献1においては、このように燃料電池がオーバーヒートするおそれがあることに対する対策については、何ら開示されていない。
【0007】
そこで、本開示は上記した課題を解決するためになされたものであり、燃料電池システムがオープンカソード方式のシステムである場合において、間欠停止制御を行ってバッテリの充電を停止させるときに、燃料電池がオーバーヒートすることを抑制できる燃料電池システムを提供することを目的とする。
【課題を解決するための手段】
【0008】
上記課題を解決するためになされた本開示の一形態は、燃料ガスと酸化剤ガスの供給を受けて発電する燃料電池と、前記燃料電池に前記燃料ガスを供給する燃料ガス供給装置と、前記燃料電池に前記酸化剤ガスを供給する酸化剤ガス供給装置と、前記燃料ガス供給装置と前記酸化剤ガス供給装置を制御する制御部と、を有する燃料電池システムにおいて、前記燃料電池システムは、前記酸化剤ガスを前記燃料電池の冷却用のガスとして使用するオープンカソード方式のシステムであって、かつ、前記燃料電池の出力電流が、前記燃料電池にて発電した電力を充電するバッテリの電圧に依存するシステムであり、前記制御部は、前記バッテリの充電率が第1所定値以上である間欠停止要求時にて、前記酸化剤ガス供給装置の供給量を発電時の量よりも多くして前記燃料電池を冷却する冷却制御を行った後に、前記酸化剤ガス供給装置を停止させる間欠停止制御を行うこと、を特徴とする。
【0009】
この態様によれば、酸化剤ガス供給装置から燃料電池へ供給される酸化剤ガスによって燃料電池を冷却することが停止されてしまう間欠停止制御を行う前に、予め、冷却制御を行って燃料電池を冷却しておくことができる。そのため、間欠停止制御を行っているときに、燃料電池にて残存する燃料ガスと酸化剤ガスとが反応して発電することにより小電流が流れて発熱しても、燃料電池の温度の上昇を抑えることができる。そのため、燃料電池がオーバーヒートすることを抑制できる。
【0010】
上記の態様においては、前記制御部は、前記冷却制御を開始した後、前記燃料電池の温度が第1所定温度以下になったときに、または、前記バッテリの充電率が前記第1所定値よりも高い第2所定値以上になったときに、前記冷却制御を終了して、前記間欠停止制御を行うこと、が好ましい。
(【0011】以降は省略されています)
この特許をJ-PlatPat(特許庁公式サイト)で参照する
関連特許
愛三工業株式会社
吸着装置
1か月前
愛三工業株式会社
固定構造
4日前
愛三工業株式会社
端子構造
1か月前
愛三工業株式会社
溶接方法
1か月前
愛三工業株式会社
樹脂部材
4日前
愛三工業株式会社
吸気弁装置
20日前
愛三工業株式会社
吸気制御弁
27日前
愛三工業株式会社
電圧変換装置
12日前
愛三工業株式会社
電力供給装置
20日前
愛三工業株式会社
燃料フィルタ
1か月前
愛三工業株式会社
気体精製装置
1か月前
愛三工業株式会社
燃料電池システム
8日前
愛三工業株式会社
グロメット装着治具
1か月前
愛三工業株式会社
内燃機関の制御装置
1か月前
愛三工業株式会社
温度計測モジュール
今日
愛三工業株式会社
内燃機関の排気浄化装置
1か月前
愛三工業株式会社
内燃機関の排気浄化システム
1か月前
愛三工業株式会社
液化ガス利用システム及び自動車
19日前
愛三工業株式会社
仕切り体
1か月前
個人
安全なNAS電池
1か月前
東レ株式会社
多孔質炭素シート
27日前
個人
フリー型プラグ安全カバー
1か月前
日本発條株式会社
積層体
8日前
ローム株式会社
半導体装置
4日前
ローム株式会社
半導体装置
6日前
エイブリック株式会社
半導体装置
29日前
個人
防雪防塵カバー
8日前
エイブリック株式会社
半導体装置
29日前
キヤノン株式会社
電子機器
27日前
ローム株式会社
半導体装置
6日前
ローム株式会社
半導体装置
6日前
ローム株式会社
半導体装置
27日前
株式会社ホロン
冷陰極電子源
4日前
株式会社GSユアサ
蓄電装置
4日前
ニチコン株式会社
コンデンサ
20日前
株式会社ティラド
面接触型熱交換器
19日前
続きを見る
他の特許を見る