TOP
|
特許
|
意匠
|
商標
特許ウォッチ
Twitter
他の特許を見る
公開番号
2025144975
公報種別
公開特許公報(A)
公開日
2025-10-03
出願番号
2024044927
出願日
2024-03-21
発明の名称
屋根用取付金具
出願人
株式会社野島角清製作所
代理人
個人
主分類
E04D
13/10 20060101AFI20250926BHJP(建築物)
要約
【課題】事前の面倒な締付ボルトの緩め作業が不要となり、なお且つ製作容易で安定輸送も可能な屋根用取付金具を提供すること。
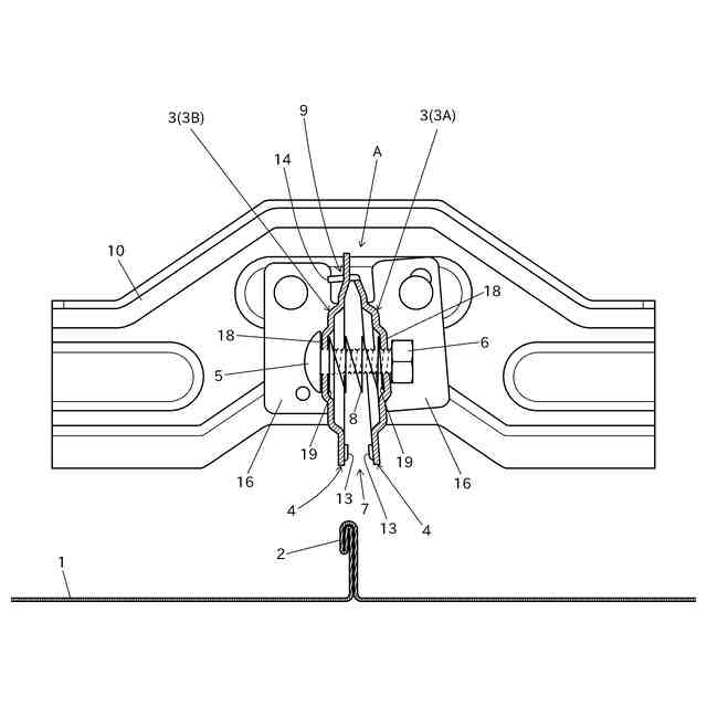
【解決手段】屋根1の取付部2を挟持する挟持部4を下部に有する一対の対向挟持体3と、一対の対向挟持体3間に架設状態に配設される締付ボルト5とを本体部Aに備え、締付ボルト5に螺着されている締付ナット6を締付回動することで対向挟持体3が接近可動し挟持部4が取付部2を両側から締付挟持して本体部Aが取付部2に取付けられるように構成され、一対の対向挟持体3間に、一対の対向挟持体3を互いに離間する方向に付勢して挟持部4間に取付部2を挿入可能な挿入用間隙7を形成するコイルスプリング8が介在状態に設けられている屋根用取付金具。
【選択図】図4
特許請求の範囲
【請求項1】
屋根の取付部を外側から挟持する挟持部を下部に有する一対の対向挟持体と、この一対の対向挟持体間に架設状態に配設される締付ボルトとが本体部に備えられていて、この締付ボルトを締付回動若しくは締付ボルトに螺着されている締付ナットを締付回動することで前記対向挟持体が接近可動し前記挟持部が前記取付部を両側から締付挟持して前記本体部が前記取付部に取付けられるように構成されている屋根用取付金具であって、
一対の前記対向挟持体間に、この一対の対向挟持体を互いに離間する方向に付勢して前記挟持部間に前記取付部を挿入可能な挿入用間隙を形成するコイルスプリングが介在状態に設けられていると共に、このコイルスプリングは、前記締付ボルトに沿って配設されていることを特徴とする屋根用取付金具。
続きを表示(約 630 文字)
【請求項2】
前記コイルスプリングは、前記締付ボルトに被嵌状態に配設されて一対の前記対向挟持体間に介在状態に設けられていることを特徴とする請求項1記載の屋根用取付金具。
【請求項3】
一対の前記対向挟持体は、夫々の上部が回動自在にヒンジ連結されていて、この上部のヒンジ連結部を支点に少なくとも一方の前記対向挟持体が回動移動することで夫々の下部の前記挟持部が接離移動可能に構成され、この回動接離移動可能な一対の対向挟持体間に前記コイルスプリングが介在状態に設けられていて、このコイルスプリングにより一対の前記対向挟持体が互いに離間する方向に付勢されて前記挟持部間に前記取付部を挿入可能な前記挿入用間隙が形成保持されるように構成されていることを特徴とする請求項1,2のいずれか1項に記載の屋根用取付金具。
【請求項4】
一対の前記対向挟持体に前記締付ボルトを挿通する挿通孔が設けられ、この挿通孔の周囲の対向外側面が外方へ突出する形状の補強リブに形成されていることにより、この挿通孔の周囲の対向内側面が凹状部となっている屋根用取付金具であって、
前記凹状部は、前記コイルスプリングの両端部を支持する支持凹部として構成され、この支持凹部に両端部が支持されてコイルスプリングが一対の前記対向挟持体間に介在状態に設けられていると共に、前記締付ボルトに沿って配設されていることを特徴とする請求項1記載の屋根用取付金具。
発明の詳細な説明
【技術分野】
【0001】
本発明は、屋根のハゼ部(取付部)を締付挟持することによって屋根上に取付可能な雪止め金具やソーラーパネル取付金具などの屋根用取付金具に関するものである。
続きを表示(約 1,400 文字)
【背景技術】
【0002】
従来から、屋根のハゼ部を締付挟持することによって屋根上に取付可能な本体部に、羽根板部(雪止め部)が設けられている雪止め金具(屋根用取付金具)が実施されている。
【0003】
また、前記本体部についてさらに説明すると、左右一対の対向挟持体間に締付ボルトが架設されていると共に、この一対の対向挟持体の夫々の下端部が前記ハゼ部に当接する挟持部として構成され、前記締付ボルトに螺着された締付ナットを締付回動することにより、一対の前記対向挟持体間が狭められ前記挟持部が屋根のハゼ部(の首部)を締付挟持して屋根(ハゼ部)に取付固定可能に構成されている(例えば、特許文献1参照。)。
【先行技術文献】
【特許文献】
【0004】
特許第5143859号公報
【発明の概要】
【発明が解決しようとする課題】
【0005】
上記特許文献1のような雪止め金具(屋根用取付金具)の本体部は、輸送中に締付ボルトの緩みによるバラけやガタつきによる騒音などの不都合を防止して安定輸送を実現するために、締付ボルトに対し締付ナットが最大限締付けられた状態(左右一対の対向挟持体同士が完全に閉じて固定された状態)で工場出荷されている。
【0006】
そして、この出荷状態のままで現場へ輸送されるので、この雪止め金具を屋根に取付けるためには、一対の対向挟持体の挟持部間にハゼ部を挿入可能となるように、事前に全ての雪止め金具の本体部に対して締付ボルト(締付ナット)を緩める作業が必要となり、この作業が非常に手間のかかる作業となっていた。
【0007】
本発明は、このような屋根用取付金具の現状に鑑み、これを解決しようとするもので、一対の対向挟持体の挟持部間がハゼ部を挿入可能な離間状態に保持されていて、現場での事前の締付ボルト緩め作業が不要となると共に、製作容易で安定輸送も可能な実用性に優れた屋根用取付金具を提供するものである。
【課題を解決するための手段】
【0008】
添付図面を参照して本発明の要旨を説明する。
【0009】
屋根1の取付部2を外側から挟持する挟持部4を下部に有する一対の対向挟持体3と、この一対の対向挟持体3間に架設状態に配設される締付ボルト5とが本体部Aに備えられていて、この締付ボルト5を締付回動若しくは締付ボルト5に螺着されている締付ナット6を締付回動することで前記対向挟持体3が接近可動し前記挟持部4が前記取付部2を両側から締付挟持して前記本体部Aが前記取付部2に取付けられるように構成されている屋根用取付金具であって、
一対の前記対向挟持体3間に、この一対の対向挟持体3を互いに離間する方向に付勢して前記挟持部4間に前記取付部2を挿入可能な挿入用間隙7を形成するコイルスプリング8が介在状態に設けられていると共に、このコイルスプリング8は、前記締付ボルト5に沿って配設されていることを特徴とする屋根用取付金具に係るものである。
【0010】
また、前記コイルスプリング8は、前記締付ボルト5に被嵌状態に配設されて一対の前記対向挟持体3間に介在状態に設けられていることを特徴とする請求項1記載の屋根用取付金具に係るものである。
(【0011】以降は省略されています)
この特許をJ-PlatPat(特許庁公式サイト)で参照する
関連特許
個人
接合構造
13日前
個人
タッチミー
12日前
個人
屋台
1か月前
個人
野良猫ハウス
1か月前
個人
転落防止用手摺
1か月前
個人
フェンス
2か月前
個人
居住車両用駐車場
1か月前
積水樹脂株式会社
柵体
1か月前
個人
地下型マンション
3か月前
ニチハ株式会社
建築板
1か月前
個人
筋交自動設定装置
20日前
個人
ベンリナアングル
12日前
個人
壁断熱パネル
4か月前
個人
鋼管結合資材
3か月前
株式会社タナクロ
テント
3か月前
個人
熱抵抗多層断熱建材
1か月前
個人
補強部材
1か月前
個人
柵
2か月前
個人
身体用シェルター
20日前
個人
防災建築物
2日前
鹿島建設株式会社
壁体
1か月前
個人
循環流水式屋根融雪装置
3か月前
成友建設株式会社
建物
1か月前
個人
身体用シェルター
20日前
イワブチ株式会社
組立柱
1か月前
個人
可搬型供養墓
18日前
株式会社熊谷組
吊り治具
17日前
インターマン株式会社
天井構造
2か月前
株式会社熊谷組
木質材料
1か月前
三協立山株式会社
構造体
20日前
株式会社熊谷組
床構成材
10日前
三協立山株式会社
構造体
20日前
三協立山株式会社
構造体
20日前
三協立山株式会社
構造体
4か月前
三協立山株式会社
構造体
20日前
三協立山株式会社
構造体
20日前
続きを見る
他の特許を見る