TOP
|
特許
|
意匠
|
商標
特許ウォッチ
Twitter
他の特許を見る
10個以上の画像は省略されています。
公開番号
2025144984
公報種別
公開特許公報(A)
公開日
2025-10-03
出願番号
2024044942
出願日
2024-03-21
発明の名称
文書生成装置、文書生成方法、及び、プログラム
出願人
日本電気株式会社
代理人
個人
,
個人
,
個人
主分類
G06F
40/56 20200101AFI20250926BHJP(計算;計数)
要約
【課題】インシデント対応における報告工程を効率化するとともに、報告精度を向上させる。
【解決手段】報告先決定手段は、インシデントに関連する情報に基づいて、インシデントの報告先を決定する。第1プロンプト取得手段は、決定された報告先に対応する基本プロンプトを取得する。第2プロンプト取得手段は、報告先を含む条件に基づいて、オプションプロンプトを取得する。プロンプト生成手段は、基本プロンプトと、オプションプロンプトとを結合して、結合プロンプトを生成する。文書生成手段は、結合プロンプトを言語モデルに入力して、インシデントに関する報告文書を生成する。
【選択図】図2
特許請求の範囲
【請求項1】
インシデントに関連する情報に基づいて、前記インシデントの報告先を決定する報告先決定手段と、
決定された報告先に対応する基本プロンプトを取得する第1プロンプト取得手段と、
前記報告先を含む条件に基づいて、オプションプロンプトを取得する第2プロンプト取得手段と、
前記基本プロンプトと、前記オプションプロンプトとを結合して、結合プロンプトを生成するプロンプト生成手段と、
前記結合プロンプトを言語モデルに入力して、前記インシデントに関する報告文書を生成する文書生成手段と、
を備える文書生成装置。
続きを表示(約 1,300 文字)
【請求項2】
前記条件は、前記インシデントの重大度に関する条件を含み、
前記第2プロンプト取得手段は、前記インシデントに関連する情報から前記インシデントの重大度を取得し、前記条件に基づいて前記オプションプロンプトを取得する請求項1に記載の文書生成装置。
【請求項3】
前記条件は、前記インシデントの発生時からの経過時間に関する条件を含み、
前記第2プロンプト取得手段は、前記インシデントに関連する情報から前記経過時間を取得し、前記条件に基づいて前記オプションプロンプトを取得する請求項1に記載の文書生成装置。
【請求項4】
前記インシデントに関連する情報は、前記インシデントに関する問合せ数、クレーム数、及び、SLA残時間の少なくとも一つを含む統計情報を含み、
前記条件は、前記統計情報に関する条件を含み、
前記第2プロンプト取得手段は、前記インシデントに関連する情報から前記統計情報を取得し、前記条件に基づいて前記オプションプロンプトを取得する請求項1に記載の文書生成装置。
【請求項5】
前記報告先に対応付けて基本プロンプトを規定した第1のテーブルを記憶した記憶部を備え、
前記第1プロンプト取得手段は、前記第1のテーブルを参照し、決定された報告先毎に前記基本プロンプトを取得する請求項1に記載の文書生成装置。
【請求項6】
前記記憶部は、前記条件に対応付けてオプションプロンプトを規定した第2のテーブルを記憶しており、
前記第2プロンプト取得手段は、前記第2のテーブルを参照し、前記条件に対応する前記オプションプロンプトを取得する請求項5に記載の文書生成装置。
【請求項7】
前記プロンプト生成手段は、前記基本プロンプト及び前記オプションプロンプトに含まれる置換文字列を、前記インシデントに関連する情報に含まれる文字列又は数字に置換する請求項1に記載の文書生成装置。
【請求項8】
コンピュータにより実行される文書作成方法であって、
インシデントに関連する情報に基づいて、前記インシデントの報告先を決定し、
決定された報告先に対応する基本プロンプトを取得し、
前記報告先を含む条件に基づいて、オプションプロンプトを取得し、
前記基本プロンプトと、前記オプションプロンプトとを結合して、結合プロンプトを生成し、
前記結合プロンプトを言語モデルに入力して、前記インシデントに関する報告文書を生成する文書生成方法。
【請求項9】
インシデントに関連する情報に基づいて、前記インシデントの報告先を決定し、
決定された報告先に対応する基本プロンプトを取得し、
前記報告先を含む条件に基づいて、オプションプロンプトを取得し、
前記基本プロンプトと、前記オプションプロンプトとを結合して、結合プロンプトを生成し、
前記結合プロンプトを言語モデルに入力して、前記インシデントに関する報告文書を生成する処理をコンピュータに実行させるプログラム。
発明の詳細な説明
【技術分野】
【0001】
本開示は、インシデント報告文書の生成に関する。
続きを表示(約 2,000 文字)
【背景技術】
【0002】
情報システムにおけるインシデント対応では、上位者へのエスカレーションやユーザへの報告が必要な場合、報告先や対応状況に応じてインシデント情報を取捨選択したり、文章の表現を考え作文するといった作業を行う必要がある。特許文献1は、過去に生成された管理レポートに含まれ得るインシデントの統計情報などを用いて、インシデント管理レポートを生成する手法を記載している。
【先行技術文献】
【特許文献】
【0003】
特開2011-203909号公報
【発明の概要】
【発明が解決しようとする課題】
【0004】
特許文献1の手法では、インシデントの分析によって切り替えられる文章そのものが固定であるため、経過時間等のインシデントの状況について箇条書きといった表現にせざるを得ない。また、インシデントの状況を一目で理解するためのサマリといった要素を報告に含めることができないため、報告文書としては簡素であり不十分なものとなる問題がある。
【0005】
本開示の1つの目的は、インシデント対応における報告工程を効率化するとともに、報告精度を向上させることにある。
【課題を解決するための手段】
【0006】
本開示の一つの観点では、文書生成装置は、
インシデントに関連する情報に基づいて、前記インシデントの報告先を決定する報告先決定手段と、
決定された報告先に対応する基本プロンプトを取得する第1プロンプト取得手段と、
前記報告先を含む条件に基づいて、オプションプロンプトを取得する第2プロンプト取得手段と、
前記基本プロンプトと、前記オプションプロンプトとを結合して、結合プロンプトを生成するプロンプト生成手段と、
前記結合プロンプトを言語モデルに入力して、前記インシデントに関する報告文書を生成する文書生成手段と、
を備える。
【0007】
本開示の他の観点では、コンピュータにより実行される文書作成方法は、
インシデントに関連する情報に基づいて、前記インシデントの報告先を決定し、
決定された報告先に対応する基本プロンプトを取得し、
前記報告先を含む条件に基づいて、オプションプロンプトを取得し、
前記基本プロンプトと、前記オプションプロンプトとを結合して、結合プロンプトを生成し、
前記結合プロンプトを言語モデルに入力して、前記インシデントに関する報告文書を生成する。
【0008】
本開示のさらに他の観点では、プログラムは、
インシデントに関連する情報に基づいて、前記インシデントの報告先を決定し、
決定された報告先に対応する基本プロンプトを取得し、
前記報告先を含む条件に基づいて、オプションプロンプトを取得し、
前記基本プロンプトと、前記オプションプロンプトとを結合して、結合プロンプトを生成し、
前記結合プロンプトを言語モデルに入力して、前記インシデントに関する報告文書を生成する処理をコンピュータに実行させる。
【発明の効果】
【0009】
本開示によれば、インシデント対応における報告工程を効率化するとともに、報告精度を向上させることができる。
【図面の簡単な説明】
【0010】
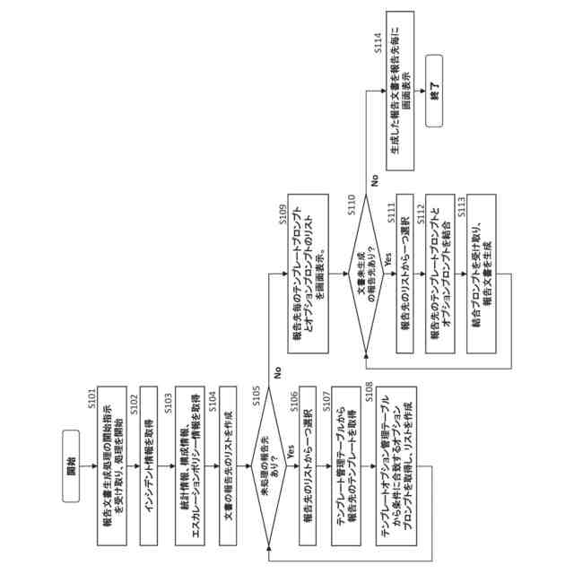
インシデント管理サーバのハードウェア構成を示すブロック図である。
インシデント管理サーバの機能構成を示すブロック図である。
インシデント管理テーブルの例を示す。
インシデント統計管理テーブルの例を示す。
エスカレーションポリシー管理テーブルの例を示す。
構成管理テーブルの例を示す。
テンプレート管理テーブルの例を示す。
テンプレートオプション管理テーブルの例を示す。
報告文書生成処理のフローチャートである。
プロンプト編集画面の表示例を示す。
報告文書生成結果の表示例である。
インシデントのエスカレーションを想定した報告文書の例である。
インシデントのエスカレーションを想定した報告文書の他の例である。
インシデントのユーザリリースを想定した報告文書の例である。
インシデントのユーザリリースを想定した報告文書の他の例である。
第2実施形態の文書生成装置の構成を示すブロック図である。
第2実施形態の文書生成装置による処理のフローチャートである。
【発明を実施するための形態】
(【0011】以降は省略されています)
この特許をJ-PlatPat(特許庁公式サイト)で参照する
関連特許
日本電気株式会社
分析装置
4日前
日本電気株式会社
学習装置
1か月前
日本電気株式会社
学習装置
28日前
日本電気株式会社
原子発振器
1か月前
日本電気株式会社
超伝導量子回路
24日前
日本電気株式会社
マルチバンドバラン
22日前
日本電気株式会社
量子回路装置と制御方法
4日前
日本電気株式会社
量子回路装置と制御方法
4日前
日本電気株式会社
通信装置および通信方法
今日
日本電気株式会社
検知装置および検知方法
4日前
日本電気株式会社
送信装置および通信装置
今日
日本電気株式会社
移相器およびアンテナ装置
1か月前
日本電気株式会社
移相器およびアンテナ装置
1か月前
日本電気株式会社
移相器およびアンテナ装置
1か月前
日本電気株式会社
分析方法および分析システム
1日前
日本電気株式会社
端末装置および無線通信方法
15日前
日本電気株式会社
機器冷却装置及びその冷却方法
16日前
日本電気株式会社
ケージ、光伝送装置及び挿抜方法
1か月前
日本電気株式会社
処理装置、方法、及びプログラム
28日前
日本電気株式会社
共振器及びそれを備えた導波回路
2日前
日本電気株式会社
プログラム、算出装置、及び方法
16日前
日本電気株式会社
TS合成装置および放送システム
1か月前
日本電気株式会社
推定装置、推定方法及びプログラム
7日前
日本電気株式会社
システム及びマイグレーション方法
4日前
日本電気株式会社
リング共振器、およびその製造方法
29日前
日本電気株式会社
ピーク抑圧装置及びピーク抑圧方法
14日前
日本電気株式会社
リング共振器、およびその製造方法
1か月前
日本電気株式会社
推定装置、推定方法及びプログラム
7日前
日本電気株式会社
処理装置、処理方法、及びプログラム
1か月前
日本電気株式会社
推定装置、推定方法、及び、記録媒体
1日前
日本電気株式会社
処理装置、処理方法、及びプログラム
4日前
日本電気株式会社
処理装置、処理方法、及びプログラム
1か月前
日本電気株式会社
波長可変レーザ装置及びその構成方法
今日
日本電気株式会社
画像管理システムおよび画像管理方法
2日前
日本電気株式会社
予測システム、予測方法及びプログラム
7日前
日本電気株式会社
通信装置、通信方法及び通信プログラム
1日前
続きを見る
他の特許を見る