TOP
|
特許
|
意匠
|
商標
特許ウォッチ
Twitter
他の特許を見る
10個以上の画像は省略されています。
公開番号
2025145390
公報種別
公開特許公報(A)
公開日
2025-10-03
出願番号
2024045543
出願日
2024-03-21
発明の名称
媒体処理装置及び画像形成システム
出願人
株式会社リコー
代理人
弁理士法人武和国際特許事務所
主分類
B65H
37/04 20060101AFI20250926BHJP(運搬;包装;貯蔵;薄板状または線条材料の取扱い)
要約
【課題】媒体の種類や媒体束を構成する媒体数に関わらず、安定した液体付与量を正確に調整することができる媒体処理装置を提供する。
【解決手段】少なくとも一枚の媒体の一部に接触し、当該媒体に液体付与をする液体付与部材を含む液体付与手段と、液体付与部材を媒体に向けて進退可能にする媒体押え手段と、媒体押え手段と液体付与部材との相対位置を検出する媒体押え位置検知手段と、媒体押え位置検知手段の検知情報に基づいて、少なくとも一枚の媒体に対する液体付与部材の移動量を決定し、当該移動量に基づいて液体付与部材を媒体に対して移動させる制御手段と、を備える媒体処理装置。
【選択図】図3
特許請求の範囲
【請求項1】
少なくとも一枚の媒体の一部に接触し、当該媒体に液体付与をする液体付与部材を含む液体付与手段と、
前記液体付与部材を前記媒体に向けて進退可能にする媒体押え手段と、
前記媒体押え手段と前記液体付与部材との相対位置を検出する媒体押え位置検知手段と、
前記媒体押え位置検知手段の検知情報に基づいて、少なくとも一枚の前記媒体に対する前記液体付与部材の移動量を決定し、当該移動量に基づいて前記液体付与部材を前記媒体に対して移動させる制御手段と、
を備えることを特徴とする媒体処理装置。
続きを表示(約 470 文字)
【請求項2】
前記媒体押え位置検知手段は、前記液体付与手段に対し、取り付け位置を調整可能にして設置されている、
請求項1に記載の媒体処理装置。
【請求項3】
前記制御手段は、前記検知情報と前記媒体に関する情報と、基づいて前記移動量を変更する、
請求項1又は2に記載の媒体処理装置。
【請求項4】
前記媒体に関する情報には、当該媒体の厚み情報、当該媒体の坪量情報、当該媒体における前記媒体の吸収性を示す吸収特性情報、の少なくとも一つの情報、又は、各情報をカテゴリに分けたカテゴリ情報を含む、
請求項1に記載の媒体処理装置。
【請求項5】
前記媒体に画像を形成する画像形成装置と、
前記画像形成装置によって画像が形成された複数の前記媒体に対し前記液体付与を施す請求項1に記載の媒体処理装置と、
を備えることを特徴とする画像形成システム。
【請求項6】
前記制御手段を前記画像形成装置に備えることを特徴とする請求項5に記載の画像形成システム。
発明の詳細な説明
【技術分野】
【0001】
本発明は、媒体処理装置及び画像形成システムに関する。
続きを表示(約 2,300 文字)
【背景技術】
【0002】
シート状の媒体を積み重ねたシート束を綴る媒体処理装置が知られている。当該媒体処理装置に適用される綴じ処理として、シート束に貫通させる針状の部材(綴じ部材)を用いて綴る「針綴じ処理」や、シート束の一部を加圧変形させて綴る「圧着綴じ処理」などが知られている。
【0003】
圧着綴じをするときにシート状の媒体としての用紙に、液体を付与する液体付与圧着綴じ装置も知られている。液体付与圧着綴じ装置は、発泡材である液体付与部材を媒体に直接的に押圧して液体を付与する。
【0004】
液体付与圧着綴じ装置に関し、液体付与を行なうときの押圧制御について、押圧される液体付与部材の押し潰し量によって、付与する液体量を調整し、最適な液体付与条件において液体付与圧着綴じを実行可能にする構成が開示されている(例えば、特許文献1を参照)。
【発明の概要】
【発明が解決しようとする課題】
【0005】
特許文献1に開示の従来技術では、液体付与をする媒体を積載する積載台の積載面位置を0mm基準で装置調整を実施し、液体付与をする媒体束の厚みを媒体枚数と媒体の厚み情報から算出して液体付与面位置を決定し、液体付与部材の押し潰し量を調整している。
【0006】
上記の従来方法において、媒体の厚み情報を正確に取得する事は困難である。なぜならば、媒体、特に紙の場合、その種類を区別する要素は、紙単位の厚みではなく単位面積当たりの重さに基づいている。したがって、紙の繊維密度や添加物などの影響により、紙の厚みの誤差は大きく生ずることがある。なお、用紙束を構成する用紙枚数が増加するほど誤差は増加する。この誤差によって実際の液体付与面と、上記のように算出された液体付与面と、位置のズレは大きくなる。すなわち、従来技術では、液体付与部材の押し潰し量を精度よく制御することは困難である、という課題がある。
【0007】
本発明は、媒体の種類や媒体束を構成する媒体枚数に関わらず、安定した液体付与量を正確に調整することができる媒体処理装置を提供することを目的とする。
【課題を解決するための手段】
【0008】
上記課題を解決するために、本発明の一態様は、媒体処理装置に関し、少なくとも一枚の媒体の一部に接触して液体を付与する液体付与部材を用いた液体付与をする液体付与手段と、前記液体付与部材を前記媒体の方向に対して突出又は対比可能にする媒体押え手段と、前記媒体押え手段と前記液体付与部材との相対位置を検出する媒体押え位置検知手段と、前記媒体押え位置検知手段の検出情報に基づいて、少なくとも一枚の前記媒体に対する前記液体付与部材の移動量を決定し、当該移動量に基づいて前記液体付与部材を前記媒体に対して移動させる制御手段と、を備えることを特徴とする。
【発明の効果】
【0009】
本発明によれば、媒体の種類や媒体束を構成する媒体枚数に関わらず、安定した液体付与量を正確に調整することができる。
【図面の簡単な説明】
【0010】
画像形成システムの全体構成を示す図。
第一実施形態に係る後処理装置の内部構造を示す図。
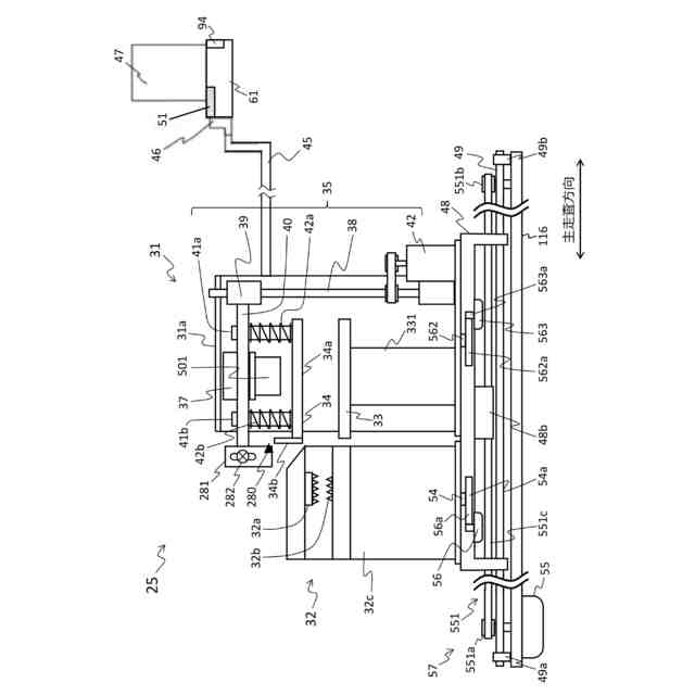
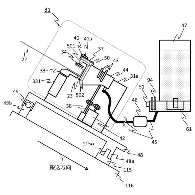
端綴じ処理部を搬送方向の上流側から見た模式図。
端綴じ処理部を主走査方向の液体付与手段側から見た模式図。
端綴じ処理部の圧着手段の構成を示す模式図。
針綴じ処理部を搬送方向の上流側から見た模式図。
針綴じ処理部の変形例を搬送方向の上流側から見た模式図。
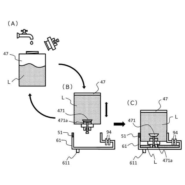
後処理装置における第二貯液タンクの配置及び構成を示す図。
後処理装置における第二貯液タンクの着脱構成を示す図。
第一実施形態に係る後処理装置を制御する制御ブロックのハードウェア構成図。
端綴じ処理部による綴じ処理のフローチャート。
1箇所綴じの実行中における端綴じ処理部の位置を示す図。
2箇所綴じの実行中における端綴じ処理部の位置を示す図。
本実施形態に係る液体付与移動機構の詳細を説明する図。
液体付与移動機構の動作及び状態を説明する図。
液体付与移動機構の動作及び状態を説明する図。
液体付与部材の制御値のカテゴリを例示する図。
液体付与移動機構の初期設定処理を説明するフローチャート。
液体付与移動機構の動作制御を含む液体付与処理のフローチャート。
綴じ処理のフローチャート。
第二実施形態に係る後処理装置の内部構造を示す図。
第二実施形態に係る内部トレイを用紙の厚み方向から見た図。
第二実施形態に係る圧着手段を搬送方向の下流側から見た模式図。
第二実施形態に係る液体付与手段を用紙の厚み方向から見た図。
図24のXXV-XXVにおける断面図。
図24のXXVI-XXVIにおける断面図。
第二実施形態に係る後処理装置の制御ブロックのハードウェア構成図。
第二実施形態に係る後処理装置の後処理フローチャート。
画像形成システムの変形例の全体構成を示す図。
後処理装置の制御部の変形例1を示す図。
後処理装置の制御部の変形例2を示す図。
【発明を実施するための形態】
(【0011】以降は省略されています)
この特許をJ-PlatPat(特許庁公式サイト)で参照する
関連特許
株式会社リコー
移動体
今日
株式会社リコー
綴じ装置
1か月前
株式会社リコー
印刷システム
9日前
株式会社リコー
画像形成装置
28日前
株式会社リコー
映像表示装置
1か月前
株式会社リコー
感熱記録媒体
6日前
株式会社リコー
画像形成装置
27日前
株式会社リコー
画像形成装置
20日前
株式会社リコー
履帯式走行体
1か月前
株式会社リコー
画像形成装置
9日前
株式会社リコー
画像形成装置
9日前
株式会社リコー
画像形成装置
9日前
株式会社リコー
液体塗布装置
13日前
株式会社リコー
画像形成装置
12日前
株式会社リコー
画像形成装置
1か月前
株式会社リコー
画像形成装置
5日前
株式会社リコー
情報処理システム
1か月前
株式会社リコー
画像投射システム
20日前
株式会社リコー
拡張アンテナ装置
12日前
株式会社リコー
投薬管理システム
28日前
株式会社リコー
生体情報測定装置
6日前
株式会社リコー
印刷応答補償機構
13日前
株式会社リコー
画像形成システム
5日前
株式会社リコー
液体を吐出する装置
6日前
株式会社リコー
マーキングシステム
12日前
株式会社リコー
電極及びその製造方法
9日前
株式会社リコー
電極及びその製造方法
7日前
株式会社リコー
多孔質構造体の製造方法
9日前
株式会社リコー
測定装置および測定方法
29日前
株式会社リコー
測定装置および測定方法
29日前
株式会社リコー
測定装置および測定方法
29日前
株式会社リコー
定着装置及び画像形成装置
13日前
株式会社リコー
定着装置及び画像形成装置
19日前
株式会社リコー
樹脂粒子およびその製造方法
28日前
株式会社リコー
パルスバルブおよび塗布装置
9日前
株式会社リコー
液体塗布装置および洗浄方法
9日前
続きを見る
他の特許を見る