TOP
|
特許
|
意匠
|
商標
特許ウォッチ
Twitter
他の特許を見る
10個以上の画像は省略されています。
公開番号
2025145554
公報種別
公開特許公報(A)
公開日
2025-10-03
出願番号
2024045783
出願日
2024-03-21
発明の名称
用紙処理装置、用紙処理方法、およびプログラム
出願人
株式会社リコー
代理人
弁理士法人酒井国際特許事務所
主分類
B65H
43/04 20060101AFI20250926BHJP(運搬;包装;貯蔵;薄板状または線条材料の取扱い)
要約
【課題】排紙までの時間を短縮しつつ、用紙を適切にスタックすること。
【解決手段】用紙処理装置は、綴じ処理部及び排紙トレイを備え、画像形成装置において画像データに基づく画像が印刷された用紙を、綴じ処理部及び排紙トレイへ搬送可能な用紙処理装置であって、画像のうち、用紙の搬送方向の上流側部分に印刷される画像の画像データを取得する取得部と、画像データに、用紙のカール量及びカール方向を付与したものを教師データとして学習させた学習モデルに対し、取得部において取得された画像データを入力として与え、用紙のカール量及びカール方向を出力として得ることにより、画像が印刷された後の用紙のカール量及びカール方向を推定する推定部と、推定された用紙のカール量及びカール方向の少なくともいずれかに基づいて、用紙の、綴じ処理部及び排紙トレイの少なくともいずれかへの搬送を制御する搬送制御部と、を備える。
【選択図】図5
特許請求の範囲
【請求項1】
綴じ処理部及び排紙トレイを備え、画像形成装置において画像データに基づく画像が印刷された用紙を、前記綴じ処理部及び前記排紙トレイへ搬送可能な用紙処理装置であって、
前記画像のうち、前記用紙の搬送方向の上流側部分に印刷される前記画像の前記画像データを取得する取得部と、
画像データに、用紙のカール量及びカール方向を付与したものを教師データとして学習させた学習モデルに対し、前記取得部において取得された前記画像データを入力として与え、前記用紙のカール量及びカール方向を出力として得ることにより、前記画像が印刷された後の前記用紙のカール量及びカール方向を推定する推定部と、
推定された前記用紙の前記カール量及びカール方向の少なくともいずれかに基づいて、前記用紙の、前記綴じ処理部及び前記排紙トレイの少なくともいずれかへの搬送を制御する搬送制御部と、を備える、
用紙処理装置。
続きを表示(約 2,500 文字)
【請求項2】
前記取得部は、
前記用紙の前記搬送方向の前記上流側部分であって、前記搬送方向と交差する前記用紙の幅方向に所定幅を有する部分に印刷される前記画像の画像データを取得する、
請求項1に記載の用紙処理装置。
【請求項3】
前記排紙トレイは、前記用紙を積載する部分の形状が異なる複数の排紙トレイを含んで構成され、
前記搬送制御部は、
前記推定部において推定された前記用紙の前記カール量及びカール方向の少なくともいずれかに基づいて、前記複数の排紙トレイうち、前記用紙の搬送先となる排紙トレイを決定する、
請求項1に記載の用紙処理装置。
【請求項4】
前記綴じ処理部は、前記用紙に対する針無し綴じ処理、または針有り綴じ処理のいずれかを選択的に実行可能な機能を有し、
前記搬送制御部は、
前記推定部において推定された前記用紙の前記カール量及びカール方向の少なくともいずれかに基づいて、前記綴じ処理の方法を決定する、
請求項1に記載の用紙処理装置。
【請求項5】
前記学習モデルは、画像データと、前記用紙の用紙厚、用紙硬度、及び水分量を含む用紙情報とに、前記用紙のカール量及びカール方向を付与したものを教師データとして学習されており、
前記取得部は、
前記画像のうち、前記用紙の搬送方向の上流側部分に印刷される前記画像の前記画像データと、前記用紙の用紙厚、用紙硬度、及び水分量の少なくともいずれかを示す情報とを取得し、
前記推定部は、
前記学習モデルに対して、前記取得部において取得した前記画像データと、前記用紙の用紙厚、用紙硬度、及び水分量の少なくともいずれかと、を入力として与えることにより、前記用紙のカール量を推定する、
請求項1に記載の用紙処理装置。
【請求項6】
前記搬送制御部は、
前記推定部において推定された前記カール量に基づいて、前記用紙の前記排紙トレイに対する線速度を変更する制御を実行する、
請求項1に記載の用紙処理装置。
【請求項7】
前記学習モデルは、画像データと、前記用紙の用紙厚、及び用紙硬度を含む用紙情報にとに、前記用紙のカール量及びカール方向を付与したものを教師データとして学習されており、
前記取得部は、
前記用紙の用紙厚、及び用紙硬度の少なくともいずれかを示す情報を取得し、
前記推定部は、
前記学習モデルに対して、前記取得部において取得した前記用紙の用紙厚、及び用紙硬度の少なくともいずれかを入力として与えることにより、当該用紙のカール量を推定し、
前記搬送制御部は、
前記推定部において推定された前記カール量に基づいて、
前記画像形成装置の前記画像の印刷前の前記用紙を格納する給紙部が有する前記用紙を加温可能な加温機構を作動させる旨の情報を前記画像形成装置へ送信する、
請求項1に記載の用紙処理装置。
【請求項8】
前記学習モデルは、
画像データに、用紙のカール量及びカール方向と用紙処理装置内の温度上昇値との関係を付与したものを教師データとして学習されており、
前記推定部は、
前記学習モデルに対して、前記取得部において取得された前記画像データを入力として与え、前記用紙処理装置内の温度上昇値を出力として得ることにより、前記温度上昇値に対応する前記用紙のカール量及びカール方向を推定し、
前記搬送制御部は、
推定された前記用紙の前記カール量及びカール方向の少なくともいずれかに基づいて、前記用紙の前記排紙トレイに対する線速度を変更する制御を実行する、
請求項1に記載の用紙処理装置。
【請求項9】
用紙処理装置で実行される用紙処理方法であって、
前記用紙処理装置は、
綴じ処理部及び排紙トレイを備え、画像形成装置において画像データに基づく画像が印刷された用紙を、前記綴じ処理部及び前記排紙トレイへ搬送可能な用紙処理装置であって、
前記画像のうち、前記用紙の搬送方向の上流側部分に印刷される前記画像の前記画像データを取得する工程と、
画像データに、用紙のカール量及びカール方向を付与したものを教師データとして学習させた学習モデルに対し、取得された前記画像データを入力として与え、前記用紙のカール量及びカール方向を出力として得ることにより、前記画像が印刷された後の前記用紙のカール量及びカール方向を推定する工程と、
推定された前記用紙の前記カール量及びカール方向の少なくともいずれかに基づいて、前記用紙の、前記綴じ処理部及び前記排紙トレイの少なくともいずれかへの搬送を制御する工程と、
を含むことを特徴とする用紙処理方法。
【請求項10】
用紙処理装置のコンピュータに実行させるためのプログラムであって、
前記用紙処理装置は、
綴じ処理部及び排紙トレイを備え、画像形成装置において画像データに基づく画像が印刷された用紙を、前記綴じ処理部及び前記排紙トレイへ搬送可能な用紙処理装置であって、
前記画像のうち、前記用紙の搬送方向の上流側部分に印刷される前記画像の前記画像データを取得する工程と、
画像データに、用紙のカール量及びカール方向を付与したものを教師データとして学習させた学習モデルに対し、取得された前記画像データを入力として与え、前記用紙のカール量及びカール方向を出力として得ることにより、前記画像が印刷された後の前記用紙のカール量及びカール方向を推定する工程と、
推定された前記用紙の前記カール量及びカール方向の少なくともいずれかに基づいて、前記用紙の、前記綴じ処理部及び前記排紙トレイの少なくともいずれかへの搬送を制御する工程と、
をコンピュータに実行させるためのプログラム。
発明の詳細な説明
【技術分野】
【0001】
本発明は、用紙処理装置、用紙処理方法、およびプログラムに関する。
続きを表示(約 2,300 文字)
【背景技術】
【0002】
従来、画像が印刷された用紙は、カールすることがある。用紙のカール状態は、用紙に印刷される画像面積の多少等によって異なる。用紙がカールしていると、揃え精度不良や用紙の丸まりが生じることがある。これにより、綴じずれ、綴じ抜けが発生したり、用紙を適切にスタックできないことがある。
【0003】
特許文献1には、用紙のカールを検出し、AI学習モデルを使ってカールを矯正させる技術が開示されている。また、特許文献2には、用紙の単位面積当たりのトナー量を予測し、トナー量に基づき印刷開始の可否を判断する技術が開示されている。
【発明の概要】
【発明が解決しようとする課題】
【0004】
しかしながら、特許文献1、2に記載された技術では、用紙全体に印刷される画像情報を読み取り、読み取った情報に基づいてカールの矯正や印刷開始の可否判断等を行う。そのため、用紙が排紙されるまでに時間がかかるという問題がある。
【0005】
本発明は、上記に鑑みてなされたものであって、排紙までの時間を短縮しつつ、用紙を適切にスタックすることが可能な用紙処理装置、用紙処理方法、およびプログラムを提供することを目的とする。
【課題を解決するための手段】
【0006】
上述した課題を解決し、目的を達成するために、本発明は、綴じ処理部及び排紙トレイを備え、画像形成装置において画像データに基づく画像が印刷された用紙を、前記綴じ処理部及び前記排紙トレイへ搬送可能な用紙処理装置であって、前記画像のうち、前記用紙の搬送方向の上流側部分に印刷される前記画像の前記画像データを取得する取得部と、画像データに、用紙のカール量及びカール方向を付与したものを教師データとして学習させた学習モデルに対し、前記取得部において取得された前記画像データを入力として与え、前記用紙のカール量及びカール方向を出力として得ることにより、前記画像が印刷された後の前記用紙のカール量及びカール方向を推定する推定部と、推定された前記用紙の前記カール量及びカール方向の少なくともいずれかに基づいて、前記用紙の、前記綴じ処理部及び前記排紙トレイの少なくともいずれかへの搬送を制御する搬送制御部と、を備えることを特徴とする。
【発明の効果】
【0007】
本発明によれば、排紙までの時間を短縮しつつ、用紙を適切にスタックすることができるという効果を奏する。
【図面の簡単な説明】
【0008】
図1は、第1の実施形態の画像形成システムのシステム構成の一例を示す図である。
図2は、第1の実施形態に係る用紙処理装置の構成例を説明する図である。
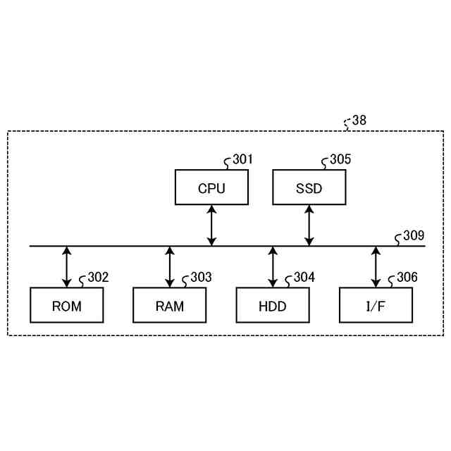
図3は、第1の実施形態に係る制御装置のハードウェア構成の一例を示す図である。
図4は、第1の実施形態に係る制御装置の機能構成の一例を示す図である。
図5は、第1の実施形態に係る取得部の取得対象となる画像データについて説明する模式図である。
図6は、第1の実施形態に係るカール状態推定処理に用いられる教師データの一例を示す図である。
図7は、第1の実施形態に係る用紙処理装置におけるカール状態推定処理、及び搬送制御処理を含む動作の流れの一例を示すフローチャートである。
図8は、第1の実施形態の変形例に係る用紙処理装置におけるカール状態推定処理、及び搬送制御処理を含む動作の流れの一例を示すフローチャートである。
図9は、第2の実施形態の画像形成システムのシステム構成の一例を示す図である。
図10は、第2の実施形態に係る用紙処理装置におけるカール状態推定処理、及び搬送制御処理を含む動作の流れの一例を示すフローチャートである。
図11は、第2の実施形態の変形例1に係る用紙処理装置におけるカール状態推定処理、及び搬送制御処理を含む動作の流れの一例を示すフローチャートである。
図12は、第2の実施形態の変形例2に係る用紙処理装置におけるカール状態推定処理、及び搬送制御処理を含む動作の流れの一例を示すフローチャートである。
図13は、第2の実施形態の変形例3に係る画像形成システムが備える画像形成装置の給紙トレイの構造の一例を示す模式図である。
図14は、第2の実施形態の変形例3に係る用紙処理装置におけるカール状態推定処理、及び搬送制御処理を含む動作の流れの一例を示すフローチャートである。
図15は、第2の実施形態の変形例4に係る用紙処理装置におけるカール状態推定処理、及び搬送制御処理を含む動作の流れの一例を示すフローチャートである。
【発明を実施するための形態】
【0009】
図1~図7を参照して、第1の実施形態に係る用紙処理装置について説明する。
【0010】
(第1の実施形態)
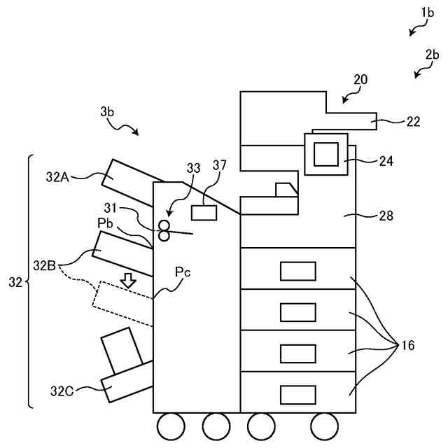
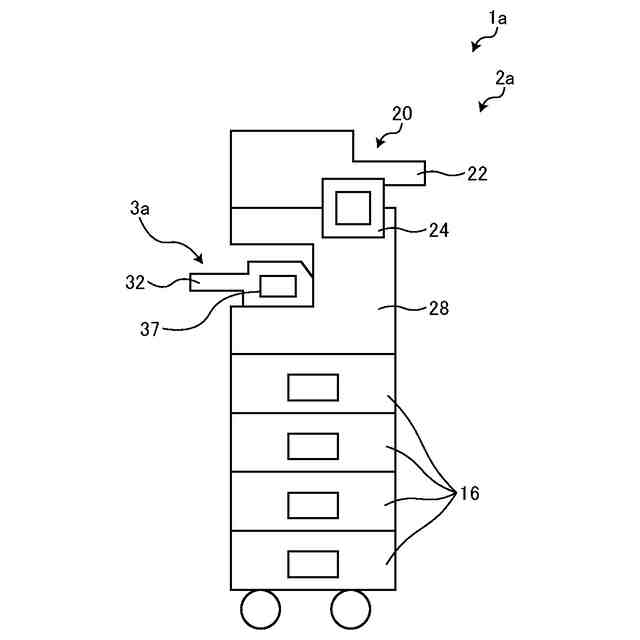
図1は、第1の実施形態の画像形成システム1aのシステム構成の一例を示す図である。画像形成システム1aは、例えば、スキャナ機能、複写機能、ファクシミリ機能、及び、印刷機能等の複数の機能を有する複合機(MFP:Multi-Function Printer)である。図1に示すように、画像形成システム1aは、画像形成装置2aと、用紙処理装置3aとを備える。画像形成装置2aと、用紙処理装置3aとは、相互に通信可能に接続されている。
(【0011】以降は省略されています)
この特許をJ-PlatPat(特許庁公式サイト)で参照する
関連特許
株式会社リコー
移動体
今日
株式会社リコー
画像形成装置
9日前
株式会社リコー
印刷システム
9日前
株式会社リコー
画像形成装置
12日前
株式会社リコー
画像形成装置
5日前
株式会社リコー
液体塗布装置
13日前
株式会社リコー
画像形成装置
28日前
株式会社リコー
画像形成装置
27日前
株式会社リコー
画像形成装置
20日前
株式会社リコー
画像形成装置
9日前
株式会社リコー
映像表示装置
1か月前
株式会社リコー
画像形成装置
9日前
株式会社リコー
感熱記録媒体
6日前
株式会社リコー
情報処理システム
1か月前
株式会社リコー
生体情報測定装置
6日前
株式会社リコー
画像形成システム
5日前
株式会社リコー
投薬管理システム
28日前
株式会社リコー
画像投射システム
20日前
株式会社リコー
印刷応答補償機構
13日前
株式会社リコー
拡張アンテナ装置
12日前
株式会社リコー
マーキングシステム
12日前
株式会社リコー
液体を吐出する装置
6日前
株式会社リコー
電極及びその製造方法
7日前
株式会社リコー
電極及びその製造方法
9日前
株式会社リコー
多孔質構造体の製造方法
9日前
株式会社リコー
測定装置および測定方法
29日前
株式会社リコー
測定装置および測定方法
29日前
株式会社リコー
測定装置および測定方法
29日前
株式会社リコー
定着装置及び画像形成装置
19日前
株式会社リコー
定着装置及び画像形成装置
13日前
株式会社リコー
液体塗布装置および洗浄方法
9日前
株式会社リコー
塗装システム、及び塗装方法
9日前
株式会社リコー
印刷装置および印刷システム
5日前
株式会社リコー
樹脂粒子およびその製造方法
28日前
株式会社リコー
センサ素子及びセンサアレイ
19日前
株式会社リコー
センサ素子及びセンサアレイ
19日前
続きを見る
他の特許を見る