TOP
|
特許
|
意匠
|
商標
特許ウォッチ
Twitter
他の特許を見る
10個以上の画像は省略されています。
公開番号
2025128893
公報種別
公開特許公報(A)
公開日
2025-09-03
出願番号
2024025890
出願日
2024-02-22
発明の名称
ゴルフクラブヘッドのフィッティング装置、フィッティング方法及びフィッティングプログラム
出願人
住友ゴム工業株式会社
代理人
個人
,
個人
,
個人
,
個人
,
個人
主分類
A63B
60/46 20150101AFI20250827BHJP(スポーツ;ゲーム;娯楽)
要約
【課題】 プレーヤーのそれぞれのスイング動作に適したウェッジ型ヘッドを容易に特定する。
【解決手段】 ゴルフクラブヘッドのフィッティング装置200であって、プレーヤーによるゴルフクラブのスイング動作を計測機器により計測した計測データを取得する取得部201と、計測データに基づいて、スイング指標を算出する算出部202と、スイング指標に基づいて、ゴルフクラブヘッドの特性を選択する選択部203と、を含む。ゴルフクラブヘッドは、ウェッジ型ヘッドであり、スイング指標は、スイング動作のシャフト軸周りの回転に関するローテーション指標を含み、選択部203は、特性として、ローテーション指標に基づいてプレーヤーに適したウェッジ型ヘッドのバンス角を選択する。
【選択図】 図2
特許請求の範囲
【請求項1】
ゴルフクラブヘッドのフィッティング装置であって、
プレーヤーによるゴルフクラブのスイング動作を計測機器により計測した計測データを取得する取得部と、
前記計測データに基づいて、スイング指標を算出する算出部と、
前記スイング指標に基づいて、ゴルフクラブヘッドの特性を選択する選択部と、を含み、
前記ゴルフクラブヘッドは、ウェッジ型ヘッドであり、
前記スイング指標は、前記スイング動作のシャフト軸周りの回転に関するローテーション指標を含み、
前記選択部は、前記特性として、前記ローテーション指標に基づいて前記プレーヤーに適した前記ウェッジ型ヘッドのバンス角を選択する、
ゴルフクラブヘッドのフィッティング装置。
続きを表示(約 1,300 文字)
【請求項2】
前記選択部は、前記ローテーション指標が予め定めた第1基準値よりも大きい場合、予め定められた基準バンス角よりも大きいバンス角を選択する、請求項1に記載のゴルフクラブヘッドのフィッティング装置。
【請求項3】
前記選択部は、前記ローテーション指標が前記第1基準値よりも小さい予め定めた第2基準値よりも小さい場合、前記基準バンス角よりも小さいバンス角を選択する、請求項2に記載のゴルフクラブヘッドのフィッティング装置。
【請求項4】
前記選択部は、前記ローテーション指標が前記第1基準値以下、かつ、前記第2基準値以上の場合、前記基準バンス角を選択する、請求項3に記載のゴルフクラブヘッドのフィッティング装置。
【請求項5】
前記スイング指標は、さらに、前記スイング動作のコック動作に関するコック指標を含み、
前記選択部は、さらに、前記特性として、前記コック指標に基づいて前記ウェッジ型ヘッドのライ角を選択する、請求項4に記載のゴルフクラブヘッドのフィッティング装置。
【請求項6】
前記選択部は、前記ローテーション指標が前記第2基準値よりも小さく、かつ、前記コック指標が予め定めた第3基準値よりも大きい場合、予め定められた基準ライ角よりも小さいライ角を選択する、請求項5に記載のゴルフクラブヘッドのフィッティング装置。
【請求項7】
前記選択部は、前記ローテーション指標が前記第1基準値よりも大きく、かつ、前記コック指標が前記第3基準値よりも小さい予め定めた第4基準値よりも小さい場合、前記基準ライ角よりも大きいライ角を選択する、請求項6に記載のゴルフクラブヘッドのフィッティング装置。
【請求項8】
前記選択部は、前記ローテーション指標が前記第1基準値よりも大きく、かつ、前記コック指標が前記第3基準値よりも大きい場合、前記基準ライ角を選択する、請求項7に記載のゴルフクラブヘッドのフィッティング装置。
【請求項9】
前記選択部は、前記ローテーション指標が前記第2基準値よりも小さく、かつ、前記コック指標が前記第4基準値よりも小さい場合、前記基準ライ角を選択する、請求項8に記載のゴルフクラブヘッドのフィッティング装置。
【請求項10】
ゴルフクラブヘッドのフィッティング方法であって、
プレーヤーによるゴルフクラブのスイング動作を計測機器により計測した計測データを取得するステップと、
前記計測データに基づいて、スイング指標を算出するステップと、
前記スイング指標に基づいて、ゴルフクラブヘッドの特性を選択するステップと、を含み、
前記ゴルフクラブヘッドは、ウェッジ型ヘッドであり、
前記スイング指標は、前記スイング動作のシャフト軸周りの回転に関するローテーション指標を含み、
前記選択するステップは、前記特性として、前記ローテーション指標に基づいて前記プレーヤーに適した前記ウェッジ型ヘッドのバンス角を選択する、
ゴルフクラブヘッドのフィッティング方法。
(【請求項11】以降は省略されています)
発明の詳細な説明
【技術分野】
【0001】
本発明は、ゴルフクラブヘッドのフィッティング装置、フィッティング方法及びフィッティングプログラムに関する。
続きを表示(約 2,200 文字)
【背景技術】
【0002】
近年、プレーヤーのスイング動作を計測し、当該プレーヤーのスイング動作に適したゴルフクラブシャフトを提案するためのフィッティング装置が種々提案されている(下記特許文献1及び2参照)。
【先行技術文献】
【特許文献】
【0003】
特開2023-103070号公報
特許第6087132号公報
【発明の概要】
【発明が解決しようとする課題】
【0004】
ゴルフクラブには、主にグリーン周りで多用されるウェッジが含まれる。ウェッジは、比較的短い距離のショットを打つ目的でデザインされており、そのクラブヘッド(以下、単に、「ウェッジ型ヘッド」ということがある。)は、ゴルフクラブセットの中でも大きなロフト角を有する。一般に、ロフト角が大きいクラブヘッドは、地面に突き刺さりやすくなることから、ウェッジ型ヘッドのソールには、通常、バンス(又は「バウンス」)と称される膨らみが設けられている。このバンスは、スイング時に地面と接触することで、ウェッジ型ヘッドのリーディングエッジが地面に突き刺さることが防止される。
【0005】
近年、ゴルフクラブメーカは、体格や技量が異なる様々なプレーヤーに適合させるために、バンスの大きさの程度を表すバンス角が異なる種々のウェッジの販売を展開している。しかしながら、プレーヤーのスイング動作は様々であり、各スイング動作に適したバンス角のウェッジ型ヘッドを特定することは容易ではない。
【0006】
本発明は、以上のような問題点に鑑み案出なされたもので、プレーヤーのそれぞれのスイング動作に適したウェッジ型ヘッドを容易に特定することが可能なゴルフクラブヘッドのフィッティング装置、フィッティング方法及びフィッティングプログラムを提供することを主たる課題としている。
【課題を解決するための手段】
【0007】
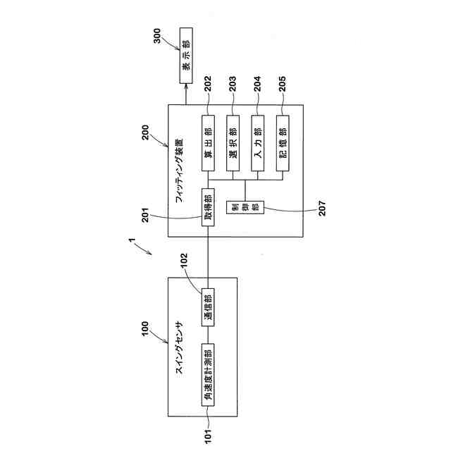
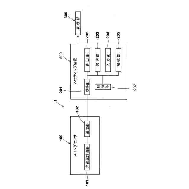
本発明は、ゴルフクラブヘッドのフィッティング装置であって、プレーヤーによるゴルフクラブのスイング動作を計測機器により計測した計測データを取得する取得部と、前記計測データに基づいて、スイング指標を算出する算出部と、前記スイング指標に基づいて、ゴルフクラブヘッドの特性を選択する選択部と、を含み、前記ゴルフクラブヘッドは、ウェッジ型ヘッドであり、前記スイング指標は、前記スイング動作のシャフト軸周りの回転に関するローテーション指標を含み、前記選択部は、前記特性として、前記ローテーション指標に基づいて前記プレーヤーに適した前記ウェッジ型ヘッドのバンス角を選択する、ゴルフクラブヘッドのフィッティング装置である。
【発明の効果】
【0008】
本発明のゴルフクラブヘッドのフィッティング装置は、上記の構成を採用したことにより、プレーヤーのそれぞれのスイング動作に適したウェッジ型ヘッドを容易に特定することが可能になる。
【図面の簡単な説明】
【0009】
本実施形態のゴルフクラブヘッドのフィッティングシステムを示す全体構成図である。
本実施形態のフィッティングシステムのブロック図である。
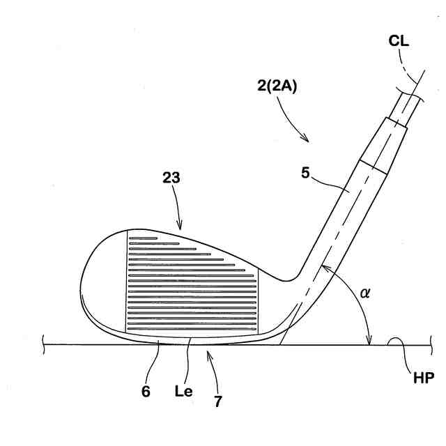
基準状態に置かれたウェッジ型ヘッドの側面図である。
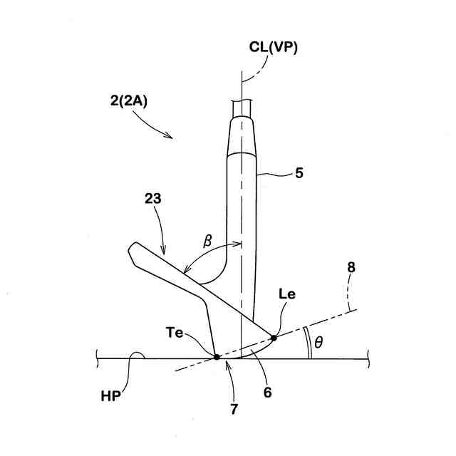
基準状態に置かれたウェッジ型ヘッドの正面図である。
スイング動作を説明する図である。
スイング動作における時間とシャフト軸周りの角速度との関係を示すグラフである。
スイング動作における時間とコック方向の角速度との関係を示すグラフである。
(A)は、ローテーションが大きいスイング動作を説明するためのボールインパクト付近の概念図、(B)は、ローテーションが小さいスイング動作を説明するためのボールインパクト付近の概念図である。
ローテーション指標、コック指標、バンス角及びライ角の関係を説明するグラフである。
バンス角を選択するための処理手順の一例を示すフローチャートである。
(A)は、アップライのスイング動作を説明するためのウェッジ型ヘッドの正面図、(B)は、フラットライのスイング動作を説明するためのウェッジ型ヘッドの正面図である。
ライ角を選択するための処理手順の一例を示すフローチャートである。
7名のテスターのスイング動作の計測結果を示すグラフである。
テスターAの実打テストの結果を示すグラフである。
テスターBの実打テストの結果を示すグラフである。
テスターDの実打テストの結果を示すグラフである。
テスターFの実打テストの結果を示すグラフである。
【発明を実施するための形態】
【0010】
以下、本発明の実施の一形態が図面に基づき説明される。
以下の実施形態及び図面に表された具体的な構成は、本発明の内容理解のためのものであって、本発明は、図示されている具体的な構成に限定されるものではない。また、複数の実施形態については、明細書を通して、同一又は共通する要素については同一の符号が付されており、重複する説明が省略される。
(【0011】以降は省略されています)
この特許をJ-PlatPat(特許庁公式サイト)で参照する
関連特許
住友ゴム工業株式会社
タイヤ
21日前
住友ゴム工業株式会社
タイヤ
14日前
住友ゴム工業株式会社
タイヤ
1か月前
住友ゴム工業株式会社
タイヤ
1か月前
住友ゴム工業株式会社
タイヤ
12日前
住友ゴム工業株式会社
タイヤ
1か月前
住友ゴム工業株式会社
タイヤ
13日前
住友ゴム工業株式会社
タイヤ
20日前
住友ゴム工業株式会社
ゴルフボール
28日前
住友ゴム工業株式会社
三次元構造体
12日前
住友ゴム工業株式会社
ゴルフボール
22日前
住友ゴム工業株式会社
空気入りタイヤ
1か月前
住友ゴム工業株式会社
空気入りタイヤ
26日前
住友ゴム工業株式会社
重荷重用タイヤ
22日前
住友ゴム工業株式会社
空気入りタイヤ
22日前
住友ゴム工業株式会社
試料の作製方法
21日前
住友ゴム工業株式会社
重荷重用タイヤ
1か月前
住友ゴム工業株式会社
重荷重用タイヤ
12日前
住友ゴム工業株式会社
空気入りタイヤ
12日前
住友ゴム工業株式会社
空気入りタイヤ
14日前
住友ゴム工業株式会社
空気入りタイヤ
14日前
住友ゴム工業株式会社
空気入りタイヤ
13日前
住友ゴム工業株式会社
重荷重用タイヤ
12日前
住友ゴム工業株式会社
光硬化性組成物
12日前
住友ゴム工業株式会社
重荷重用タイヤ
12日前
住友ゴム工業株式会社
脱輪抑止システム
1か月前
住友ゴム工業株式会社
ゴルフクラブヘッド
5日前
住友ゴム工業株式会社
スタッダブルタイヤ
1か月前
住友ゴム工業株式会社
自動二輪車用タイヤ
1か月前
住友ゴム工業株式会社
ゴム組成物の劣化試験方法
14日前
住友ゴム工業株式会社
タイヤ用ゴム組成物及びタイヤ
1か月前
住友ゴム工業株式会社
タイヤ用ゴム組成物及びタイヤ
1か月前
住友ゴム工業株式会社
タイヤ用ゴム組成物及びタイヤ
1か月前
住友ゴム工業株式会社
タイヤ用ゴム組成物及びタイヤ
1か月前
住友ゴム工業株式会社
車両のタックイン特性の評価方法。
1か月前
住友ゴム工業株式会社
変性シリカ、ゴム組成物及びタイヤ
1か月前
続きを見る
他の特許を見る