TOP
|
特許
|
意匠
|
商標
特許ウォッチ
Twitter
他の特許を見る
公開番号
2025135734
公報種別
公開特許公報(A)
公開日
2025-09-19
出願番号
2024033667
出願日
2024-03-06
発明の名称
重荷重用タイヤ
出願人
住友ゴム工業株式会社
代理人
弁理士法人サンクレスト国際特許事務所
主分類
B60C
19/00 20060101AFI20250911BHJP(車両一般)
要約
【課題】 RFIDタグからのデータの読取性能が良好で、かつ耐久性が良好な、重荷重用タイヤ2の提供。
【解決手段】 タイヤ2は、トレッド、一対のサイドウォール、一対のビード、カーカス、ベルト、一対のチェーファー、及びRFIDタグを含むタグ部材を備える。タイヤ2のビードは、コアとエイペックスとを備える。タイヤ2において、カーカスは、カーカスコードを含むカーカスプライを備え、カーカスコードは有機繊維からなる。カーカスプライは、一対のビードの間を架け渡すプライ本体と、このプライ本体に連なりビードで折り返される一対の折り返し部とを備える。タイヤ2は、正規状態のタイヤに正規荷重の50%の荷重を付与して、タイヤを平面に接触させた標準接地状態において、折り返し部の端がリムの軸方向外端より軸方向内側に位置し、RFIDタグがリムの軸方向外端より軸方向外側に位置しかつリムの径方向外端より径方向外側に位置する。タイヤ2は、RFIDタグの長さ方向と、カーカスコードのなす角度が80度以上90度以下である。
【選択図】図1
特許請求の範囲
【請求項1】
トレッドと、
前記トレッドの端に連なり、前記トレッドの径方向内側に位置する一対のサイドウォールと、
前記サイドウォールの径方向内側に位置する一対のビードと、
前記トレッド及び前記一対のサイドウォールの内側に位置し、一方のビードと他方のビードとの間を架け渡すカーカスと、
前記トレッドの径方向内側において前記カーカスに積層されるベルトと、
前記サイドウォールの径方向内側に位置し、リムと接触する一対のチェーファーと、
RFIDタグを含むタグ部材と、を備えるタイヤであって、
前記ビードが、コアと、前記コアの径方向外側に位置するエイペックスとを備え、
前記カーカスが、並列された複数のカーカスコードを含むカーカスプライを備え、
前記カーカスコードが、有機繊維からなり、
前記カーカスプライが、一対の前記ビードの間を架け渡すプライ本体と、前記プライ本体に連なり前記ビードで折り返される一対の折り返し部とを備え、
前記リムが正規リムであり、
前記タイヤを前記リムに組み、前記タイヤの内圧を正規内圧に調整した状態が正規状態であり、
前記正規状態の前記タイヤに正規荷重の50%の荷重を付与して、前記タイヤを平面に接触させた状態が、標準接地状態であり、
前記標準接地状態において、前記折り返し部の端は、軸方向において、前記リムの軸方向外端より内側に位置し、
前記標準接地状態において、前記RFIDタグは、軸方向において、前記リムの軸方向外端より外側に位置し、径方向において、前記リムの径方向外端より外側に位置し、
前記RFIDタグの長さ方向と、前記カーカスコードのなす角度が80度以上90度以下である、重荷重用タイヤ。
続きを表示(約 450 文字)
【請求項2】
前記カーカスコードは、アラミド繊維からなる、請求項1に記載の重荷重用タイヤ。
【請求項3】
前記標準接地状態において、前記RFIDタグは、径方向において、前記タイヤの最大幅位置より内側に位置する、請求項1又は2に記載の重荷重用タイヤ。
【請求項4】
径方向において前記トレッドと前記ベルトとの間に位置し、赤道面を挟んで相対する両端を有するバンドを備える、請求項1又は2に記載の重荷重用タイヤ。
【請求項5】
前記折り返し部の端は、前記コアと前記エイペックスとに挟まれている、請求項1又は2に記載の重荷重用タイヤ。
【請求項6】
前記折り返し部の端は、前記エイペックスの軸方向外側に位置し、
前記標準接地状態における前記折り返し部の端と前記リムの軸方向外端との軸方向距離LAよりも、前記標準接地状態におけるRFIDタグと前記リムの軸方向外端との軸方向距離LBが長い、請求項1又は2に記載の重荷重用タイヤ。
発明の詳細な説明
【技術分野】
【0001】
本発明は、重荷重用タイヤに関する。
続きを表示(約 1,900 文字)
【背景技術】
【0002】
タイヤの製造管理、顧客情報、走行履歴等のデータを管理するために、電波を介して読み書きを行うRFID(Radio Frequency Identification)タグが取り付けられたタイヤが提案されている。RFIDタグをタイヤに取り付ける技術について様々な検討が行われている(例えば、特許文献1)。
特許文献1は、RFIDタグをトラックやバスに使用される重荷重用タイヤに取り付ける技術を提案している。
【0003】
ところで、トラックやバスに使用される重荷重用タイヤは、一般に、カーカスコードなどのタイヤコードとして、スチールコードが採用されている。
【先行技術文献】
【特許文献】
【0004】
特開2021-046057号公報
【発明の概要】
【発明が解決しようとする課題】
【0005】
カーカスコードとして、スチールコードが採用されたタイヤにRFIDタグを取り付けた場合、スチールコードが電波の障壁となり、RFIDタグからのデータの読み取りが阻害されやすくなる。
【0006】
本発明の目的は、RFIDタグからのデータの読取性能が良好で、耐久性も良好な重荷重用タイヤを提供することにある。
本発明において、タイヤの耐久性が良好であるとは、走行可能距離が長く、RFIDタグが破損しにくいことをいう。
【課題を解決するための手段】
【0007】
本発明の一態様に係る重荷重用タイヤは、
トレッドと、
前記トレッドの端に連なり、前記トレッドの径方向内側に位置する一対のサイドウォールと、
前記サイドウォールの径方向内側に位置する一対のビードと、
前記トレッド及び前記一対のサイドウォールの内側に位置し、一方のビードと他方のビードとの間を架け渡すカーカスと、
前記トレッドの径方向内側において前記カーカスに積層されるベルトと、
前記サイドウォールの径方向内側に位置し、リムと接触する一対のチェーファーと、
RFIDタグを含むタグ部材と、を備えるタイヤであって、
前記ビードが、コアと、前記コアの径方向外側に位置するエイペックスとを備え、
前記カーカスが、並列された複数のカーカスコードを含むカーカスプライを備え、
前記カーカスコードが、有機繊維からなり、
前記カーカスプライが、一対の前記ビードの間を架け渡すプライ本体と、前記プライ本体に連なり前記ビードで折り返される一対の折り返し部とを備え、
前記リムが正規リムであり、
前記タイヤを前記リムに組み、前記タイヤの内圧を正規内圧に調整した状態が正規状態であり、
前記正規状態の前記タイヤに正規荷重の50%の荷重を付与して、前記タイヤを平面に接触させた状態が、標準接地状態であり、
前記標準接地状態において、前記折り返し部の端は、軸方向において、前記リムの軸方向外端より内側に位置し、
前記標準接地状態において、前記RFIDタグは、軸方向において、前記リムの軸方向外端より外側に位置し、径方向において、前記リムの径方向外端より外側に位置し、
前記RFIDタグの長さ方向と、前記カーカスコードのなす角度が80度以上90度以下である。
【発明の効果】
【0008】
本発明によれば、RFIDタグからのデータの読取性能が良好で、耐久性も良好な重荷重用タイヤを提供できる。
【図面の簡単な説明】
【0009】
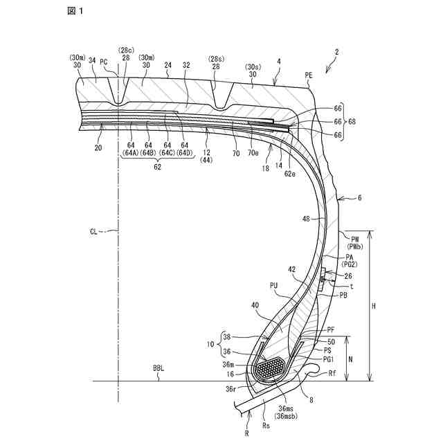
図1は、本発明の一実施形態に係る重荷重用タイヤの一部を示す断面図である。
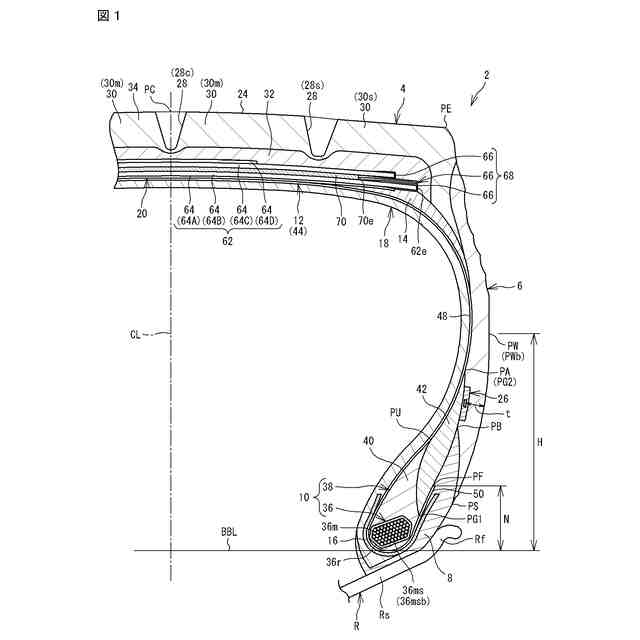
図2は、図1の重荷重用タイヤの一部を示す断面図である。
図3は、タグ部材の平面図である。
図4は、図3のIV-IV線に沿った断面図である。
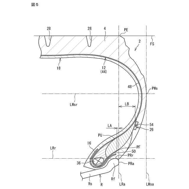
図5は、接地状態にある重荷重用タイヤの一部を示す断面図である。
図6は、RFIDタグの長さ方向と、カーカスコードとのなす角度を説明する図である。
図7は、本発明の別の一実施形態に係る重荷重用タイヤの一部を示す断面図である。
【発明を実施するための形態】
【0010】
本発明のタイヤはリムに組まれる。タイヤの内部には空気が充填され、タイヤの内圧が調整される。リムに組まれたタイヤはタイヤ-リム組立体とも呼ばれる。タイヤ-リム組立体は、リムと、このリムに組まれたタイヤとを備える。
(【0011】以降は省略されています)
この特許をJ-PlatPat(特許庁公式サイト)で参照する
関連特許
住友ゴム工業株式会社
タイヤ
4日前
住友ゴム工業株式会社
タイヤ
20日前
住友ゴム工業株式会社
タイヤ
1か月前
住友ゴム工業株式会社
タイヤ
1か月前
住友ゴム工業株式会社
タイヤ
18日前
住友ゴム工業株式会社
タイヤ
19日前
住友ゴム工業株式会社
タイヤ
27日前
住友ゴム工業株式会社
タイヤ
26日前
住友ゴム工業株式会社
ゴルフボール
1か月前
住友ゴム工業株式会社
三次元構造体
18日前
住友ゴム工業株式会社
ゴルフボール
28日前
住友ゴム工業株式会社
重荷重用タイヤ
1か月前
住友ゴム工業株式会社
空気入りタイヤ
1か月前
住友ゴム工業株式会社
空気入りタイヤ
1か月前
住友ゴム工業株式会社
重荷重用タイヤ
28日前
住友ゴム工業株式会社
空気入りタイヤ
28日前
住友ゴム工業株式会社
試料の作製方法
27日前
住友ゴム工業株式会社
空気入りタイヤ
18日前
住友ゴム工業株式会社
重荷重用タイヤ
18日前
住友ゴム工業株式会社
空気入りタイヤ
20日前
住友ゴム工業株式会社
空気入りタイヤ
20日前
住友ゴム工業株式会社
光硬化性組成物
18日前
住友ゴム工業株式会社
空気入りタイヤ
19日前
住友ゴム工業株式会社
重荷重用タイヤ
18日前
住友ゴム工業株式会社
重荷重用タイヤ
18日前
住友ゴム工業株式会社
脱輪抑止システム
1か月前
住友ゴム工業株式会社
スタッダブルタイヤ
1か月前
住友ゴム工業株式会社
自動二輪車用タイヤ
5日前
住友ゴム工業株式会社
ゴルフクラブヘッド
11日前
住友ゴム工業株式会社
ゴム組成物の劣化試験方法
20日前
住友ゴム工業株式会社
タイヤ用ゴム組成物及びタイヤ
1か月前
住友ゴム工業株式会社
タイヤ用ゴム組成物及びタイヤ
1か月前
住友ゴム工業株式会社
タイヤの性能評価方法及び性能評価装置
8日前
住友ゴム工業株式会社
タイヤ加硫金型及び空気入りタイヤの製造方法
20日前
住友ゴム工業株式会社
天然ゴムラテックス用凝固剤及び天然ゴムの製造方法
11日前
住友ゴム工業株式会社
タイヤ
1か月前
続きを見る
他の特許を見る