TOP
|
特許
|
意匠
|
商標
特許ウォッチ
Twitter
他の特許を見る
公開番号
2025137108
公報種別
公開特許公報(A)
公開日
2025-09-19
出願番号
2024036116
出願日
2024-03-08
発明の名称
空気入りタイヤ
出願人
住友ゴム工業株式会社
代理人
個人
,
個人
,
個人
,
個人
,
個人
主分類
B60C
15/06 20060101AFI20250911BHJP(車両一般)
要約
【課題】 軽量化を図りつつ駆動力と操縦安定性とを向上させた空気入りタイヤを提供する。
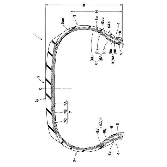
【解決手段】 ビード部4と、カーカス6と、ビード補強層9と、ビードエーペックスゴム8とを含む空気入りタイヤ1である。カーカス6は、タイヤ周方向に対して60~90°の角度で配列された複数のカーカスコードを含む第1カーカスプライ6Aを有している。ビード補強層9は、タイヤ周方向に対して60~90°の角度で配列された複数のビード補強コードを含む第1補強プライ9Aを有している。第1カーカスプライ6Aは、本体部6aと、本体部6aに連なる折返し部6bとを含んでいる。第1補強プライ9Aは、第1部分9aと、第1部分9aに連なる第2部分9bとを含んでいる。第2部分9bの外端9beは、ビードエーペックスゴム8のタイヤ軸方向の外側で、かつ、ビードエーペックスゴム8の外端8eよりもタイヤ半径方向の内側に位置している。
【選択図】 図2
特許請求の範囲
【請求項1】
空気入りタイヤであって、
ビードコアがそれぞれ埋設された一対のビード部と、
前記一対のビード部の間にまたがるカーカスと、
前記一対のビード部のそれぞれに配されたビード補強層と、
前記ビードコアからタイヤ半径方向の外側に延びるビードエーペックスゴムとを含み、
前記カーカスは、タイヤ周方向に対して60~90°の角度で配列された複数のカーカスコードを含む第1カーカスプライを有し、
前記ビード補強層は、タイヤ周方向に対して60~90°の角度で配列された複数のビード補強コードを含む第1補強プライを有し、
前記第1カーカスプライは、前記一対のビード部の間にまたがる本体部と、前記本体部に連なりかつ前記ビードコアの周りをタイヤ軸方向の内側から外側に折り返された一対の折返し部とを含み、
前記一対のビード部のそれぞれにおいて、前記第1補強プライは、前記本体部のタイヤ軸方向の外側に配された第1部分と、前記第1部分に連なりかつ前記ビードコアの周りをタイヤ軸方向内側から外側に折り返されて前記折返し部のタイヤ軸方向の内側に配された第2部分とを含み、
前記第2部分のタイヤ半径方向の外端は、前記ビードエーペックスゴムのタイヤ軸方向の外側で、かつ、前記ビードエーペックスゴムのタイヤ半径方向の外端よりもタイヤ半径方向の内側に位置している、
空気入りタイヤ。
続きを表示(約 520 文字)
【請求項2】
前記第2部分の前記外端は、前記第1部分のタイヤ半径方向の外端よりもタイヤ半径方向の内側に位置している、請求項1に記載の空気入りタイヤ。
【請求項3】
前記第2部分の前記外端と前記第1部分との間の最小距離は、0.5mm以上である、請求項2に記載の空気入りタイヤ。
【請求項4】
前記第1補強プライのタイヤ半径方向の高さは、タイヤの断面高さの10%以上である、請求項1に記載の空気入りタイヤ。
【請求項5】
前記第1補強プライの前記高さは、前記断面高さの20%~80%である、請求項4に記載の空気入りタイヤ。
【請求項6】
前記ビードエーペックスゴムの70℃における複素弾性率は、55~70%である、請求項1に記載の空気入りタイヤ。
【請求項7】
接地面を有するトレッド部と、
前記トレッド部において前記カーカスのタイヤ半径方向の外側に配されたベルト層とを含み、
前記ベルト層は、タイヤ周方向に対して24~45°の角度で配列された複数のベルトコードを含む第1ベルトプライを有する、請求項1ないし6のいずれか1項に記載の空気入りタイヤ。
発明の詳細な説明
【技術分野】
【0001】
本発明は、空気入りタイヤに関する。
続きを表示(約 1,600 文字)
【背景技術】
【0002】
従来、高速走行に適した空気入りタイヤが種々提案されている。例えば、下記特許文献1は、ビード部にビード補強層を設けることで、軽量化を図りつつ耐久性を向上させた空気入りタイヤを提案している。
【先行技術文献】
【特許文献】
【0003】
特開2021-172104号公報
【発明の概要】
【発明が解決しようとする課題】
【0004】
しかしながら、特許文献1のビード補強層は、第1部分と第2部分とが接しており、互いのコードの張力が作用して、縦剛性、横剛性及び前後剛性に対して、所望の効果が発揮されない場合があった。
【0005】
本発明は、以上のような実状に鑑み案出されたもので、軽量化を図りつつ駆動力と操縦安定性とを向上させた空気入りタイヤを提供することを主たる目的としている。
【課題を解決するための手段】
【0006】
本発明は、空気入りタイヤであって、ビードコアがそれぞれ埋設された一対のビード部と、前記一対のビード部の間にまたがるカーカスと、前記一対のビード部のそれぞれに配されたビード補強層と、前記ビードコアからタイヤ半径方向の外側に延びるビードエーペックスゴムとを含み、前記カーカスは、タイヤ周方向に対して60~90°の角度で配列された複数のカーカスコードを含む第1カーカスプライを有し、前記ビード補強層は、タイヤ周方向に対して60~90°の角度で配列された複数のビード補強コードを含む第1補強プライを有し、前記第1カーカスプライは、前記一対のビード部の間にまたがる本体部と、前記本体部に連なりかつ前記ビードコアの周りをタイヤ軸方向の内側から外側に折り返された一対の折返し部とを含み、前記一対のビード部のそれぞれにおいて、前記第1補強プライは、前記本体部に沿って配された第1部分と、前記第1部分に連なりかつ前記ビードコアの周りをタイヤ軸方向内側から外側に折り返されて前記折返し部に沿って配された第2部分とを含み、前記第2部分のタイヤ半径方向の外端は、前記ビードエーペックスゴムのタイヤ軸方向の外側で、かつ、前記ビードエーペックスゴムのタイヤ半径方向の外端よりもタイヤ半径方向の内側に位置している、空気入りタイヤである。
【発明の効果】
【0007】
本発明の空気入りタイヤは、上述の構成を備えることにより、軽量化を図りつつ駆動力と操縦安定性とを向上することができる。
【図面の簡単な説明】
【0008】
本発明の空気入りタイヤの一実施形態を示す断面図である。
サイドウォール部及びビード部の拡大図である。
【発明を実施するための形態】
【0009】
以下、本発明の実施の一形態が図面に基づき詳細に説明される。
図1は、本実施形態の正規状態の空気入りタイヤ1を示すタイヤ子午線断面図である。ここで、「正規状態」とは、空気入りタイヤ1が正規リムにリム組みされ、かつ、正規内圧に調整された無負荷の状態である。以下、特に言及しない場合、空気入りタイヤ1の各部の寸法等は、この正規状態で測定された値である。
【0010】
「正規リム」は、空気入りタイヤ1が基づいている規格を含む規格体系が有る場合、当該規格がタイヤ毎に定めるリムであり、例えばJATMAであれば "標準リム" 、TRAであれば "Design Rim" 、ETRTOであれば"Measuring Rim" である。「正規リム」は、空気入りタイヤ1が基づいている規格を含む規格体系が無い場合、リム組み可能であって、エア漏れを生じさせないリムのうち、最もリム径が小さく、その中で最もリム幅が小さいリムである。
(【0011】以降は省略されています)
この特許をJ-PlatPat(特許庁公式サイト)で参照する
関連特許
住友ゴム工業株式会社
タイヤ
2日前
住友ゴム工業株式会社
タイヤ
18日前
住友ゴム工業株式会社
タイヤ
1か月前
住友ゴム工業株式会社
タイヤ
1か月前
住友ゴム工業株式会社
タイヤ
16日前
住友ゴム工業株式会社
タイヤ
17日前
住友ゴム工業株式会社
タイヤ
25日前
住友ゴム工業株式会社
タイヤ
24日前
住友ゴム工業株式会社
ゴルフボール
1か月前
住友ゴム工業株式会社
三次元構造体
16日前
住友ゴム工業株式会社
ゴルフボール
26日前
住友ゴム工業株式会社
重荷重用タイヤ
1か月前
住友ゴム工業株式会社
空気入りタイヤ
1か月前
住友ゴム工業株式会社
空気入りタイヤ
1か月前
住友ゴム工業株式会社
重荷重用タイヤ
26日前
住友ゴム工業株式会社
空気入りタイヤ
26日前
住友ゴム工業株式会社
試料の作製方法
25日前
住友ゴム工業株式会社
空気入りタイヤ
16日前
住友ゴム工業株式会社
重荷重用タイヤ
16日前
住友ゴム工業株式会社
空気入りタイヤ
18日前
住友ゴム工業株式会社
空気入りタイヤ
18日前
住友ゴム工業株式会社
光硬化性組成物
16日前
住友ゴム工業株式会社
空気入りタイヤ
17日前
住友ゴム工業株式会社
重荷重用タイヤ
16日前
住友ゴム工業株式会社
重荷重用タイヤ
16日前
住友ゴム工業株式会社
脱輪抑止システム
1か月前
住友ゴム工業株式会社
スタッダブルタイヤ
1か月前
住友ゴム工業株式会社
自動二輪車用タイヤ
3日前
住友ゴム工業株式会社
ゴルフクラブヘッド
9日前
住友ゴム工業株式会社
ゴム組成物の劣化試験方法
18日前
住友ゴム工業株式会社
タイヤ用ゴム組成物及びタイヤ
1か月前
住友ゴム工業株式会社
タイヤ用ゴム組成物及びタイヤ
1か月前
住友ゴム工業株式会社
タイヤの性能評価方法及び性能評価装置
6日前
住友ゴム工業株式会社
タイヤ加硫金型及び空気入りタイヤの製造方法
18日前
住友ゴム工業株式会社
天然ゴムラテックス用凝固剤及び天然ゴムの製造方法
9日前
住友ゴム工業株式会社
タイヤ
1か月前
続きを見る
他の特許を見る