TOP
|
特許
|
意匠
|
商標
特許ウォッチ
Twitter
他の特許を見る
10個以上の画像は省略されています。
公開番号
2025147604
公報種別
公開特許公報(A)
公開日
2025-10-07
出願番号
2024047937
出願日
2024-03-25
発明の名称
加工方法
出願人
株式会社ディスコ
代理人
弁理士法人酒井国際特許事務所
主分類
H01L
21/301 20060101AFI20250930BHJP(基本的電気素子)
要約
【課題】異物の付着を抑えるとともに加工時間の短縮が可能なデバイスウェーハの加工方法を提供すること。
【解決手段】加工方法は、基材上にデバイスを構成するデバイス層が積層されるとともに表面の交差する複数のストリートで区画された各領域にそれぞれデバイスが形成されたデバイスウェーハの加工方法であって、プラズマエッチングでデバイス層を分断し基材に切り込む深さのストリートに沿った第1の溝を形成する第1の溝形成ステップ101と、第1の溝形成ステップ101を実施した後、第1の溝に沿って切削ブレードによる切削で基材に第2の溝を形成する第2の溝形成ステップ102と、第2の溝形成ステップ102を実施した後、第2の溝の溝底をプラズマエッチングするプラズマエッチングステップ103と、を備える。
【選択図】図3
特許請求の範囲
【請求項1】
基材上にデバイスを構成するデバイス層が積層されるとともに表面の交差する複数のストリートで区画された各領域にそれぞれデバイスが形成されたデバイスウェーハの加工方法であって、
プラズマエッチングで該デバイス層を分断し該基材に切り込む深さの該ストリートに沿った第1の溝を形成する第1の溝形成ステップと、
該第1の溝形成ステップを実施した後、該第1の溝に沿ってレーザビームの照射または切削ブレードによる切削で該基材に第2の溝を形成する第2の溝形成ステップと、
該第2の溝形成ステップを実施した後、該第2の溝の溝底をプラズマエッチングするプラズマエッチングステップと、を備えた加工方法。
続きを表示(約 110 文字)
【請求項2】
該第1の溝形成ステップでは、該ストリートに沿って2条の溝を形成し、
該第2の溝形成ステップでは、該2条の溝の間のデバイス層を除去するとともに該基材の一部を除去する、請求項1に記載の加工方法。
発明の詳細な説明
【技術分野】
【0001】
本発明は、デバイスウェーハの加工方法に関する。
続きを表示(約 2,400 文字)
【背景技術】
【0002】
レーザダイシングやブレードダイシングでは半導体ウェーハの分割時に加工屑が発生するのに対して、プラズマエッチングで分割するプラズマダイシングが提案されている(例えば、特許文献1参照)。
【0003】
特許文献1等に示されたプラズマダイシングは、半導体ウェーハの分割時に加工屑が発生しないため、異物の付着を嫌う半導体デバイスの製造工程で広く用いられている。
【先行技術文献】
【特許文献】
【0004】
特開2022-035863号公報
【発明の概要】
【発明が解決しようとする課題】
【0005】
特許文献1等に示されたプラズマダイシングでは、複数のストリートに対して同時にプラズマエッチングを施すため複数のストリートを一括で分割できる。しかし、更なる加工時間の短縮が切望されている。
【0006】
本発明の目的は、異物の付着を抑えるとともに加工時間の短縮が可能なデバイスウェーハの加工方法を提供することである。
【課題を解決するための手段】
【0007】
上述した課題を解決し、目的を達成するために、本発明の加工方法は、基材上にデバイスを構成するデバイス層が積層されるとともに表面の交差する複数のストリートで区画された各領域にそれぞれデバイスが形成されたデバイスウェーハの加工方法であって、プラズマエッチングで該デバイス層を分断し該基材に切り込む深さの該ストリートに沿った第1の溝を形成する第1の溝形成ステップと、該第1の溝形成ステップを実施した後、該第1の溝に沿ってレーザビームの照射または切削ブレードによる切削で該基材に第2の溝を形成する第2の溝形成ステップと、該第2の溝形成ステップを実施した後、該第2の溝の溝底をプラズマエッチングするプラズマエッチングステップと、を備えたことを特徴とする。
【0008】
前記加工方法において、該第1の溝形成ステップでは、該ストリートに沿って2条の溝を形成し、該第2の溝形成ステップでは、該2条の溝の間のデバイス層を除去するとともに該基材の一部を除去しても良い。
【発明の効果】
【0009】
本発明は、異物の付着を抑えるとともに加工時間の短縮が可能となるという効果を奏する。
【図面の簡単な説明】
【0010】
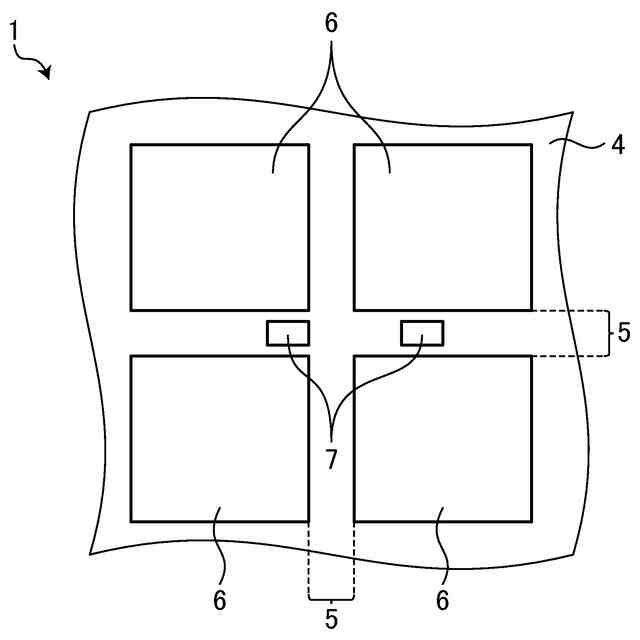
図1は、実施形態1に係る加工方法の加工対象のデバイスウェーハの一例を示す斜視図である。
図2は、図1に示されたデバイスウェーハの要部を拡大して示す平面図である。
図3は、実施形態1に係る加工方法の流れを示すフローチャートである。
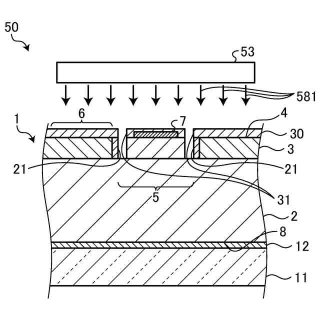
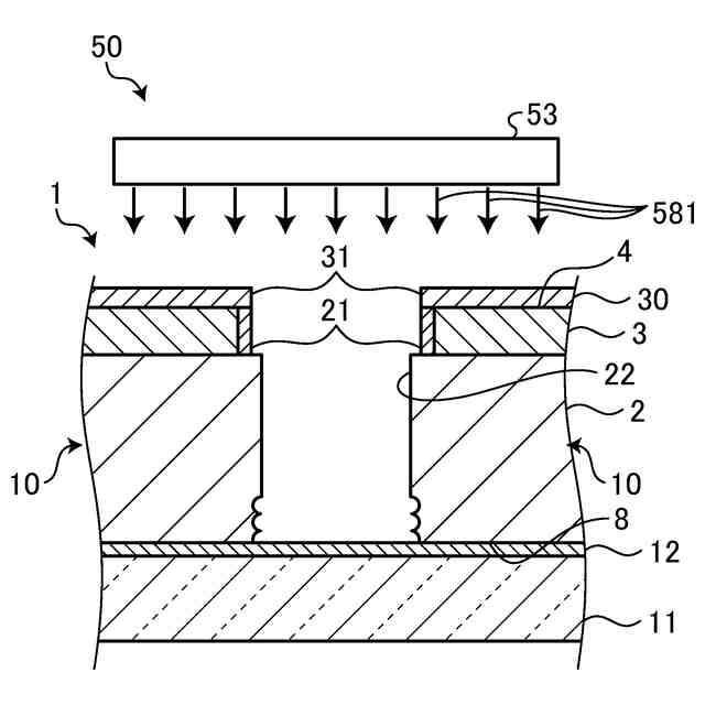
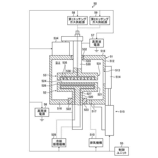
図4は、図3に示された加工方法の第1の溝形成ステップ及びプラズマエッチングステップで用いられるエッチング装置の構成例を模式的に示す断面図である。
図5は、図3に示された加工方法の第1の溝形成ステップにおいてデバイスウェーハの裏面に支持部材を貼着した状態のデバイスウェーハの要部を模式的に示す断面図である。
図6は、図3に示された加工方法の第1の溝形成ステップにおいてデバイスウェーハの表面にマスクを形成した状態のデバイスウェーハの要部を模式的に示す断面図である。
図7は、図3に示された加工方法の第1の溝形成ステップにおいてデバイスウェーハの表面に第1の溝を形成する状態のデバイスウェーハの要部を模式的に示す断面図である。
図8は、図3に示された加工方法の第2の溝形成ステップのデバイスウェーハの要部を模式的に示す断面図である。
図9は、図3に示された加工方法のプラズマエッチングステップにおいて第2の溝の溝底をプラズマエッチングする状態のデバイスウェーハの要部を模式的に示す断面図である。
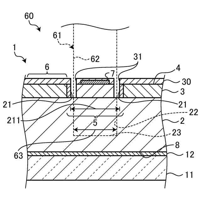
図10は、図3に示された加工方法のプラズマエッチングステップにおいてマスクを除去した状態のデバイスウェーハの要部を模式的に示す断面図である。
図11は、実施形態2に係る加工方法の第1の溝形成ステップにおいてデバイスウェーハの表面にマスクを形成した状態のデバイスウェーハの要部を模式的に示す断面図である。
図12は、実施形態2に係る加工方法の第1の溝形成ステップにおいてデバイスウェーハの表面に第1の溝を形成する状態のデバイスウェーハの要部を模式的に示す断面図である。
図13は、実施形態2に係る加工方法の第1の溝形成ステップにおいてマスクを除去した状態のデバイスウェーハの要部を模式的に示す断面図である。
図14は、実施形態2に係る加工方法の第2の溝形成ステップにおいてデバイスウェーハの表面に支持部材を貼着した状態のデバイスウェーハの要部を模式的に示す断面図である。
図15は、実施形態2に係る加工方法の第2の溝形成ステップにおいてデバイスウェーハの裏面にマスクを形成した状態のデバイスウェーハの要部を模式的に示す断面図である。
図16は、図3に示された加工方法の第2の溝形成ステップにおいて第2の溝を形成するデバイスウェーハの要部を模式的に示す断面図である。
図17は、実施形態2に係る加工方法のプラズマエッチングステップにおいて第2の溝の溝底をプラズマエッチングする状態のデバイスウェーハの要部を模式的に示す断面図である。
図18は、実施形態2に係る加工方法のプラズマエッチングステップにおいてマスクを除去した状態のデバイスウェーハの要部を模式的に示す断面図である。
図19は、図8に示された第2の溝形成ステップの変形例のデバイスウェーハの要部を模式的に示す断面図である。
【発明を実施するための形態】
(【0011】以降は省略されています)
この特許をJ-PlatPat(特許庁公式サイト)で参照する
関連特許
株式会社ディスコ
加工装置
今日
株式会社ディスコ
加工装置
今日
株式会社ディスコ
加工方法
2日前
株式会社ディスコ
チャックテーブルの整形方法
1日前
株式会社ディスコ
窒化ガリウム基板の製造方法
2日前
株式会社ディスコ
板状ワークの研削方法及び研削装置
2日前
株式会社ディスコ
シートの処理方法、チップの製造方法及び基板の製造方法
6日前
個人
安全なNAS電池
1か月前
日本発條株式会社
積層体
10日前
東レ株式会社
多孔質炭素シート
29日前
ローム株式会社
半導体装置
8日前
ローム株式会社
半導体装置
29日前
キヤノン株式会社
電子機器
29日前
ローム株式会社
半導体装置
1日前
ローム株式会社
半導体装置
8日前
ローム株式会社
半導体装置
8日前
エイブリック株式会社
半導体装置
1か月前
エイブリック株式会社
半導体装置
1か月前
個人
防雪防塵カバー
10日前
ローム株式会社
半導体装置
6日前
東レ株式会社
ガス拡散層の製造方法
29日前
株式会社ホロン
冷陰極電子源
6日前
株式会社ティラド
面接触型熱交換器
21日前
オムロン株式会社
電磁継電器
今日
ニチコン株式会社
コンデンサ
22日前
太陽誘電株式会社
全固体電池
6日前
個人
半導体パッケージ用ガラス基板
9日前
株式会社GSユアサ
蓄電装置
6日前
ニチコン株式会社
コンデンサ
22日前
株式会社GSユアサ
蓄電装置
10日前
日東電工株式会社
積層体
今日
日本特殊陶業株式会社
保持装置
8日前
日本特殊陶業株式会社
保持装置
10日前
TDK株式会社
電子部品
6日前
マクセル株式会社
配列用マスク
21日前
トヨタ自動車株式会社
二次電池
10日前
続きを見る
他の特許を見る