TOP
|
特許
|
意匠
|
商標
特許ウォッチ
Twitter
他の特許を見る
公開番号
2025145918
公報種別
公開特許公報(A)
公開日
2025-10-03
出願番号
2024046426
出願日
2024-03-22
発明の名称
予兆検出システム、予兆検出方法及びプログラム
出願人
日本電気株式会社
代理人
個人
主分類
G09G
3/20 20060101AFI20250926BHJP(教育;暗号方法;表示;広告;シール)
要約
【課題】本開示により、表示不良が発生する前に交換すべき表示パネルを特定できる予兆検出システム、予兆検出方法及びプログラムを提供すること。
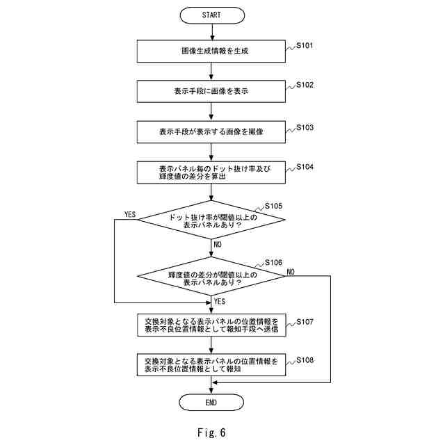
【解決手段】本開示に係る予兆検出システムは、表示手段において表示される生成画像情報を取得する生成画像情報取得部101と、生成画像情報に基づいて表示手段が表示する画像を撮像した撮像画像情報を取得する撮像画像情報取得部102と、表示パネルの交換履歴情報に基づいて表示パネルの交換する指標となる閾値を決定する閾値決定部103と、生成画像情報取得部により取得された生成画像情報と、撮像画像情報取得部により取得された撮像画像情報とを比較することにより、表示パネルのドット抜けを検出し、閾値を参照してドット抜け情報に基づき交換対象の表示パネルを決定する交換対象決定部104を備えたものである。
【選択図】図1
特許請求の範囲
【請求項1】
独立して交換可能な表示パネルを複数備えた表示手段において、表示不良の予兆があり、交換対象となる表示パネルを決定する予兆検出システムであって、
前記表示手段において表示される生成画像情報を取得する生成画像情報取得部と、
前記生成画像情報に基づいて前記表示手段が表示する画像を撮像した撮像画像情報を取得する撮像画像情報取得部と、
前記表示パネルの交換履歴情報に基づいて表示パネルの交換する指標となる閾値を決定する閾値決定部と、
前記生成画像情報取得部により取得された生成画像情報と、前記撮像画像情報取得部により取得された撮像画像情報とを比較することにより、前記表示パネルのドット抜けを検出し、前記閾値を参照して当該ドット抜け情報に基づき交換対象の表示パネルを決定する交換対象決定部を備えた、
予兆検出システム。
続きを表示(約 1,400 文字)
【請求項2】
前記交換対象決定部は、前記生成画像情報と前記撮像画像情報とを比較することにより前記表示パネルのドット抜け率を算出し、当該ドット抜け率が前記閾値以上の表示パネルを交換対象の表示パネルとして決定する、
請求項1に記載の予兆検出システム。
【請求項3】
前記交換対象決定部は、前記生成画像情報と前記撮像画像情報とを比較することにより、前記表示パネルの輝度値の差分をさらに算出し、前記ドット抜け率と前記輝度値の差分との少なくとも一方が、それぞれの前記閾値以上となる表示パネルを特定する、
請求項2に記載の予兆検出システム。
【請求項4】
前記交換履歴情報は、前記表示パネルの交換時における前記ドット抜け率及び前記輝度値の差分に関する情報を含み、前記表示パネルの交換時に前記交換履歴情報は更新される、
請求項3に記載の予兆検出システム。
【請求項5】
前記ドット抜け率及び前記輝度値の差分のそれぞれの前記閾値は、交換履歴情報に含まれた前記ドット抜け率及び前記輝度値の差分のそれぞれの平均に基づいて算出される、
請求項3に記載の予兆検出システム。
【請求項6】
前記閾値は、前記表示パネル毎に設定される、
請求項1に記載の予兆検出システム。
【請求項7】
交換可能な表示パネルを複数備えた表示手段において、表示不良の予兆があり、交換対象となる表示パネルを決定する予兆検出方法であって、
生成画像情報に応じて前記表示手段において表示された画像を撮像することにより撮像画像情報を取得し、
前記生成画像情報と前記撮像画像情報とを比較することにより、前記表示パネルのドット抜けを検出し、
前記表示パネルの交換履歴情報に基づいて生成された閾値を参照して、前記ドット抜け情報に基づいて交換対象の表示パネルを決定する、
予兆検出方法。
【請求項8】
前記生成画像情報と前記撮像画像情報とを比較することにより、前記表示パネルのドット抜け率を算出し、当該ドット抜け率が前記閾値以上の表示パネルを交換対象の表示パネルとして決定する、
請求項7に記載の予兆検出方法。
【請求項9】
前記生成画像情報と、前記撮像画像情報とを比較することにより、前記表示パネルのドット抜け率を算出すると共に、前記表示パネルの輝度値の差分をさらに算出し、
前記ドット抜け率と前記輝度値の差分との少なくとも一方が、それぞれの前記閾値以上の表示パネルを交換対象の表示パネルとして決定する、
請求項8に記載の予兆検出方法。
【請求項10】
交換可能な表示パネルを複数備えた表示手段において、表示不良の予兆があり、交換対象となる表示パネルを決定する処理をコンピュータに実行させるプログラムであって、
生成画像情報に応じて前記表示手段において表示された画像を撮像することにより撮像画像情報を取得し、
前記生成画像情報と前記撮像画像情報とを比較することにより、前記表示パネルのドット抜けを検出し、
前記表示パネルの交換履歴情報に基づいて生成された閾値を参照して、前記ドット抜け情報に基づいて交換対象の表示パネルを決定する、
プログラム。
発明の詳細な説明
【技術分野】
【0001】
本開示は、予兆検出システム、予兆検出方法及びプログラムに関する。
続きを表示(約 1,800 文字)
【背景技術】
【0002】
例えば空港や駅などには、利用者に情報を伝達するための大型表示装置が設置されている。このような大型表示装置は、表示面に備えられた発光ダイオードなどの光源を制御することにより、利用者に伝達したい情報を表示する。大型表示装置の表示面は、必要に応じて分解、移動、組み立てなどができるように、複数枚の表示パネルの集合体で構成されている。
【0003】
これらの表示パネルは、表示不良が発生した場合に適宜交換される。しかしながら、多数ある表示パネルの中から表示不良が発生した表示パネルを人間の目により特定するのは難しい。そのため、大型表示装置の運用中に表示不良が発生した表示パネルを特定する技術について提案されている(例えば、特許文献1)。
【先行技術文献】
【特許文献】
【0004】
特開2015-171051号公報
【発明の概要】
【発明が解決しようとする課題】
【0005】
しかしながら、特許文献1に記載された技術を用いて大型表示装置の運用中に表示不良が発生した表示パネルを特定できたとしても、大型表示装置が多数の利用者により閲覧状態にあるときは、閲覧の妨げとなるため表示パネルを交換できない場合がある。一方、大型表示装置の運用が終わるまで表示不良が発生した表示パネルを放置しておくと、必要な情報を伝達ができなかったり、間違った情報を伝達したりする等によりその間利用者にとっての利便性が劣化するといった課題があった。
【0006】
本開示は、このような問題を解決するためになされたものであり、表示不良が発生する前に交換すべき表示パネルを特定できる予兆検出システム、予兆検出方法及びプログラムを提供することを目的とするものである。
【課題を解決するための手段】
【0007】
本開示に係る予兆検出システムは、それぞれ独立して交換可能な表示パネルを複数備えた表示手段において、表示不良の予兆があり、交換対象となる表示パネルを決定する予兆検出システムであって、前記表示手段において表示される生成画像情報を取得する生成画像情報取得部と、前記生成画像情報に基づいて前記表示手段が表示する画像を撮像した撮像画像情報を取得する撮像画像情報取得部と、前記表示パネルの交換履歴情報に基づいて表示パネルの交換する指標となる閾値を決定する閾値決定部と、前記生成画像情報取得部により取得された生成画像情報と、前記撮像画像情報取得部により取得された撮像画像情報とを比較することにより、前記表示パネルのドット抜けを検出し、前記閾値を参照して当該ドット抜け情報に基づき交換対象の表示パネルを決定する交換対象決定部を備えたものである。
【0008】
本開示に係る予兆検出方法は、それぞれ交換可能な表示パネルを複数備えた表示手段において、表示不良の予兆があり、交換対象となる表示パネルを決定する予兆検出方法であって、生成画像情報に応じて前記表示手段において表示された画像を撮像することにより撮像画像情報を取得し、前記生成画像情報と前記撮像画像情報とを比較することにより、前記表示パネルのドット抜けを検出し、前記表示パネルの交換履歴情報に基づいて生成された閾値を参照して、前記ドット抜け情報に基づいて交換対象の表示パネルを決定するものである。
【0009】
本開示に係るプログラムは、それぞれ交換可能な表示パネルを複数備えた表示手段において、表示不良の予兆があり、交換対象となる表示パネルを決定する処理をコンピュータに実行させるプログラムであって、生成画像情報に応じて前記表示手段において表示された画像を撮像することにより撮像画像情報を取得し、前記生成画像情報と前記撮像画像情報とを比較することにより、前記表示パネルのドット抜けを検出し、前記表示パネルの交換履歴情報に基づいて生成された閾値を参照して、前記ドット抜け情報に基づいて交換対象の表示パネルを決定するものである。
【発明の効果】
【0010】
本開示により、表示不良が発生する前に交換すべき表示パネルを特定できる予兆検出システム、予兆検出方法及びプログラムを提供することができる。
【図面の簡単な説明】
(【0011】以降は省略されています)
この特許をJ-PlatPat(特許庁公式サイト)で参照する
関連特許
日本電気株式会社
分析装置
4日前
日本電気株式会社
通信装置および通信方法
今日
日本電気株式会社
量子回路装置と制御方法
4日前
日本電気株式会社
量子回路装置と制御方法
4日前
日本電気株式会社
送信装置および通信装置
今日
日本電気株式会社
検知装置および検知方法
4日前
日本電気株式会社
分析方法および分析システム
1日前
日本電気株式会社
共振器及びそれを備えた導波回路
2日前
日本電気株式会社
システム及びマイグレーション方法
4日前
日本電気株式会社
推定装置、推定方法及びプログラム
7日前
日本電気株式会社
推定装置、推定方法及びプログラム
7日前
日本電気株式会社
推定装置、推定方法、及び、記録媒体
1日前
日本電気株式会社
波長可変レーザ装置及びその構成方法
今日
日本電気株式会社
画像管理システムおよび画像管理方法
2日前
日本電気株式会社
処理装置、処理方法、及びプログラム
4日前
日本電気株式会社
注文端末、注文受付方法及びプログラム
今日
日本電気株式会社
通信装置、通信方法及び通信プログラム
1日前
日本電気株式会社
予測システム、予測方法及びプログラム
7日前
日本電気株式会社
映像処理装置、映像処理方法、プログラム
4日前
日本電気株式会社
処理システム、処理方法およびプログラム
7日前
日本電気株式会社
画像選択装置、画像選択方法及び記憶媒体
2日前
日本電気株式会社
性能監視装置、性能監視方法、プログラム
今日
日本電気株式会社
通信システム、通信方法及び、プログラム
今日
日本電気株式会社
情報処理装置、情報処理方法、プログラム
2日前
日本電気株式会社
管理装置、管理方法および管理プログラム
2日前
日本電気株式会社
情報処理システム、処理方法、プログラム
4日前
日本電気株式会社
映像伝送装置、映像伝送方法、プログラム
4日前
日本電気株式会社
画像生成装置、画像生成方法及びプログラム
2日前
日本電気株式会社
情報処理装置、情報処理方法及びプログラム
2日前
日本電気株式会社
情報表示装置、情報表示方法及びプログラム
今日
日本電気株式会社
制御装置、車両、制御方法およびプログラム
1日前
日本電気株式会社
監視システム、監視方法、およびプログラム
1日前
日本電気株式会社
処理システム、処理方法、およびプログラム
2日前
日本電気株式会社
処理システム、処理方法、およびプログラム
2日前
日本電気株式会社
処理システム、処理方法、およびプログラム
4日前
日本電気株式会社
情報処理装置、情報処理方法及びプログラム
7日前
続きを見る
他の特許を見る