TOP
|
特許
|
意匠
|
商標
特許ウォッチ
Twitter
他の特許を見る
公開番号
2025146605
公報種別
公開特許公報(A)
公開日
2025-10-03
出願番号
2024160837
出願日
2024-09-18
発明の名称
データ消去装置
出願人
株式会社ナノバブル研究所
代理人
個人
主分類
G11B
5/024 20060101AFI20250926BHJP(情報記憶)
要約
【課題】より短い時間で磁気記録媒体全体のデータ消去が可能なデータ消去装置を提案する。
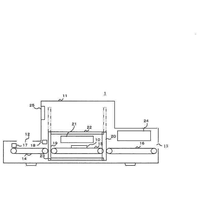
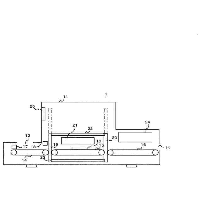
【解決手段】投入口12から内部に投入された磁気記録媒体10は、ローダー14、15によって処理室内に搬送される。処理室内には、コイル21の開口部の水平面上の面積が、磁気記録媒体10を全体的に内部に含めることができる大きさとなっているコイル21が配置されている。このコイル21の下方の位置まで搬送された磁気記録媒体10には、コイル21への交流電流の通電による交流磁界が印加される。この交流磁界の印加により、磁気記録媒体10(の強磁性体)はキュリー温度以上まで誘導加熱され、磁気記録媒体10全体がデータ消去される。
【選択図】図1
特許請求の範囲
【請求項1】
磁気記録媒体に対して全体的に作用する磁界を発生させることが可能な磁界発生部と、
前記磁気記録媒体を全体的に加熱可能な加熱部と、
前記加熱部により前記磁気記録媒体を加熱させた状態にさせつつ、前記磁界発生部により発生される前記磁界を前記磁気記録媒体に作用させることにより、前記磁気記録媒体上に記録されているデータを消去させる制御を行う制御部と、
を備えたデータ消去装置。
続きを表示(約 630 文字)
【請求項2】
前記制御部は、前記加熱部により、前記磁気記録媒体に用いられている強磁性体のキュリー温度を基に設定した設定温度以上に前記強磁性体を加熱させた状態で、前記磁界発生部により前記磁界を発生させる、
請求項1に記載のデータ消去装置。
【請求項3】
前記磁気記録媒体上に記録されている前記データの消去のための設定を変更可能な操作部、を更に備え、
前記制御部は、前記操作部により設定された内容に応じて、前記加熱部による前記磁気記録媒体の加熱、及び前記磁界発生部により発生させる前記磁界のうちの少なくとも一方の内容を変化させることが可能である、
請求項1、または2に記載のデータ消去装置。
【請求項4】
前記磁気記録媒体に対する加工が可能な加工部、を更に備え、
前記制御部は、前記加工部を制御し、前記データを消去すべき前記磁気記録媒体に対する加工を行わせる、
請求項1、または2に記載のデータ消去装置。
【請求項5】
前記磁界発生部、及び前記加熱部は、コイルであり、
前記制御部は、前記コイルに交流電流を通電させることにより、前記磁界として交流磁界を前記コイルに発生させるとともに、前記磁気記録媒体に用いられている強磁性体に対して前記交流磁界によるジュール熱を発生させて前記磁気記録媒体を加熱させる、
請求項1、または2に記載のデータ消去装置。
発明の詳細な説明
【技術分野】
【0001】
本発明は、データ消去装置に関する。
続きを表示(約 1,500 文字)
【背景技術】
【0002】
近年、HDD(Hard Disk Drive)等に用いられる磁気記録媒体では、多くの場合、データ記録に熱アシスト磁気記録方式が採用されている。熱アシスト磁気記録方式は、データ記録時に磁気記録媒体を局所的に加熱して高温にさせることにより、磁気記録媒体の保持力を一時的に低下させてデータ記録を行う方式である(例えば、特許文献1参照)。この記録方式では、室温においてヘッド磁界よりも大きな保持力を有する磁気記録媒体に対してもデータ記録を行うことができる。このことから、磁性微粒子の磁気異方性エネルギーがより高い材料を磁気記録媒体に用いることができる。それにより、室温での熱的安定性を維持しつつ、磁性微粒子サイズをより小さくすることができるため、更なる高密度化が可能になる。
【0003】
磁気記録媒体を廃棄する場合、廃棄対象の磁気記録媒体上に記録されているデータを消去する必要がある。ここでのデータ消去とは、本来、記録されているデータとは異なるデータを上書きして記録することに相当する。このようなデータ消去を行わない場合、廃棄する磁気記録媒体上に記録されているデータが読み出し可能であるため、データ漏洩の危険性がある。データ記録の高密度化が進んでいることもあり、磁気記録媒体全体でのデータ消去を確実に行う必要がある。
【先行技術文献】
【特許文献】
【0004】
特開2023-44139号公報
【発明の概要】
【発明が解決しようとする課題】
【0005】
磁気記録媒体全体のデータ消去は、熱アシスト磁気記録方式により、磁気記録媒体全体での無意味なデータの記録により行うことができる。しかし、そのために記録すべきデータ量は非常に大きいため、データ消去に要する時間も非常に長くなる。このことから、データ消去に要する時間をより短くさせることも重要と思われる。
【0006】
そこで、本発明は、より短い時間で磁気記録媒体全体のデータ消去が可能なデータ消去装置を提案するものである。
【課題を解決するための手段】
【0007】
本開示の一態様のデータ消去装置は、磁気記録媒体に対して全体的に作用する磁界を発生させることが可能な磁界発生部と、前記磁気記録媒体を全体的に加熱可能な加熱部と、前記加熱部により前記磁気記録媒体を加熱させた状態にさせつつ、前記磁界発生部により発生される前記磁界を前記磁気記録媒体に作用させることにより、前記磁気記録媒体上に記録されているデータを消去させる制御を行う制御部と、を備える。
【発明の効果】
【0008】
本発明では、より短い時間で磁気記録媒体全体のデータ消去を行うことができる。
【図面の簡単な説明】
【0009】
本発明の第1の実施形態に係るデータ消去装置の例を示す側面断面図である。
誘導加熱時の強磁性体の温度の時間変化の例を説明する図である。
本発明の実施形態に係るデータ消去装置の回路構成例を説明する図である。
本発明の第2の実施形態に係るデータ消去装置の例を示す側面断面図である。
【発明を実施するための形態】
【0010】
以下、本発明を実施するための形態について、図を参照しながら説明する。なお、以下に説明する実施形態は、変形例を含めあくまでも一例であって、本発明の技術的範囲はこれに限られるものではない。本発明の技術的範囲には、様々な変形例も含まれる。
(【0011】以降は省略されています)
この特許をJ-PlatPat(特許庁公式サイト)で参照する
関連特許
株式会社ナノバブル研究所
データ消去装置
今日
株式会社ナノバブル研究所
データ消去装置
今日
株式会社JVCケンウッド
ファイル管理方法
2か月前
キオクシア株式会社
半導体記憶装置
4日前
キオクシア株式会社
半導体装置
2か月前
ローム株式会社
メモリ回路
1か月前
ローム株式会社
メモリ装置
4日前
キヤノン株式会社
撮像装置
1か月前
ローム株式会社
半導体装置
2か月前
キオクシア株式会社
記憶装置
2日前
キオクシア株式会社
半導体記憶装置
今日
ローム株式会社
半導体記憶装置
1か月前
キオクシア株式会社
記憶装置
4日前
株式会社東芝
磁気ヘッド、及び、磁気記録装置
1か月前
キオクシア株式会社
磁気メモリ
1か月前
ローム株式会社
半導体記憶装置
7日前
ローム株式会社
半導体記憶装置
7日前
株式会社東芝
磁気ヘッド、及び、磁気記録装置
1か月前
株式会社東芝
磁気ヘッド、及び、磁気記録装置
1か月前
株式会社東芝
磁気ヘッド、及び、磁気記録装置
1か月前
キオクシア株式会社
記憶装置
2日前
株式会社東芝
磁気ヘッド、及び、磁気記録装置
15日前
ローム株式会社
不揮発性メモリ装置
今日
ローム株式会社
不揮発性メモリ装置
今日
株式会社パトライト
データ処理プログラム及び報知システム
2か月前
ローム株式会社
不揮発性メモリ装置
今日
キオクシア株式会社
磁気記憶装置
4日前
キオクシア株式会社
メモリシステム
1日前
キオクシア株式会社
半導体記憶装置
24日前
キオクシア株式会社
メモリデバイス
今日
キオクシア株式会社
メモリデバイス
今日
キオクシア株式会社
半導体記憶装置
2か月前
キオクシア株式会社
半導体記憶装置
2か月前
キヤノン株式会社
半導体装置および機器
2か月前
artience株式会社
磁気記録媒体用プライマーおよび磁気記録媒体
2か月前
ニデックインスツルメンツ株式会社
磁気ヘッドおよびカードリーダ
1か月前
続きを見る
他の特許を見る