TOP
|
特許
|
意匠
|
商標
特許ウォッチ
Twitter
他の特許を見る
10個以上の画像は省略されています。
公開番号
2025145315
公報種別
公開特許公報(A)
公開日
2025-10-03
出願番号
2024045424
出願日
2024-03-21
発明の名称
メモリデバイス
出願人
キオクシア株式会社
代理人
弁理士法人鈴榮特許綜合事務所
主分類
G11C
29/02 20060101AFI20250926BHJP(情報記憶)
要約
【課題】配線の断線を検出する。
【解決手段】一実施形態のメモリデバイスは、端部に第1トランジスタを有する第1メモリストリングを含む第1ブロックと、第1トランジスタのゲートに接続された第1端を有する第2トランジスタと、第2トランジスタのゲートに接続された第1配線と、第1配線の一端に接続されたブロックデコーダと、第1配線の他端に接続された第1端を有する第3トランジスタと、第3トランジスタの第2端に接続された電源と、を備える。
【選択図】図4
特許請求の範囲
【請求項1】
端部に第1トランジスタを有する第1メモリストリングを含む第1ブロックと、
前記第1トランジスタのゲートに接続された第1端を有する第2トランジスタと、
前記第2トランジスタのゲートに接続された第1配線と、
前記第1配線の一端に接続されたブロックデコーダと、
前記第1配線の他端に接続された第1端を有する第3トランジスタと、
前記第3トランジスタの第2端に接続された電源と、
を備えるメモリデバイス。
続きを表示(約 1,400 文字)
【請求項2】
前記ブロックデコーダ及び前記第3トランジスタは、基板上において、前記第2トランジスタと第1方向に並び、
前記第1配線のうち前記ブロックデコーダと前記第3トランジスタとの間を接続する主部は、前記基板上において前記第2トランジスタの上方を前記第1方向に通過する部分を含む、
請求項1記載のメモリデバイス。
【請求項3】
前記ブロックデコーダ及び前記第3トランジスタは、前記第2トランジスタを第1方向に挟むように配置される、
請求項2記載のメモリデバイス。
【請求項4】
前記ブロックデコーダ及び前記第3トランジスタは、前記第2トランジスタと前記第1方向に隣り合う、
請求項3記載のメモリデバイス。
【請求項5】
前記ブロックデコーダは、前記第2トランジスタから前記第1方向と交差する第2方向に離れており、
前記第1配線の前記主部は、前記ブロックデコーダと前記第2トランジスタとの間で前記第2方向に延びる部分を更に含む、
請求項3記載のメモリデバイス。
【請求項6】
端部に第4トランジスタを有する第2メモリストリングを含む第2ブロックと、
前記第4トランジスタのゲートに接続された第1端と、前記第1配線に接続されたゲートと、を有する第5トランジスタと、
を更に備え、
前記第2トランジスタ及び前記第5トランジスタは、前記基板上において、前記第1方向と交差する第2方向に並び、
前記第1配線の前記主部は、前記第5トランジスタの上方を通過するように前記第1方向に延びる部分を更に含む、
請求項2記載のメモリデバイス。
【請求項7】
前記ブロックデコーダは、前記第2トランジスタ及び前記第5トランジスタと前記第1方向に隣り合い、
前記第3トランジスタは、前記第2トランジスタ及び前記第5トランジスタから前記第1方向に離れている、
請求項6記載のメモリデバイス。
【請求項8】
前記ブロックデコーダは、前記第2トランジスタ及び前記第5トランジスタから前記第1方向に離れており、
前記第3トランジスタは、前記第2トランジスタ及び前記第5トランジスタと前記第1方向に隣り合う、
請求項6記載のメモリデバイス。
【請求項9】
前記第3トランジスタは、前記第1方向において、前記第2トランジスタ及び前記第5トランジスタに対して前記ブロックデコーダと同じ側に配置される、
請求項6記載のメモリデバイス。
【請求項10】
前記ブロックデコーダは、
各々が前記第1配線の前記一端に接続された第1端を有し、かつ互いに異なる導電型を有する第6トランジスタ及び第7トランジスタと、
前記第6トランジスタの第2端に接続された第1端と、第1電圧が供給される第2端と、を有する第8トランジスタと、
前記第7トランジスタの第2端に接続された第1端を有する第9トランジスタと、
を含み、
前記第3トランジスタのゲート、前記第8トランジスタのゲート、及び前記第9トランジスタのゲートは、第2配線に接続される、
請求項1記載のメモリデバイス。
(【請求項11】以降は省略されています)
発明の詳細な説明
【技術分野】
【0001】
実施形態は、メモリデバイスに関する。
続きを表示(約 1,900 文字)
【背景技術】
【0002】
データを不揮発に記憶することが可能なメモリデバイスとして、NANDフラッシュメモリが知られている。NANDフラッシュメモリのようなメモリデバイスにおいては、高集積化、大容量化のために3次元のメモリ構造が採用される。大容量のメモリデバイスでは、配線の断線等の理由で不良となったメモリ領域を予め検出することにより、当該不良なメモリ領域が動作に影響しないように管理することが求められる。
【先行技術文献】
【特許文献】
【0003】
米国特許第9443610号明細書
米国特許第9224502号明細書
米国特許出願公開第2022/0351802号明細書
【発明の概要】
【発明が解決しようとする課題】
【0004】
配線の断線を検出する。
【課題を解決するための手段】
【0005】
実施形態のメモリデバイスは、端部に第1トランジスタを有する第1メモリストリングを含む第1ブロックと、上記第1トランジスタのゲートに接続された第1端を有する第2トランジスタと、上記第2トランジスタのゲートに接続された第1配線と、上記第1配線の一端に接続されたブロックデコーダと、上記第1配線の他端に接続された第1端を有する第3トランジスタと、上記第3トランジスタの第2端に接続された電源と、を備える。
【図面の簡単な説明】
【0006】
第1実施形態に係るメモリデバイスを含むメモリシステムの構成を示すブロック図。
第1実施形態に係るメモリセルアレイの回路構成の一例を示す回路図。
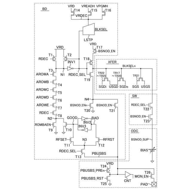
第1実施形態に係るロウデコーダモジュール及びその周辺の回路の接続の一例を示す回路図。
第1実施形態に係るロウデコーダモジュールの回路構成の一例を示す回路図。
第1実施形態に係るロウデコーダの平面レイアウトの一例を示す平面図。
第1実施形態に係るメモリデバイスにおける断線検出動作の第1例を示すタイミングチャート。
第1実施形態に係るメモリデバイスにおける断線検出動作の第2例を示すタイミングチャート。
第1実施形態に係るメモリデバイスにおける断線検出動作の第3例を示すタイミングチャート。
第1実施形態に係るメモリデバイスにおける抵抗測定動作の一例を示すグラフ。
第2実施形態に係るメモリセルアレイの構成の一例を示す回路図。
第2実施形態に係るロウデコーダモジュール及びその周辺の回路の接続の一例を示す回路図。
第2実施形態に係るメモリデバイスにおけるロウデコーダモジュールの平面レイアウトの一例を示す平面図。
第3実施形態に係るロウデコーダモジュール及びその周辺の回路の接続の一例を示す回路図。
第3実施形態に係るメモリデバイスにおけるロウデコーダモジュールの平面レイアウトの一例を示す平面図。
第4実施形態に係るロウデコーダモジュール及びその周辺の回路の接続の一例を示す回路図。
第4実施形態に係るメモリデバイスにおけるロウデコーダモジュールの平面レイアウトの一例を示す平面図。
第1変形例に係るロウデコーダモジュールの回路構成の一例を示す回路図。
第2変形例に係るロウデコーダモジュールの回路構成の一例を示す回路図。
【発明を実施するための形態】
【0007】
以下に、実施形態について図面を参照して説明する。図面の寸法及び比率は、必ずしも現実のものと同一とは限らない。
【0008】
なお、以下の説明において、略同一の機能及び構成を有する構成要素については、同一符号を付す。同様の構成を有する要素同士を特に区別する場合、同一符号の末尾に、互いに異なる文字又は数字を付加する場合がある。
【0009】
また、本明細書において、符号Xの末尾に“n”が付される符号Xnがある場合、当該符号Xnに対応する構成には、符号Xに対応する構成に印加される電圧レベルに対して反転した電圧レベルが印加されるものとする。すなわち、信号Xnは、信号Xの反転信号である。
【0010】
また、本明細書において、「ノード」は、「配線」と読み替えてもよい。「ノードの論理レベル」は、「配線に供給される信号の論理レベル」と読み替えてもよい。
(【0011】以降は省略されています)
この特許をJ-PlatPat(特許庁公式サイト)で参照する
関連特許
キオクシア株式会社
記憶装置
4日前
キオクシア株式会社
記憶装置
10日前
キオクシア株式会社
記憶装置
6日前
キオクシア株式会社
記憶装置
2日前
キオクシア株式会社
記憶装置
4日前
キオクシア株式会社
半導体装置
4日前
キオクシア株式会社
半導体装置
10日前
キオクシア株式会社
半導体装置
3日前
キオクシア株式会社
半導体装置
2日前
キオクシア株式会社
半導体装置
3日前
キオクシア株式会社
基板ユニット
6日前
キオクシア株式会社
通信システム
4日前
キオクシア株式会社
磁気記憶装置
4日前
キオクシア株式会社
磁気記憶装置
6日前
キオクシア株式会社
磁気記憶装置
6日前
キオクシア株式会社
磁気記憶装置
3日前
キオクシア株式会社
磁気記憶装置
4日前
キオクシア株式会社
メモリデバイス
4日前
キオクシア株式会社
半導体記憶装置
4日前
キオクシア株式会社
半導体記憶装置
3日前
キオクシア株式会社
メモリシステム
3日前
キオクシア株式会社
半導体記憶装置
17日前
キオクシア株式会社
半導体記憶装置
4日前
キオクシア株式会社
半導体記憶装置
6日前
キオクシア株式会社
半導体記憶装置
6日前
キオクシア株式会社
半導体記憶装置
6日前
キオクシア株式会社
半導体記憶装置
6日前
キオクシア株式会社
メモリデバイス
9日前
キオクシア株式会社
半導体記憶装置
16日前
キオクシア株式会社
半導体記憶装置
16日前
キオクシア株式会社
メモリシステム
16日前
キオクシア株式会社
半導体記憶装置
3日前
キオクシア株式会社
半導体記憶装置
4日前
キオクシア株式会社
メモリシステム
2日前
キオクシア株式会社
半導体記憶装置
2日前
キオクシア株式会社
メモリデバイス
2日前
続きを見る
他の特許を見る