TOP
|
特許
|
意匠
|
商標
特許ウォッチ
Twitter
他の特許を見る
10個以上の画像は省略されています。
公開番号
2025146841
公報種別
公開特許公報(A)
公開日
2025-10-03
出願番号
2025107000,2021148009
出願日
2025-06-25,2021-09-10
発明の名称
無線機
出願人
能美防災株式会社
代理人
弁理士法人朝日特許事務所
主分類
G08B
25/00 20060101AFI20250926BHJP(信号)
要約
【課題】無線機において、より重要度の高い異常信号を優先的に送信させる。
【解決手段】火災警報器は、異常を検出する検出部と、検出部が検出した異常に対応する回数のキャリアセンスを実行し、当該キャリアセンスの実行後に、その異常を通知する信号を送信する信号処理部とを備える。信号処理部は、第1の異常に対応する回数のキャリアセンスを開始し、当該キャリアセンスの実行中に、第1の異常よりも優先度が高い第2の異常を検出部が検出した場合に、第1の異常に代えて、または第1の異常とともに第2の異常を通知する信号を送信する。なお、第1の異常に対応するキャリアセンスの回数は、第2のキャリアセンスに対応する回数よりも多い。
【選択図】図8
特許請求の範囲
【請求項1】
異常を検出する検出部と、
キャリアセンスの実行後に、前記検出部が検出した異常を通知する信号を送信する信号処理部と
を備え、
前記信号処理部は、第1の異常の検出に応じたキャリアセンスの実行中に、前記第1の異常よりも優先度が高い第2の異常を前記検出部が検出した場合に、前記第1の異常に代えて、または前記第1の異常とともに前記第2の異常を通知する信号を送信する
ことを特徴とする無線機。
続きを表示(約 720 文字)
【請求項2】
前記信号処理部は、前記第1の異常の検出に応じた前記キャリアセンスの実行中に、前記第2の異常を前記検出部が検出した場合に、前記第1の異常とともに前記第2の異常を通知する信号を送信する
請求項1に記載の無線機。
【請求項3】
前記信号処理部は、前記第1の異常の検出に応じた前記キャリアセンスの実行中に、前記第2の異常を前記検出部が検出した場合に、前記第2の異常に対応する回数または時間のキャリアセンスの実行後に、前記第2の異常を通知する信号を送信し、
前記第1の異常の検出に応じて実行された前記キャリアセンスの回数または時間は、前記第2の異常に対応するキャリアセンスの実行済みの回数または時間として繰り越される
請求項1または2に記載の無線機。
【請求項4】
前記信号処理部は、前記第1の異常の検出に応じた前記キャリアセンスの実行中に、前記第2の異常を前記検出部が検出した場合に、当該キャリアセンスの回数または時間が、前記第1の異常に対応する回数または時間よりも値が小さい前記第2の異常に対応する回数または時間に達した時点で、前記第1の異常とともに前記第2の異常を通知する信号を送信する
請求項1から3のいずれか1項に記載の無線機。
【請求項5】
前記信号処理部は、異常状態から復旧すると、キャリアセンスの実行後、復旧を通知する信号を送信し、
前記復旧に対応するキャリアセンスの回数または時間を示す値は、前記異常に対応するキャリアセンスに対応する回数または時間を示す値よりも大きい
請求項1から4のいずれか1項に記載の無線機。
発明の詳細な説明
【技術分野】
【0001】
本発明は、無線機に関する。
続きを表示(約 1,400 文字)
【背景技術】
【0002】
従来、複数の火災警報器が連動して火災警報を行う住宅用の火災警報システムが知られている(例えば、特許文献1参照)。この火災警報システムによれば、火災が発生した部屋とは別の部屋にいる人にも火災の発生を知らせることができる。
【先行技術文献】
【特許文献】
【0003】
特開2014-56348号公報
【発明の概要】
【発明が解決しようとする課題】
【0004】
この火災警報システムに例示されるような警報システムでは、警報器間で様々な信号を送受信することができる。例えば、各警報器に火災感知部とガス漏れ検知部を備えさせ、警報器間で火災感知信号とガス漏れ検知信号を送受信させることができる。
【0005】
このように複数種類の異常信号を送受信可能とした場合、各異常信号の送信に優先順位をつけたいというニーズがある。例えば、ガス漏れ検知信号よりも火災感知信号の送信を優先したいというニーズがある。
【0006】
本発明は、このような事情に鑑みてなされたものであり、無線機において、より重要度の高い異常信号を優先的に送信させることを目的とする。
【課題を解決するための手段】
【0007】
上記の課題を解決するため、本発明に係る無線機は、異常を検出する検出部と、前記検出部が検出した異常に対応する回数または時間のキャリアセンスを実行し、当該キャリアセンスの実行後に、前記異常を通知する信号を送信する信号処理部とを備え、前記信号処理部は、第1の異常に対応する回数または時間のキャリアセンスを開始し、当該キャリアセンスの実行中に、前記第1の異常よりも優先度が高い第2の異常を前記検出部が検出した場合に、前記第1の異常に代えて、または前記第1の異常とともに前記第2の異常を通知する信号を送信し、前記第1の異常に対応するキャリアセンスの回数または時間を示す値は、前記第2の異常に対応するキャリアセンスに対応する回数または時間を示す値よりも大きいことを特徴とする。
【発明の効果】
【0008】
本発明によれば、無線機において、より重要度の高い異常信号を優先的に送信させることができる。
【図面の簡単な説明】
【0009】
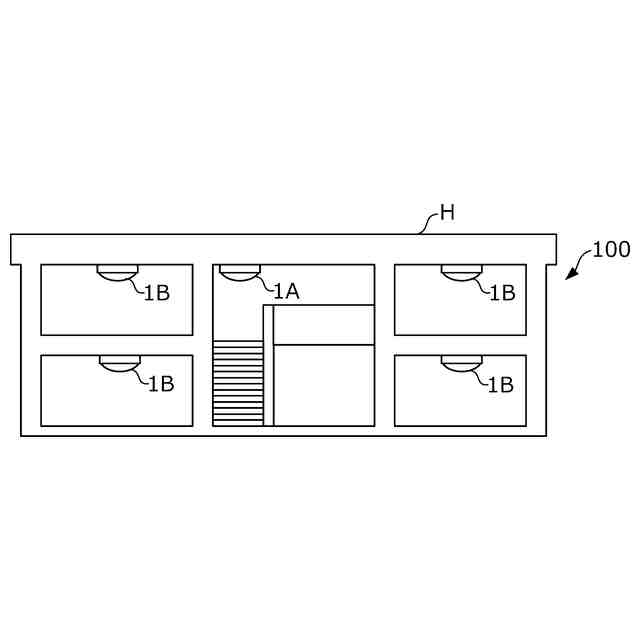
住宅Hに設置された火災警報システム100を示す図
火災警報器1のハードウェア構成を示すブロック図
火災連動処理を示すシーケンス図
火災復旧処理を示すシーケンス図
ガス漏れ連動処理を示すシーケンス図
ガス漏れ復旧処理を示すシーケンス図
信号送信処理を示すフロー図
信号送信処理の具体例を示すタイムチャート
火災連動信号送信処理を示すフロー図
ガス漏れ連動信号送信処理を示すフロー図
火災連動信号送信処理とガス漏れ連動信号送信処理の具体例を示すタイムチャート
【発明を実施するための形態】
【0010】
1.実施形態
本発明の一実施形態に係る火災警報システム100について説明する。ここで説明する火災警報システム100は、複数の火災警報器が連動して火災警報を行う住宅用の火災警報システムである。
1-1.構成
(【0011】以降は省略されています)
この特許をJ-PlatPat(特許庁公式サイト)で参照する
関連特許
能美防災株式会社
警報器
2か月前
能美防災株式会社
表示灯
1か月前
能美防災株式会社
発信装置
1か月前
能美防災株式会社
照射装置
2日前
能美防災株式会社
無線機器
2か月前
能美防災株式会社
システム
今日
能美防災株式会社
消火設備
9日前
能美防災株式会社
炎検知器
1か月前
能美防災株式会社
火災受信機
1か月前
能美防災株式会社
火災感知器
2か月前
能美防災株式会社
携帯型電灯
7日前
能美防災株式会社
火災受信機
3日前
能美防災株式会社
火災感知器
1か月前
能美防災株式会社
火災受信機
1日前
能美防災株式会社
現地操作盤
1か月前
能美防災株式会社
火災受信機
1日前
能美防災株式会社
火災感知器
1か月前
能美防災株式会社
水噴霧ヘッド
7日前
能美防災株式会社
ガス検出装置
1か月前
能美防災株式会社
散水システム
1か月前
能美防災株式会社
避難システム
1か月前
能美防災株式会社
避難システム
1か月前
能美防災株式会社
非常伝達装置
1か月前
能美防災株式会社
感知器ベース
11日前
能美防災株式会社
防災システム
9日前
能美防災株式会社
防災システム
29日前
能美防災株式会社
感知システム
2日前
能美防災株式会社
感知システム
2日前
能美防災株式会社
車両システム
2日前
能美防災株式会社
車両システム
2日前
能美防災株式会社
延焼防止システム
1か月前
能美防災株式会社
深部火災検知装置
1日前
能美防災株式会社
着脱式避難誘導灯
1日前
能美防災株式会社
防災管理システム
1か月前
能美防災株式会社
火災監視システム
1か月前
能美防災株式会社
火災監視システム
1か月前
続きを見る
他の特許を見る