TOP
|
特許
|
意匠
|
商標
特許ウォッチ
Twitter
他の特許を見る
公開番号
2025111981
公報種別
公開特許公報(A)
公開日
2025-07-31
出願番号
2024005948
出願日
2024-01-18
発明の名称
火災感知器
出願人
能美防災株式会社
代理人
個人
,
個人
,
個人
,
個人
,
個人
主分類
G08B
17/00 20060101AFI20250724BHJP(信号)
要約
【課題】発光による報知に関し、視認性の向上を図ることができる火災感知器を得ることを目的とする。
【解決手段】火災感知器(100)は、火災の発生を感知する感知部(20)と、感知部(20)が火災の発生を感知すると発光する表示灯(30)と、感知部(20)と表示灯(30)とが収納される枠体(10)と、を備え、枠体(10)は、表示灯(30)が発光している状態を、外部から視認可能となる形状を有しており、表示灯(30)は、放出する光に動きを加えた動的パターンによって外部から視認可能に発光する。
【選択図】図1
特許請求の範囲
【請求項1】
火災の発生を感知する感知部と、
前記感知部が前記火災の発生を感知すると発光する表示灯と、
前記感知部と前記表示灯とが収納される枠体と、
を備え、
前記枠体は、前記表示灯が発光している状態を、外部から視認可能となる形状を有しており、
前記表示灯は、放出する光に動きを加えた動的パターンによって外部から視認可能に発光する、
火災感知器。
続きを表示(約 690 文字)
【請求項2】
前記表示灯は、光の放出方向を時間の経過とともに変化させることによって前記動きを加えた前記動的パターンにより発光する回転灯である、
請求項1に記載の火災感知器。
【請求項3】
前記枠体は、前記表示灯を設置する台座である表示灯台座を備えており、
前記表示灯は、前記表示灯台座の周方向に並んで設けられている複数の発光体を備えており、
各前記発光体は、前記感知部が前記火災の発生を感知した場合、予め設定された発光パターンによって前記動きを加えた前記動的パターンにより発光する、
請求項1に記載の火災感知器。
【請求項4】
前記発光パターンは、各前記発光体が前記周方向の並び順に沿って順番に発光するパターンである、
請求項3に記載の火災感知器。
【請求項5】
前記枠体は、前記表示灯を覆う透明キャップとして形成されることで、当該透明キャップを通じて、前記表示灯の発光が外部から視認可能となっている、
請求項1から4のいずれか1項に記載の火災感知器。
【請求項6】
前記枠体は、前記表示灯の発光が外部から視認可能となる隙間を有している、
請求項1から4のいずれか1項に記載の火災感知器。
【請求項7】
前記枠体は、前記感知部に前記表示灯を固定するフレーム部材を有し、
前記フレーム部材には、前記表示灯を前記感知部に電気的に接続するための配線を通す貫通孔が設けられている、
請求項1から4のいずれか1項に記載の火災感知器。
発明の詳細な説明
【技術分野】
【0001】
本開示は、火災が発生した際に点灯する火災感知器に関するものである。
続きを表示(約 1,000 文字)
【背景技術】
【0002】
火災を感知した火災感知器は、警報音の鳴動とともに、表示灯を点灯させて視覚的に火災の発生を報知する。
【0003】
点灯することにより視覚的に火災の発生を報知する火災感知器に関して、次のものが開示されている(例えば、特許文献1参照)。特許文献1に係る火災感知器は、表示部からの光を、反射板を用いて反射させることにより、視認性を向上させている。
【先行技術文献】
【特許文献】
【0004】
特開2023-93661号公報
【発明の概要】
【発明が解決しようとする課題】
【0005】
特許文献1の火災感知器においては、反射板を設けることにより、一定方向からの視認性を向上させることができる。しかしながら、表示部、反射板が共に定位置から動かずに固定されているため、火災感知器からの光も静止したまま動かず、目立たない。このため、視認性の向上が望まれる。
【0006】
本開示は、上記の課題を解決するためになされたものであり、発光による報知に関し、視認性の向上を図ることができる火災感知器を得ることを目的とする。
【課題を解決するための手段】
【0007】
本開示に係る火災感知器は、火災の発生を感知する感知部と、感知部が火災の発生を感知すると発光する表示灯と、感知部と表示灯とが収納される枠体と、を備え、枠体は、表示灯が発光している状態を、外部から視認可能となる形状を有しており、表示灯は、放出する光に動きを加えた動的パターンによって外部から視認可能に発光する。
【発明の効果】
【0008】
本開示によれば、発光による報知に関し、視認性の向上を図ることができる火災感知器を得ることを目的とする。
【図面の簡単な説明】
【0009】
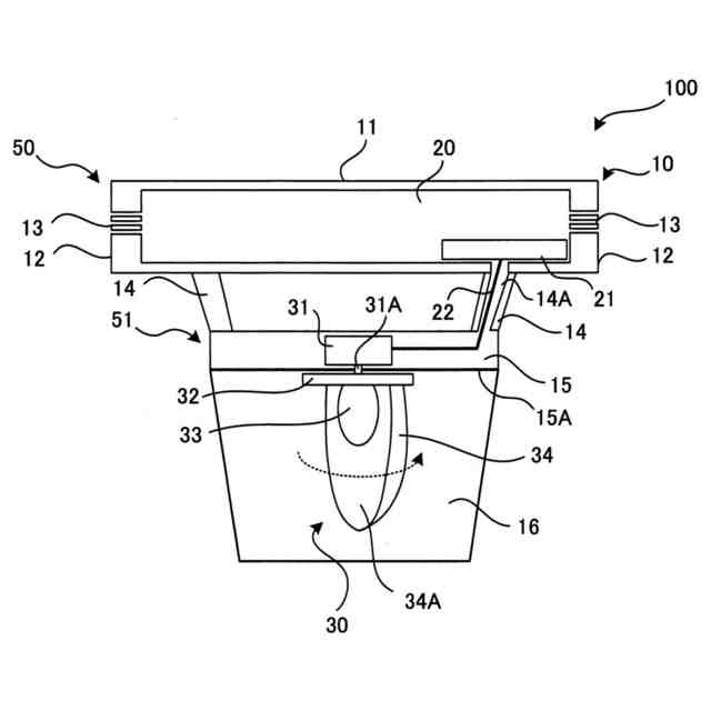
実施の形態1に係る火災感知器の外観を例示する斜視図である。
図1に示す火災感知器の断面図である。
図1に示す火災感知器における表示灯を他の構成に変更した場合の平面図である。
【発明を実施するための形態】
【0010】
以下、本開示の火災感知器の好適な態様につき、図面を用いて説明する。
本開示の火災感知器は、火災の発生を感知すると、警報音を鳴動させるとともに、表示灯を発光させて利用者に視覚を通じて火災の発生を報知する。
(【0011】以降は省略されています)
この特許をJ-PlatPat(特許庁公式サイト)で参照する
関連特許
能美防災株式会社
表示灯
22日前
能美防災株式会社
発信装置
1か月前
能美防災株式会社
炎検知器
1か月前
能美防災株式会社
消火設備
1日前
能美防災株式会社
現地操作盤
1か月前
能美防災株式会社
火災感知器
27日前
能美防災株式会社
火災受信機
24日前
能美防災株式会社
防災システム
21日前
能美防災株式会社
ガス検出装置
1か月前
能美防災株式会社
避難システム
1か月前
能美防災株式会社
非常伝達装置
1か月前
能美防災株式会社
避難システム
24日前
能美防災株式会社
防災システム
1日前
能美防災株式会社
感知器ベース
3日前
能美防災株式会社
防災管理システム
24日前
能美防災株式会社
火災監視システム
1か月前
能美防災株式会社
火災監視システム
23日前
能美防災株式会社
延焼防止システム
24日前
能美防災株式会社
災害通報システム
24日前
能美防災株式会社
中継器の配線接続構造
15日前
能美防災株式会社
ガス警報器用の試験器
27日前
能美防災株式会社
スプリンクラ消火設備
今日
能美防災株式会社
煙感知器用の加煙試験器
27日前
能美防災株式会社
泡消火方法及び泡消火設備
22日前
能美防災株式会社
塵芥車の火災検知システム
1日前
能美防災株式会社
防災設備の製造管理システム
1日前
能美防災株式会社
避難シミュレーションシステム
1日前
能美防災株式会社
光警報装置および火災報知システム
1か月前
能美防災株式会社
消火栓及びそれに用いる消火用ホース
22日前
能美防災株式会社
表示灯
1か月前
能美防災株式会社
開閉弁装置
1か月前
能美防災株式会社
火災感知器
1日前
能美防災株式会社
煙監視システム
29日前
能美防災株式会社
ベース装置、化粧板ユニット、火災感知器及び火災感知システム
3日前
能美防災株式会社
火災感知器、火災受信機及び火災報知システムのリニューアル方法
1か月前
能美防災株式会社
火災関連情報表示機
1か月前
続きを見る
他の特許を見る