TOP
|
特許
|
意匠
|
商標
特許ウォッチ
Twitter
他の特許を見る
公開番号
2025125371
公報種別
公開特許公報(A)
公開日
2025-08-27
出願番号
2024021398
出願日
2024-02-15
発明の名称
ガス検出装置
出願人
能美防災株式会社
代理人
弁理士法人朝日特許事務所
主分類
G08B
21/10 20060101AFI20250820BHJP(信号)
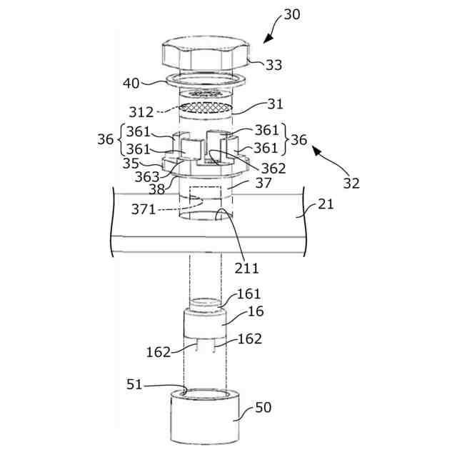
要約
【課題】音響部から筐体の外部に出力される音の大きさを容易に調整できる防水構造を提供する。
【解決手段】ガス検出装置は、開口部を有する筐体と、貫通孔が形成され、開口部を閉鎖する内部カバー21と、ガスを検出する検出部と、筐体の内部に設けられ、ガスの検出結果に応じて音を出力する音響部16と、貫通孔に設けられる本体部32と、本体部に締結されるヘッド部33とを有し、貫通孔を閉鎖する防水部材30と、本体部32とヘッド部33との間に設けられるスペーサー部材40とを備える。防水部材30には、音響部16から出力された音を筐体の外部に導く音響通路301が形成される。
【選択図】図10
特許請求の範囲
【請求項1】
開口部を有する筐体と、
貫通孔が形成され、前記開口部を閉鎖する内部カバーと、
ガスを検出する検出部と、
前記筐体の内部に設けられ、前記ガスの検出結果に応じて音を出力する音響部と、
前記貫通孔に設けられる本体部と、前記本体部に締結されるヘッド部とを有し、前記貫通孔を閉鎖する防水部材と、
前記本体部と前記ヘッド部との間に設けられるスペーサー部材とを備え、
前記防水部材には、前記音響部から出力された前記音を前記筐体の外部に導く音響通路が形成される
ガス検出装置。
続きを表示(約 540 文字)
【請求項2】
前記スペーサー部材は、前記音響部から前記筐体の外部に出力される前記音が所定の音圧以上となる厚みを有する
請求項1に記載のガス検出装置。
【請求項3】
前記防水部材は、前記本体部と前記ヘッド部との間に設けられ、前記ヘッド部により圧縮される、防水材料からなる弾性部を有し、
前記弾性部は、防水性及び通気性を有し、前記音響通路に設けられるフィルターを有する
請求項1又は2に記載のガス検出装置。
【請求項4】
前記本体部には、前記音響通路を構成する第1貫通孔が形成され、
前記弾性部には、前記音響通路を構成する第2貫通孔が形成され、
前記ヘッド部と前記弾性部との間、及び前記スペーサー部材と前記弾性部との間には、前記音響通路を構成する第1間隙が形成され、
前記本体部と前記スペーサー部材との間には、前記音響通路の出口となる第2間隙が形成される
請求項3に記載のガス検出装置。
【請求項5】
前記本体部は、前記音響部の一部が挿入される凹部を有し、
前記凹部に挿入された前記音響部を保持する保持部をさらに備える
請求項1に記載のガス検出装置。
発明の詳細な説明
【技術分野】
【0001】
本発明は、ガス検出装置の防水構造に関する。
続きを表示(約 1,200 文字)
【背景技術】
【0002】
特許文献1には、ケーシングに形成された共鳴空間の作用により警報用ブザーによるブザー音の音圧レベルが増大されてブザー音放音用開口より外部に発せられることが記載されている。
【先行技術文献】
【特許文献】
【0003】
特許第5818666号公報
【発明の概要】
【発明が解決しようとする課題】
【0004】
しかし、特許文献1に記載された構成では、音響部から筐体の外部に出力される音の大きさを調整するには筐体の内部構造を変えなければならないため、筐体の外部に出力される音の大きさを容易に調整することができない。
【0005】
本発明は、音響部から筐体の外部に出力される音の大きさを容易に調整できる防水構造を提供することを目的とする。
【課題を解決するための手段】
【0006】
本発明の一態様は、開口部を有する筐体と、貫通孔が形成され、前記開口部を閉鎖する内部カバーと、ガスを検出する検出部と、前記筐体の内部に設けられ、前記ガスの検出結果に応じて音を出力する音響部と、前記貫通孔に設けられる本体部と、前記本体部に締結されるヘッド部とを有し、前記貫通孔を閉鎖する防水部材と、前記本体部と前記ヘッド部との間に設けられるスペーサー部材とを備え、前記防水部材には、前記音響部から出力された前記音を前記筐体の外部に導く音響通路が形成されるガス検出装置を提供する。
【発明の効果】
【0007】
本発明によれば、音響部から筐体の外部に出力される音の大きさを容易に調整できる防水構造を提供することができる。
【図面の簡単な説明】
【0008】
ガス検出装置の電気的構成を例示する図。
ガス検出装置の外観を例示する側面図。
ガス検出装置の外観を例示する平面図。
図3のA部分を拡大した図。
図4の側面図。
図5の分解斜視図。
弾性部を例示する平面図。
本体部を例示する平面図。
ヘッド部を例示する底面図。
図4のI-I線に沿った断面図。
スペーサー部材の厚みと、音響部から筐体の外部に出力される音の音圧との関係を例示する図。
【発明を実施するための形態】
【0009】
(構成)
以下、図面を参照して本発明に係る実施形態について説明する。なお、図面においては、発明を理解し易いように、実際の寸法、形状、それらの比率とは異なる場合がある。
【0010】
図1は、ガス検出装置1の電気的構成を例示する図である。ガス検出装置1は、例えば災害時に瓦礫や土砂の中からの生存者を探索するのに用いられる。ガス検出装置1は、人体から排出されるガスを検出する。
(【0011】以降は省略されています)
この特許をJ-PlatPat(特許庁公式サイト)で参照する
関連特許
能美防災株式会社
システム
3日前
能美防災株式会社
消火設備
12日前
能美防災株式会社
照射装置
5日前
能美防災株式会社
携帯型電灯
10日前
能美防災株式会社
火災受信機
4日前
能美防災株式会社
火災受信機
4日前
能美防災株式会社
火災受信機
6日前
能美防災株式会社
車両システム
5日前
能美防災株式会社
車両システム
5日前
能美防災株式会社
防災システム
1か月前
能美防災株式会社
水噴霧ヘッド
10日前
能美防災株式会社
感知器ベース
14日前
能美防災株式会社
防災システム
12日前
能美防災株式会社
感知システム
5日前
能美防災株式会社
感知システム
5日前
能美防災株式会社
画像表示システム
6日前
能美防災株式会社
着脱式避難誘導灯
4日前
能美防災株式会社
異常検出システム
5日前
能美防災株式会社
深部火災検知装置
4日前
能美防災株式会社
中継器の配線接続構造
26日前
能美防災株式会社
スプリンクラ消火設備
11日前
能美防災株式会社
エアーコンディショナー
5日前
能美防災株式会社
防災機器及び消火栓装置
4日前
能美防災株式会社
塵芥車の火災検知システム
12日前
能美防災株式会社
信号検出装置および警報器
5日前
能美防災株式会社
中継器および通信テスト方法
4日前
能美防災株式会社
防災設備の製造管理システム
12日前
能美防災株式会社
熱感知器及び熱感知システム
4日前
能美防災株式会社
避難シミュレーションシステム
12日前
能美防災株式会社
火災感知器及び火災報知システム
3日前
能美防災株式会社
スプリンクラヘッドの散水反射板
10日前
能美防災株式会社
電子タグ及び位置情報通信システム
4日前
能美防災株式会社
スプリンクラヘッド用シーリング部材
10日前
能美防災株式会社
煙感知器の作動試験方法、作動試験器
4日前
能美防災株式会社
消火栓及びそれに用いる消火用ホース
1か月前
能美防災株式会社
異常検知システム、管理装置及び中継装置
4日前
続きを見る
他の特許を見る