TOP
|
特許
|
意匠
|
商標
特許ウォッチ
Twitter
他の特許を見る
10個以上の画像は省略されています。
公開番号
2025146872
公報種別
公開特許公報(A)
公開日
2025-10-03
出願番号
2025122528,2024552241
出願日
2025-07-22,2023-08-04
発明の名称
移動体、情報処理装置、移動体制御システム、移動体制御方法およびプログラム
出願人
三菱電機株式会社
代理人
弁理士法人酒井国際特許事務所
主分類
G08G
1/123 20060101AFI20250926BHJP(信号)
要約
【課題】予約と移動体の実際の利用の状態との不整合を抑制することができる移動体を得ること。
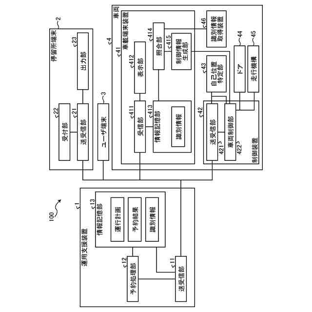
【解決手段】予約により手配される車両4であって、車両4のユーザの予約結果に関する第1の情報を受信する受信部411と、第1の情報とユーザから取得された第2の情報とを用いた照合処理を行う照合部414と、照合結果に応じて車両4の制御情報を生成する制御情報生成部415と、を備え、第1の情報は、予約結果に含まれる、ユーザが車両4に乗る場所および乗る時刻を含み、車両4は自動運転車両であり、車両4は停車する乗降場所ごとに到着すると出発が禁止され、照合部414は、第1の情報と第2の情報とが整合しているか否かを判定する第1の照合処理と、乗車する予定の全てのユーザが乗ったか否かを判定する第2の照合処理とを実施し、制御情報生成部415は、第2の照合処理において照合が成功した場合に、出発の禁止を解除する制御情報を生成する。
【選択図】図1
特許請求の範囲
【請求項1】
予約により手配される移動体であって、
前記移動体を利用するユーザの予約結果に関する情報である第1の情報を受信する受信部と、
前記第1の情報と、前記ユーザから取得された識別情報である第2の情報とを用いた照合処理を行う照合部と、
前記照合処理の照合結果に応じて前記移動体に関する制御のための制御情報を生成する制御情報生成部と、
を備え、
前記第1の情報は、前記予約結果に含まれる、前記ユーザが前記移動体に乗る場所および前記移動体に乗る時刻を含み、
前記移動体は自動運転車両であり、
前記移動体に関する制御は、前記移動体が前記移動体の乗降場所に停止している場合の前記移動体の出発の制御を含み、
前記移動体は、停車する前記乗降場所ごとに、前記乗降場所に到着すると前記出発が禁止され、
前記照合部は、前記第1の情報および前記第2の情報を用いて、前記第1の情報と前記第2の情報とが整合しているか否かを判定する第1の照合処理と、前記乗降場所から前記移動体に乗車する予定の全ての前記ユーザが前記移動体に乗ったか否かを判定する第2の照合処理とを実施し、
前記制御情報生成部は、前記第2の照合処理において照合が成功した場合に、前記出発の禁止を解除するための前記制御情報を生成することを特徴とする移動体。
続きを表示(約 1,200 文字)
【請求項2】
前記移動体に関する制御は、前記移動体が乗降場所に停止している場合の前記移動体のドアの開閉の制御を含み、
前記移動体は前記乗降場所に到着すると前記ドアを閉じており、
前記制御情報生成部は、前記照合結果が前記照合処理における照合が成功したことを示す場合に、前記ドアを開けることを指示する前記制御情報を生成することを特徴とする請求項1に記載の移動体。
【請求項3】
前記移動体に関する制御は、前記移動体が乗降場所に停止している場合の前記移動体の前記乗降場所に設けられたゲートの開閉の制御を含み、
前記ゲートは、前記移動体の前記乗降場所に到着時に閉じており、
前記制御情報生成部は、前記照合結果が前記照合処理における照合が成功したことを示す場合に、前記ゲートを開けることを指示する前記制御情報を生成することを特徴とする請求項1に記載の移動体。
【請求項4】
前記第1の情報および前記第2の情報は、前記ユーザを識別するための情報であって当該ユーザの前記予約に用いられた情報であるユーザ情報を含むことを特徴とする請求項1から3のいずれか1つに記載の移動体。
【請求項5】
前記第1の情報および前記第2の情報は、前記予約を識別する予約識別情報を含むことを特徴とする請求項1から3のいずれか1つに記載の移動体。
【請求項6】
前記第2の情報は、前記予約結果に含まれる、前記ユーザが前記移動体に乗る場所および前記移動体に乗る時刻を含むことを特徴とする請求項1に記載の移動体。
【請求項7】
前記移動体は、前記移動体のドアが開いている間は前記出発が禁止され、
前記制御情報生成部は、前記第2の照合処理において照合が成功した場合に、前記出発の禁止を解除するための前記制御情報として、前記ドアを閉めることを指示する前記制御情報を生成することを特徴とする請求項1に記載の移動体。
【請求項8】
前記制御情報生成部は、前記移動体を制御する車両制御部へ前記制御情報を出力することを特徴とする請求項1から3のいずれか1つに記載の移動体。
【請求項9】
表示部、を備え、
前記制御情報生成部は、前記表示部へ前記制御情報を出力し、
前記表示部は、前記制御情報を表示することを特徴とする請求項1から3のいずれか1つに記載の移動体。
【請求項10】
前記受信部は、移動体の運行計画が変更された場合に、前記運行計画の変更の影響を受ける前記予約の変更後の前記予約の内容に基づいて更新された前記第1の情報を受信し、 前記照合部は、更新された前記第1の情報を用いて前記照合処理を行うことを特徴とする請求項1から3のいずれか1つに記載の移動体。
(【請求項11】以降は省略されています)
発明の詳細な説明
【技術分野】
【0001】
本開示は、予約により手配される移動体、情報処理装置、移動体制御システム、移動体制御方法およびプログラムに関する。
続きを表示(約 1,900 文字)
【背景技術】
【0002】
バス、PMV(Personal Mobility Vehicle:パーソナルモビリティビークル)、タクシー、水上バス、航空機などの人を乗せて移動させることが可能な移動体のなかには、予約により手配されるものがある。
【0003】
特許文献1には、予約制バスにおいて、バス停で利用者の認証を行うことにより、利用者本人の特定を行うことが開示されている。特許文献1には、この利用者本人の特定を運賃決済にも利用できることが開示されている。
【先行技術文献】
【特許文献】
【0004】
特許第7072197号公報
【発明の概要】
【発明が解決しようとする課題】
【0005】
特許文献1に記載の技術によれば、予約制バスにおいて、バス停にいる人が予約した本人であるか否かを特定することができる。しかしながら、特許文献1に記載の技術では、予約しているユーザが予約したバスとは異なるバスに乗車してしまう乗り間違いが発生する、または予約した全てのユーザが乗車しないうちにバスが発車するといった、予約とバスの実際の利用の状態との不整合を防ぐことについては開示されていない。
【0006】
本開示は、上記に鑑みてなされたものであって、予約と移動体の実際の利用の状態との不整合を抑制することができる移動体を得ることを目的とする。
【課題を解決するための手段】
【0007】
上述した課題を解決し、目的を達成するために、本開示にかかる移動体は、予約により手配される移動体であって、移動体を利用するユーザの予約結果に関する情報である第1の情報を受信する受信部と、第1の情報と、ユーザから取得された識別情報である第2の情報とを用いた照合処理を行う照合部と、照合処理の照合結果に応じて移動体に関する制御のための制御情報を生成する制御情報生成部と、を備え、第1の情報は、予約結果に含まれる、ユーザが前記移動体に乗る場所および前記移動体に乗る時刻を含み、移動体は自動運転車両であり、移動体に関する制御は、移動体が移動体の乗降場所に停止している場合の移動体の出発の制御を含み、移動体は、停車する乗降場所ごとに、乗降場所に到着すると出発が禁止され、照合部は、第1の情報および第2の情報を用いて、第1の情報と第2の情報とが整合しているか否かを判定する第1の照合処理と、乗降場所から移動体に乗車する予定の全てのユーザが移動体に乗ったか否かを判定する第2の照合処理とを実施し、制御情報生成部は、第2の照合処理において照合が成功した場合に、出発の禁止を解除するための制御情報を生成する。
【発明の効果】
【0008】
本開示にかかる移動体は、予約と移動体の実際の利用の状態との不整合を抑制するという効果を奏する。
【図面の簡単な説明】
【0009】
実施の形態1にかかる車載端末装置を含む移動体運用システムの構成例を示す図
実施の形態1の車両の識別情報取得装置の配置例を示す図
実施の形態1の移動体運用システムにおける処理の第1の例を示すシーケンス図
実施の形態1の予約結果の一例を示す図
実施の形態1の移動体運用システムにおける処理の第2の例を示すシーケンス図
実施の形態1の移動体運用システムにおける処理の第3の例を示すシーケンス図
実施の形態1の車両におけるドアの開閉の制御の一例を示すフローチャート
実施の形態1の車両における車両の発車の制御の一例を示すフローチャート
照合部が運用支援装置内に設けられる場合の実施の形態1の移動体運用システムの構成例を示す図
実施の形態1の照合処理と制御情報の生成処理とを行う端末装置の構成例を示す図
実施の形態1の端末装置によって制御されるゲートの一例を示す図
実施の形態1の運用支援装置、車載端末装置および端末装置のそれぞれを実現するコンピュータシステムの構成例を示す図
実施の形態2にかかる車載端末装置を含む移動体運用システムの構成例を示す図
実施の形態2の運行計画の見直し処理の一例を示すフローチャート
実施の形態2の移動体運用システムにおける処理の一例を示すシーケンス図
【発明を実施するための形態】
【0010】
以下に、実施の形態にかかる移動体、情報処理装置、移動体制御システム、移動体制御方法およびプログラムを図面に基づいて詳細に説明する。
(【0011】以降は省略されています)
この特許をJ-PlatPat(特許庁公式サイト)で参照する
関連特許
三菱電機株式会社
計測器
1か月前
三菱電機株式会社
冷蔵庫
1か月前
三菱電機株式会社
回転電機
6日前
三菱電機株式会社
照明装置
1か月前
三菱電機株式会社
回転電機
1か月前
三菱電機株式会社
照明器具
1か月前
三菱電機株式会社
換気装置
1か月前
三菱電機株式会社
照明装置
27日前
三菱電機株式会社
電子機器
1か月前
三菱電機株式会社
照明装置
1か月前
三菱電機株式会社
回転電機
1か月前
三菱電機株式会社
照明装置
16日前
三菱電機株式会社
回転電機
16日前
三菱電機株式会社
回転電機
1か月前
三菱電機株式会社
照明器具
1か月前
三菱電機株式会社
照明装置
1か月前
三菱電機株式会社
半導体装置
16日前
三菱電機株式会社
半導体装置
26日前
三菱電機株式会社
半導体装置
1か月前
三菱電機株式会社
回路遮断器
1か月前
三菱電機株式会社
半導体装置
10日前
三菱電機株式会社
加熱調理器
9日前
三菱電機株式会社
半導体装置
1か月前
三菱電機株式会社
半導体装置
1か月前
三菱電機株式会社
半導体装置
1か月前
三菱電機株式会社
回路遮断器
1か月前
三菱電機株式会社
電気掃除機
1か月前
三菱電機株式会社
電力変換装置
26日前
三菱電機株式会社
埋込プレート
1か月前
三菱電機株式会社
回転電機装置
1か月前
三菱電機株式会社
電力変換装置
1か月前
三菱電機株式会社
空気調和装置
17日前
三菱電機株式会社
ネジ取出機構
17日前
三菱電機株式会社
電力変換装置
16日前
三菱電機株式会社
空気処理装置
1か月前
三菱電機株式会社
制御システム
1か月前
続きを見る
他の特許を見る