TOP
|
特許
|
意匠
|
商標
特許ウォッチ
Twitter
他の特許を見る
10個以上の画像は省略されています。
公開番号
2025118306
公報種別
公開特許公報(A)
公開日
2025-08-13
出願番号
2024013555
出願日
2024-01-31
発明の名称
制御システム
出願人
三菱電機株式会社
,
三菱電機照明株式会社
代理人
弁理士法人高田・高橋国際特許事務所
主分類
H04W
8/00 20090101AFI20250805BHJP(電気通信技術)
要約
【課題】ユーザに適切な情報を提供できる制御システムを得ることを目的とする。
【解決手段】本開示に係る制御システムは、通信ユニットと、前記通信ユニットの位置情報と、前記通信ユニットが設置されたエリアの店舗情報と、前記通信ユニットが設置されたエリアの階層情報と、前記通信ユニットが設置されたエリアのフロアマップ情報の少なくとも1つを含む情報を前記通信ユニットに送信する制御装置と、を備え、前記通信ユニットは、情報端末との間の無線通信における応答速度、電波強度または電波方向の何れかに基づいて、前記情報端末とペアリングされると、前記情報端末に前記情報を送信する。
【選択図】図1
特許請求の範囲
【請求項1】
通信ユニットと、
前記通信ユニットの位置情報と、前記通信ユニットが設置されたエリアの店舗情報と、前記通信ユニットが設置されたエリアの階層情報と、前記通信ユニットが設置されたエリアのフロアマップ情報の少なくとも1つを含む情報を前記通信ユニットに送信する制御装置と、
を備え、
前記通信ユニットは、情報端末との間の無線通信における応答速度、電波強度または電波方向の何れかに基づいて、前記情報端末とペアリングされると、前記情報端末に前記情報を送信することを特徴とする制御システム。
続きを表示(約 710 文字)
【請求項2】
前記通信ユニットは照明器具に設けられていることを特徴とする請求項1に記載の制御システム。
【請求項3】
複数の前記通信ユニットを備え、
前記複数の通信ユニットのうち最も前記応答速度の速い通信ユニットが前記情報端末とペアリングされ、前記情報端末に前記情報を送信することを特徴とする請求項1または2に記載の制御システム。
【請求項4】
複数の前記通信ユニットを備え、
前記複数の通信ユニットのうち最も前記電波強度の強い通信ユニットが前記情報端末とペアリングされ、前記情報端末に前記情報を送信することを特徴とする請求項1または2に記載の制御システム。
【請求項5】
複数の前記通信ユニットを備え、
前記複数の通信ユニットは、指向性を有した電波により前記情報端末と前記無線通信を行うことが可能であり、
前記複数の通信ユニットのうち前記情報端末によって前記電波が受信された通信ユニットが前記情報端末とペアリングされ、前記情報端末に前記情報を送信することを特徴とする請求項1または2に記載の制御システム。
【請求項6】
前記通信ユニットは、前記情報端末を所持したユーザの動線上に設置されることを特徴とする請求項1または2に記載の制御システム。
【請求項7】
前記通信ユニットにより制御される照明子機を備え、
前記照明子機は前記通信ユニットに隣接する店舗に設置され、
前記通信ユニットは、前記店舗情報に応じて前記照明子機を調光制御することを特徴とする請求項1または2に記載の制御システム。
発明の詳細な説明
【技術分野】
【0001】
本開示は、制御システムに関する。
続きを表示(約 1,800 文字)
【背景技術】
【0002】
特許文献1には、輝度変化によって信号を送信する情報通信方法が開示されている。この方法は、送信対象の信号を変調することによって、輝度変化のパターンを決定するステップと、発光体であるディスプレイが、決定されたパターンにしたがって輝度変化することによって、送信対象の信号を送信するステップとを含む。
【先行技術文献】
【特許文献】
【0003】
特許第5536293号公報
【発明の概要】
【発明が解決しようとする課題】
【0004】
例えば東京駅、池袋駅のように、建物内が複雑で広範囲な駅が存在する。このような駅を普段利用しない人は、建物内で迷い、目的地にたどり着くまで時間がかかる可能性がある。特に、駅構内の店舗に用事がある場合、複雑な構内を探し歩くことになる。またGPS(Global Positioning System)では階層が分からないことがあり、GPSによるマップが機能しないおそれがある。
【0005】
特許文献1には、照明から情報を送信する通信方式が開示されている。しかしながら、複数の照明からの光が重なる場合、混信が発生し、ユーザに適切な情報を提供できないおそれがある。
【0006】
本開示は、ユーザに適切な情報を提供できる制御システムを得ることを目的とする。
【課題を解決するための手段】
【0007】
本開示に係る制御システムは、通信ユニットと、前記通信ユニットの位置情報と、前記通信ユニットが設置されたエリアの店舗情報と、前記通信ユニットが設置されたエリアの階層情報と、前記通信ユニットが設置されたエリアのフロアマップ情報の少なくとも1つを含む情報を前記通信ユニットに送信する制御装置と、を備え、前記通信ユニットは、情報端末との間の無線通信における応答速度、電波強度または電波方向の何れかに基づいて、前記情報端末とペアリングされると、前記情報端末に前記情報を送信する。
【発明の効果】
【0008】
本開示に係る制御システムによれば、通信ユニットは、情報端末との間の無線通信における応答速度、電波強度または電波方向の何れかに基づいて、情報端末とペアリングされると、情報端末に情報を送信する。情報は、通信ユニットの位置情報と、通信ユニットが設置されたエリアの店舗情報と、通信ユニットが設置されたエリアの階層情報と、通信ユニットが設置されたエリアのフロアマップ情報の少なくとも1つを含む。このため、ユーザに適切な情報を提供できる。
【図面の簡単な説明】
【0009】
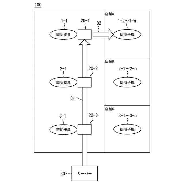
実施の形態1に係る制御システムの構成を説明する図である。
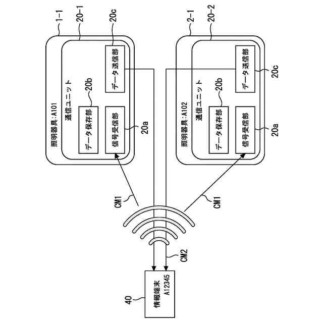
実施の形態1に係る制御システムの構成を示すブロック図である。
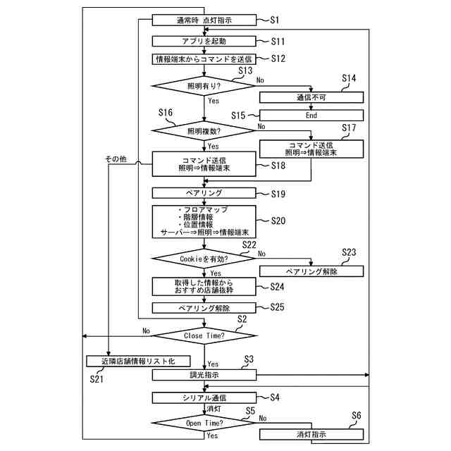
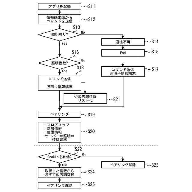
実施の形態1に係る制御システムの動作を示すフローチャートである。
実施の形態1に係るペアリング方法を説明する図である。
実施の形態1に係るペアリング方法を説明する図である。
実施の形態1に係る制御システムの動作を示すフローチャートである。
実施の形態1に係る制御システムの全体の動作を示すフローチャートである。
実施の形態2に係る電波強度を示すイメージ図である。
実施の形態2に係るペアリング方法を説明する図である。
実施の形態2に係る制御システムの動作を示すフローチャートである。
実施の形態2に係る制御システムの全体の動作を示すフローチャートである。
実施の形態3に係るビームフォーミングを示すイメージ図である。
実施の形態3に係るペアリング方法を説明する図である。
実施の形態3に係る制御システムの動作を示すフローチャートである。
実施の形態3に係る制御システムの全体の動作を示すフローチャートである。
【発明を実施するための形態】
【0010】
各実施の形態に係る制御システムについて図面を参照して説明する。同じまたは対応する構成要素には同じ符号を付し、説明の繰り返しを省略する場合がある。
(【0011】以降は省略されています)
この特許をJ-PlatPat(特許庁公式サイト)で参照する
関連特許
三菱電機株式会社
貯湯式給湯機
4日前
三菱電機株式会社
電動機制御装置
今日
三菱電機株式会社
風力発電システム
4日前
三菱電機株式会社
照明制御システム
1日前
三菱電機株式会社
換気空調システム
4日前
三菱電機株式会社
インバータ装置およびモータ駆動装置
2日前
三菱電機株式会社
照明制御装置および照明制御システム
4日前
三菱電機株式会社
照明制御装置および照明制御システム
今日
三菱電機株式会社
指示支援装置、方法、及びプログラム
4日前
三菱電機株式会社
電力変換装置および電力変換装置の制御方法
今日
三菱電機株式会社
半導体検査装置および半導体装置の製造方法
2日前
三菱電機株式会社
除湿器、除湿器の製造方法および電気制御機器
1日前
三菱電機株式会社
診断装置、診断システム、診断方法、及びプログラム
2日前
三菱電機株式会社
サーバ装置、機器制御システム、制御方法、及び、プログラム
2日前
三菱電機株式会社
データ連携システム、データ連携方法、およびデータ連携プログラム
1日前
三菱電機株式会社
プラント監視制御システム及びプラント監視制御システムの制御方法
今日
三菱電機株式会社
敵対的ロバスト性のための離散入力の変換のためのシステムおよび方法
4日前
三菱電機ビルソリューションズ株式会社
エレベータ用防災キャビネット
1日前
三菱電機株式会社
半導体装置及び半導体装置の製造方法
3日前
三菱電機株式会社
機器管理システムおよび冷媒量推定方法
3日前
三菱電機株式会社
監視システム、人工衛星および地上設備
今日
三菱電機株式会社
異常予兆検知装置、異常予兆検知システム、異常予兆検知方法及び異常予兆検知プログラム
今日
三菱電機プラントエンジニアリング株式会社
電動機の絶縁劣化診断装置および電動機の絶縁劣化診断方法
1日前
三菱電機株式会社
仮想信号装置、移動体管理システムおよび移動体管理方法
3日前
三菱電機株式会社
移動体、情報処理装置、移動体制御システム、移動体制御方法およびプログラム
今日
三菱電機株式会社
ろう付装置、ろう付方法、溶接物の製造方法、ガス流量の機械学習装置および決定装置、ならびに、センサ位置の機械学習装置および決定装置
今日
個人
店内配信予約システム
2か月前
サクサ株式会社
中継装置
2か月前
WHISMR合同会社
収音装置
22日前
キヤノン株式会社
撮像装置
1か月前
キヤノン株式会社
電子機器
2か月前
アイホン株式会社
電気機器
16日前
キヤノン電子株式会社
画像読取装置
23日前
株式会社リコー
画像形成装置
1か月前
個人
ワイヤレスイヤホン対応耳掛け
14日前
日本精機株式会社
画像投映システム
2か月前
続きを見る
他の特許を見る