TOP
|
特許
|
意匠
|
商標
特許ウォッチ
Twitter
他の特許を見る
10個以上の画像は省略されています。
公開番号
2025146950
公報種別
公開特許公報(A)
公開日
2025-10-03
出願番号
2025126062,2021189248
出願日
2025-07-29,2021-11-22
発明の名称
ワイヤハーネス
出願人
住友電装株式会社
代理人
個人
,
個人
,
個人
主分類
H02G
3/30 20060101AFI20250926BHJP(電力の発電,変換,配電)
要約
【課題】ワイヤハーネスを、一端と他端との間において、電線にねじれが生じる向きに曲げやすくすることができる技術を提供することを目的とする。
【解決手段】ワイヤハーネス10は、複数の電線20と第1端子台30と第2端子台40とを備える。各電線20は、撚線導体21と、前記撚線導体21を覆う絶縁被覆26とを含む。前記複数の電線20の一端部は第1端子台30の第1保持部31に保持され、他端部は第2端子台40の第2保持部41に保持される。ワイヤハーネス10における接続姿勢は、前記複数の電線20が前記第1保持部31と前記第2保持部41との間において曲がった姿勢であって、前記複数の電線20にねじれが生じる姿勢である。前記複数の電線20のうち半数以上の電線20における前記撚線導体21の撚りの向きは、前記ねじれによって前記撚線導体21の撚りが締まる向きである。
【選択図】図3
特許請求の範囲
【請求項1】
それぞれが撚線導体と、前記撚線導体を覆う絶縁被覆とを含む複数の電線と、
前記複数の電線の一端部を保持する第1保持部と、それぞれが前記複数の電線のうち対応する電線の前記一端部に電気的に接続された複数の第1端子とを含む第1端子台と、
前記複数の電線の他端部を保持する第2保持部と、それぞれが前記複数の電線のうち対応する電線の前記他端部に電気的に接続された複数の第2端子とを含む第2端子台と、
を備え、
前記複数の電線は、前記第1保持部と前記第2保持部との間において、前記第1保持部と前記第2保持部とを結ぶ方向と交差する方向に並んでおり、
前記複数の電線が前記第1保持部と前記第2保持部との間でまっすぐに延びる姿勢を第1姿勢とした場合に、
前記第1端子台及び前記第2端子台がそれぞれの接続相手と接続された接続姿勢は、前記複数の電線が前記第1保持部と前記第2保持部との間において曲がった姿勢であって、前記第1姿勢から曲げられた場合に前記複数の電線にねじれが生じる第2姿勢であり、
前記複数の電線のうち半数以上の電線における前記撚線導体の撚りの向きは、前記複数の電線が前記第1姿勢から前記第2姿勢に曲がった際の前記ねじれによって前記撚線導体の撚りが締まる向きであり、
前記複数の電線は、3本以上であり、
前記複数の電線のうち3本ずつが1組とされ、
3本1組の電線の中で半数以上の電線における前記撚線導体の撚りの向きは、前記複数の電線が前記第1姿勢から前記第2姿勢に曲がった際の前記ねじれによって前記撚線導体の撚りが締まる向きである、ワイヤハーネス。
続きを表示(約 930 文字)
【請求項2】
請求項1に記載のワイヤハーネスであって、
前記第2姿勢は、前記複数の電線が前記複数の電線の並列方向に沿った軸回りに曲がるとともに、前記複数の電線のそれぞれにおいて前記一端部と前記他端部とが前記並列方向に前記電線の直径以上ずれている姿勢である、ワイヤハーネス。
【請求項3】
請求項2に記載のワイヤハーネスであって、
前記第2姿勢において、前記第1保持部から前記複数の電線が延び出る方向と、前記第2保持部から前記複数の電線が延び出る方向とが成す角度は60度以上120度以下であり、かつ、前記複数の電線の前記第1保持部における並列方向と前記第2保持部における並列方向とは平行である、ワイヤハーネス。
【請求項4】
請求項1から請求項3のいずれか1項に記載のワイヤハーネスであって、
前記複数の電線のうちすべての電線における前記撚線導体の撚りの向きは、前記複数の電線が前記第1姿勢から前記第2姿勢に曲がった際の前記ねじれが前記撚線導体の撚りを締める向きである、ワイヤハーネス。
【請求項5】
請求項1から請求項4のいずれか1項に記載のワイヤハーネスであって、
JISK6253準拠のデュロメータによって測定される前記絶縁被覆のショアA硬度が40以上100以下である、ワイヤハーネス。
【請求項6】
請求項1から請求項5のいずれか1項に記載のワイヤハーネスであって、
前記絶縁被覆は、結晶性樹脂製である、ワイヤハーネス。
【請求項7】
請求項1から請求項6のいずれか1項に記載のワイヤハーネスであって、
前記撚線導体の断面積は10sq以上50sq以下であり、
前記第1保持部と前記第2保持部との間の電線長は、100mm以上300mm以下である、ワイヤハーネス。
【請求項8】
請求項1から請求項7のいずれか1項に記載のワイヤハーネスであって、
前記第1保持部及び前記第2保持部のそれぞれは、前記複数の電線をインサート部品としてインサートモールド成形された樹脂成形部である、ワイヤハーネス。
発明の詳細な説明
【技術分野】
【0001】
本開示は、ワイヤハーネスに関する。
続きを表示(約 1,400 文字)
【背景技術】
【0002】
特許文献1は、複数の導体と前記導体の両端に設けられた2つの接続部とを備え、機器本体と当該機器本体を収容する機器ケースとを備えた機器内に屈曲された状態で配線される機器用配線部材を複数備えた機器用配線集合体を開示している。
【先行技術文献】
【特許文献】
【0003】
特開2020-98786号公報
【発明の概要】
【発明が解決しようとする課題】
【0004】
特許文献1に記載の機器用配線集合体のようなワイヤハーネスが、一端と他端との間において、電線にねじれが生じる向きに曲げやすいことが望まれている。
【0005】
そこで、ワイヤハーネスを、一端と他端との間において、電線にねじれが生じる向きに曲げやすくすることができる技術を提供することを目的とする。
【課題を解決するための手段】
【0006】
本開示のワイヤハーネスは、それぞれが撚線導体と、前記撚線導体を覆う絶縁被覆とを含む複数の電線と、前記複数の電線の一端部を保持する第1保持部と、それぞれが前記複数の電線のうち対応する電線の前記一端部に電気的に接続された複数の第1端子とを含む第1端子台と、前記複数の電線の他端部を保持する第2保持部と、それぞれが前記複数の電線のうち対応する電線の前記他端部に電気的に接続された複数の第2端子とを含む第2端子台と、を備え、前記複数の電線は、前記第1保持部と前記第2保持部との間において、前記第1保持部と前記第2保持部とを結ぶ方向と交差する方向に並んでおり、前記複数の電線が前記第1保持部と前記第2保持部との間でまっすぐに延びる姿勢を第1姿勢とした場合に、前記第1端子台及び前記第2端子台がそれぞれの接続相手と接続された接続姿勢は、前記複数の電線が前記第1保持部と前記第2保持部との間において曲がった姿勢であって、前記第1姿勢から曲げられた場合に前記複数の電線にねじれが生じる第2姿勢であり、前記複数の電線のうち半数以上の電線における前記撚線導体の撚りの向きは、前記複数の電線が前記第1姿勢から前記第2姿勢に曲がった際の前記ねじれによって前記撚線導体の撚りが締まる向きである、ワイヤハーネスである。
【発明の効果】
【0007】
本開示によれば、ワイヤハーネスを、一端と他端との間において、電線にねじれが生じる向きに曲げやすくすることができる。
【図面の簡単な説明】
【0008】
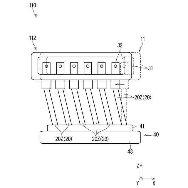
図1は実施形態にかかるワイヤハーネスを示す斜視図である。
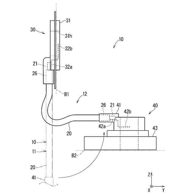
図2は実施形態にかかるワイヤハーネスを示す側面図である。
図3は実施形態にかかるワイヤハーネスを示す正面図である。
図4は電線を示す断面図である。
図5はS撚りの撚線導体を示す説明図である。
図6はZ撚りの撚線導体を示す説明図である。
図7は第1姿勢のワイヤハーネスを示す正面図である。
図8は第1変形例にかかるワイヤハーネスを示す正面図である。
図9は第2変形例にかかるワイヤハーネスを示す正面図である。
【発明を実施するための形態】
【0009】
[本開示の実施形態の説明]
最初に本開示の実施態様を列記して説明する。
【0010】
本開示のワイヤハーネスは、次の通りである。
(【0011】以降は省略されています)
この特許をJ-PlatPat(特許庁公式サイト)で参照する
関連特許
住友電装株式会社
端子台
22日前
住友電装株式会社
端子台
7日前
住友電装株式会社
コネクタ
今日
住友電装株式会社
コネクタ
18日前
住友電装株式会社
端子金具
1か月前
住友電装株式会社
コネクタ
1か月前
住友電装株式会社
コネクタ
1か月前
住友電装株式会社
コネクタ
1か月前
住友電装株式会社
コネクタ
1か月前
住友電装株式会社
コネクタ
25日前
住友電装株式会社
コネクタ
22日前
住友電装株式会社
コネクタ
22日前
住友電装株式会社
コネクタ
22日前
住友電装株式会社
コネクタ
22日前
住友電装株式会社
コネクタ
22日前
住友電装株式会社
コネクタ
18日前
住友電装株式会社
コネクタ
22日前
住友電装株式会社
コネクタ
11日前
住友電装株式会社
プロテクタ
12日前
住友電装株式会社
充電コネクタ
1か月前
住友電装株式会社
中継コネクタ
1か月前
住友電装株式会社
ワイヤハーネス
25日前
住友電装株式会社
充電インレット
1か月前
住友電装株式会社
ワイヤハーネス
1か月前
住友電装株式会社
コネクタユニット
1か月前
住友電装株式会社
コネクタユニット
1か月前
住友電装株式会社
コネクタアセンブリ
20日前
住友電装株式会社
ダミー栓およびコネクタ
20日前
住友電装株式会社
ブラケット付きコネクタ
14日前
住友電装株式会社
コネクタおよび端子ユニット
1か月前
住友電装株式会社
電気接続箱および制御ユニット
13日前
住友電装株式会社
端子台、及び端子台の製造方法
13日前
住友電装株式会社
圧着端子、および端子付き電線
26日前
住友電装株式会社
ワイヤハーネス、及びグロメット
1か月前
住友電装株式会社
コネクタ及びコネクタアセンブリ
1か月前
住友電装株式会社
絶縁構造体、及びワイヤハーネス
18日前
続きを見る
他の特許を見る