TOP
|
特許
|
意匠
|
商標
特許ウォッチ
Twitter
他の特許を見る
10個以上の画像は省略されています。
公開番号
2025136915
公報種別
公開特許公報(A)
公開日
2025-09-19
出願番号
2024035850
出願日
2024-03-08
発明の名称
ワイヤハーネス、及びグロメット
出願人
住友電装株式会社
代理人
個人
,
個人
主分類
H02G
3/22 20060101AFI20250911BHJP(電力の発電,変換,配電)
要約
【課題】部品点数を低減しながら止水性を確保可能としたワイヤハーネスを提供すること。
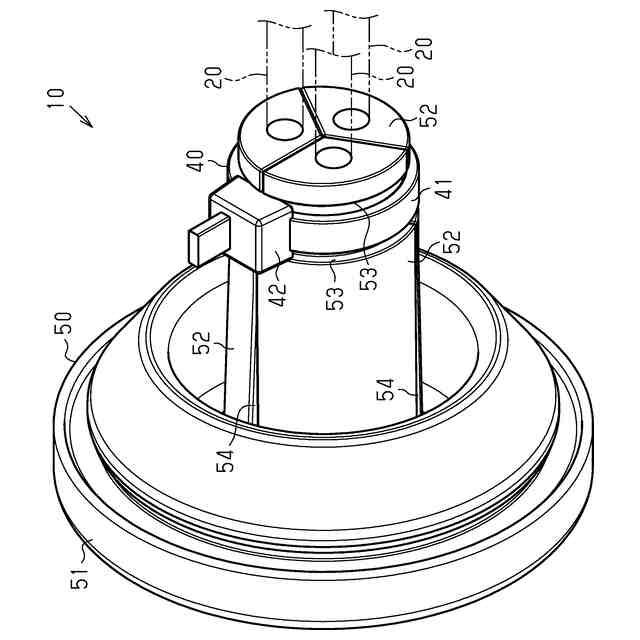
【解決手段】ワイヤハーネス10は、複数の電線20と、複数の電線20の各々が貫通される複数の筒状部32を有するグロメット30と、筒状部32の外周を締め付けるように設けられることで電線20と筒状部32との間の液体の通過を阻止する結束部材40とを備える。結束部材40は、複数の筒状部32をまとめて締め付けるように設けられるものであり、複数の筒状部32は、結束部材40にまとめて締め付けられた状態で、互いに対向する部位が隙間なく面接触する接触面32aとされている。
【選択図】図3
特許請求の範囲
【請求項1】
複数の電線と、
前記複数の電線の各々が貫通される複数の筒状部を有するグロメットと、
前記筒状部の外周を締め付けるように設けられることで前記電線と前記筒状部との間の液体の通過を阻止する結束部材と、
を備えたワイヤハーネスであって、
前記結束部材は、前記複数の筒状部をまとめて締め付けるように設けられるものであり、
前記複数の筒状部は、前記結束部材にまとめて締め付けられた状態で、互いに対向する部位が隙間なく面接触する接触面とされている、
ワイヤハーネス。
続きを表示(約 430 文字)
【請求項2】
前記複数の筒状部は、互いに同じ形状に形成されている、
請求項1に記載のワイヤハーネス。
【請求項3】
前記複数の筒状部は、前記複数の筒状部の延在方向に見て、円形の中心から放射状に等分割された形状に形成されている、
請求項2に記載のワイヤハーネス。
【請求項4】
前記筒状部は、前記結束部材の幅方向の両端と係合可能な一対の係合段差を有する、
請求項1に記載のワイヤハーネス。
【請求項5】
前記結束部材は、樹脂材からなる、
請求項1に記載のワイヤハーネス。
【請求項6】
複数の電線の各々が貫通される複数の筒状部を有し、前記複数の筒状部が結束部材によってまとめて締め付けられるグロメットであって、
前記複数の筒状部は、前記結束部材にまとめて締め付けられた状態で、互いに対向する部位が隙間なく面接触する接触面とされている、
グロメット。
発明の詳細な説明
【技術分野】
【0001】
本開示は、ワイヤハーネス、及びグロメットに関するものである。
続きを表示(約 1,800 文字)
【背景技術】
【0002】
従来、ワイヤハーネスとしては、複数の電線と、グロメットとを備えたものがある(例えば、特許文献1参照)。このグロメットは、パネル等に設けられた固定孔に嵌着可能な嵌着部と複数の電線が貫通される筒状部とを有する。また、複数の電線の延在方向の一部は発泡シートで挟み込まれつつ一つの円柱状にまとめられることで発泡シートと共に円柱部とされる。そして、円柱部は、円柱部の外径寸法よりも内径寸法の小さい筒状部内に配置される。これにより、電線と筒状部との間の液体の通過は阻止される。
【先行技術文献】
【特許文献】
【0003】
特開2000-165061号公報
【発明の概要】
【発明が解決しようとする課題】
【0004】
しかしながら、上記のようなワイヤハーネスでは、円柱部を内径寸法の小さい筒状部内に挿入する通線作業の作業性が悪かった。そこで、例えば、グロメットに複数の電線の各々が貫通される複数の筒状部を設けつつ、結束バンド等の結束部材によって筒状部の外周を締め付ける構成のワイヤハーネスが考えられる。このような、ワイヤハーネスでは、筒状部に電線を通した後に結束部材によって筒状部の外周を締め付けるため、通線作業を容易としながら、止水性を確保することができる。
【0005】
しかし、このようなワイヤハーネスでは、筒状部毎に結束部材を設ける構成とすると、部品点数が増加してしまう。また、単一の結束部材によって複数の筒状部をまとめて締め付ける構成とすると、筒状部同士の間に大きな隙間が生じることによって当該部位で密着性が低下するため、止水性が低下してしまう虞がある。
【0006】
本開示の目的は、部品点数を低減しながら止水性を確保可能としたワイヤハーネス、及びグロメットを提供することにある。
【課題を解決するための手段】
【0007】
本開示のワイヤハーネスは、複数の電線と、前記複数の電線の各々が貫通される複数の筒状部を有するグロメットと、前記筒状部の外周を締め付けるように設けられることで前記電線と前記筒状部との間の液体の通過を阻止する結束部材と、を備えたワイヤハーネスであって、前記結束部材は、前記複数の筒状部をまとめて締め付けるように設けられるものであり、前記複数の筒状部は、前記結束部材にまとめて締め付けられた状態で、互いに対向する部位が隙間なく面接触する接触面とされている。
【発明の効果】
【0008】
本開示のワイヤハーネスによれば、部品点数を低減しながら止水性を確保できる。
【図面の簡単な説明】
【0009】
図1は、一実施形態におけるワイヤハーネスの一部斜視図である。
図2は、一実施形態におけるワイヤハーネスの一部分解斜視図である。
図3は、一実施形態におけるワイヤハーネスの一部断面図である。
図4は、別例におけるワイヤハーネスの一部斜視図である。
図5は、別例におけるワイヤハーネスの一部分解斜視図である。
図6は、別例におけるワイヤハーネスの一部断面図である。
図7は、別例におけるワイヤハーネスの一部斜視図である。
図8は、別例におけるワイヤハーネスの一部分解斜視図である。
図9は、別例におけるワイヤハーネスの一部断面図である。
【発明を実施するための形態】
【0010】
[本開示の実施形態の説明]
最初に本開示の実施態様を列記して説明する。
本開示のワイヤハーネスは、
[1]複数の電線と、前記複数の電線の各々が貫通される複数の筒状部を有するグロメットと、前記筒状部の外周を締め付けるように設けられることで前記電線と前記筒状部との間の液体の通過を阻止する結束部材と、を備えたワイヤハーネスであって、前記結束部材は、前記複数の筒状部をまとめて締め付けるように設けられるものであり、前記複数の筒状部は、前記結束部材にまとめて締め付けられた状態で、互いに対向する部位が隙間なく面接触する接触面とされている。
(【0011】以降は省略されています)
この特許をJ-PlatPat(特許庁公式サイト)で参照する
関連特許
住友電装株式会社
端子台
3日前
住友電装株式会社
コネクタ
6日前
住友電装株式会社
コネクタ
3日前
住友電装株式会社
コネクタ
13日前
住友電装株式会社
コネクタ
3日前
住友電装株式会社
コネクタ
3日前
住友電装株式会社
コネクタ
3日前
住友電装株式会社
コネクタ
3日前
住友電装株式会社
コネクタ
3日前
住友電装株式会社
ワイヤハーネス
6日前
住友電装株式会社
コネクタアセンブリ
1日前
住友電装株式会社
ダミー栓およびコネクタ
1日前
住友電装株式会社
圧着端子、および端子付き電線
7日前
住友電装株式会社
コネクタ及びコネクタアセンブリ
1日前
住友電装株式会社
ワイヤハーネス、及びグロメット
13日前
住友電装株式会社
電線固定部材、及びワイヤハーネス
13日前
トヨタ自動車株式会社
車両の制御装置
今日
株式会社オートネットワーク技術研究所
端子台
13日前
株式会社オートネットワーク技術研究所
基板装置
3日前
株式会社オートネットワーク技術研究所
基板装置
3日前
株式会社オートネットワーク技術研究所
伸縮ケーブル
13日前
株式会社オートネットワーク技術研究所
追加外装部品
3日前
株式会社オートネットワーク技術研究所
車載機器の支持装置
3日前
株式会社オートネットワーク技術研究所
追加配線部材の配索構造
3日前
株式会社オートネットワーク技術研究所
配策構造及び配線ユニット
3日前
株式会社オートネットワーク技術研究所
ワイヤハーネスの配索構造
3日前
株式会社オートネットワーク技術研究所
端子台及び端子台の製造方法
6日前
株式会社オートネットワーク技術研究所
外装部品ユニットおよびカバー部材
3日前
株式会社オートネットワーク技術研究所
車載機器の支持装置および被ガイド体
3日前
株式会社オートネットワーク技術研究所
車両用ドア及び車両用ドアの交換用内装
3日前
株式会社オートネットワーク技術研究所
積層バスバ、端子台及び積層バスバの製造方法
13日前
株式会社オートネットワーク技術研究所
配線部材組付体及び追加配線部材組付モジュール
3日前
株式会社オートネットワーク技術研究所
配線部材組付体及び追加配線部材組付モジュール
3日前
株式会社オートネットワーク技術研究所
設定管理装置、設定管理方法、及び設定管理プログラム
13日前
株式会社オートネットワーク技術研究所
コネクタ
13日前
株式会社オートネットワーク技術研究所
ワイヤーハーネス
2日前
続きを見る
他の特許を見る