TOP
|
特許
|
意匠
|
商標
特許ウォッチ
Twitter
他の特許を見る
公開番号
2025145058
公報種別
公開特許公報(A)
公開日
2025-10-03
出願番号
2024045038
出願日
2024-03-21
発明の名称
コネクタ
出願人
住友電装株式会社
代理人
弁理士法人暁合同特許事務所
主分類
H01R
13/52 20060101AFI20250926BHJP(基本的電気素子)
要約
【課題】ノンシールド仕様でも十分なシール性を維持する。
【解決手段】本開示のコネクタ10は、相手筐体2に取り付けられるコネクタ10であって、ハウジング30と、シールリング40と、カラー50と、を備え、ハウジング30は、相手筐体2に形成された取付孔4に嵌合可能な嵌合部31と、カラー50が相手筐体2に締結されることで相手筐体2に固定される固定部35と、を有し、シールリング40は、固定部35が相手筐体2に固定された状態で嵌合部31の外周面と取付孔4の内周面との間に挟持されており、カラー50は、固定部35に対して移動可能に装着されている。
【選択図】図7
特許請求の範囲
【請求項1】
相手筐体に取り付けられるコネクタであって、
ハウジングと、シールリングと、カラーと、を備え、
前記ハウジングは、前記相手筐体に形成された取付孔に嵌合可能な嵌合部と、前記カラーが前記相手筐体に締結されることで前記相手筐体に固定される固定部と、を有し、
前記シールリングは、前記固定部が前記相手筐体に固定された状態で前記嵌合部の外周面と前記取付孔の内周面との間に挟持されており、
前記カラーは、前記固定部に対して移動可能に装着されている、コネクタ。
続きを表示(約 370 文字)
【請求項2】
前記固定部は、前記カラーを挿通させる挿通孔を有し、
前記挿通孔の内周面と前記カラーの外周面との間には、クリアランスが形成されている、請求項1に記載のコネクタ。
【請求項3】
前記カラーは、前記挿通孔の一側開口縁部に係止する一側係止部と、前記挿通孔の他側開口縁部に係止する他側係止部と、を有し、
前記一側係止部と前記他側係止部との間の寸法は、前記固定部における前記一側開口縁部と前記他側開口縁部との間の寸法よりも大きい、請求項2に記載のコネクタ。
【請求項4】
前記カラーは、前記挿通孔に挿通されるカラー本体を有し、前記一側係止部は、前記カラー本体に一体に形成され、前記他側係止部は、前記カラー本体に対して着脱可能に取り付けられている別部品である、請求項3に記載のコネクタ。
発明の詳細な説明
【技術分野】
【0001】
本開示は、コネクタに関する。
続きを表示(約 1,900 文字)
【背景技術】
【0002】
相手機器の筐体に取り付けられる機器用コネクタとして、特開2021-39889号公報(下記特許文献1)に記載のコネクタが知られている。このコネクタは、ハウジングと、シールドシェルと、を備える。シールドシェルは、ハウジングを内方に収容させる筒状の収容体と、収容体の開口縁から外方に突出する環状のフランジと、フランジの上縁から前方に連なる片体と、を有する。片体には貫通孔が形成され、この貫通孔と同軸上にカラー部材が配置されている。雄螺子部材を貫通孔とカラー部材に挿通させて筐体の被固定部に螺合させることによってシールドシェルが筐体に固定される。
【0003】
ハウジングは、筐体に形成されたコネクタ挿入孔に挿入可能なコネクタ挿入部を有する。コネクタ挿入部の外周面とコネクタ挿入孔の内周面との間は、環状の防液部材によって封止されている。この防液部材は、コネクタ挿入部の外周面とコネクタ挿入孔の内周面との双方に密着することで、その間の環状の隙間を埋める。シールドシェルを筐体に固定すると、ハウジングがシールドシェルに対して相対的に動くことで防液部材が均等に潰れるようになっている。
【先行技術文献】
【特許文献】
【0004】
特開2021-39889号公報
【発明の概要】
【発明が解決しようとする課題】
【0005】
上記コネクタがシールドシェルが不要になる、いわゆるノンシールド仕様となった場合、シールド回路を落とすためのシールドシェルが不要、または金属材料である必要がなくなるが、シールドシェルを廃止すると、ハウジングにカラーをインサートし、ハウジングを筐体に直接保持することとなる。その場合、ハウジングとカラーはリジッドとなるため、筐体のコネクタ挿入孔に対し防液部材が片寄せ状態になり、均等に潰れなくなることで、十分なシール性を維持できないおそれがある。
【課題を解決するための手段】
【0006】
本開示のコネクタは、相手筐体に取り付けられるコネクタであって、ハウジングと、シールリングと、カラーと、を備え、前記ハウジングは、前記相手筐体に形成された取付孔に嵌合可能な嵌合部と、前記カラーが前記相手筐体に締結されることで前記相手筐体に固定される固定部と、を有し、前記シールリングは、前記固定部が前記相手筐体に固定された状態で前記嵌合部の外周面と前記取付孔の内周面との間に挟持されており、前記カラーは、前記固定部に対して移動可能に装着されている、コネクタである。
【発明の効果】
【0007】
本開示によれば、ノンシールド仕様でも十分なシール性を維持できる。
【図面の簡単な説明】
【0008】
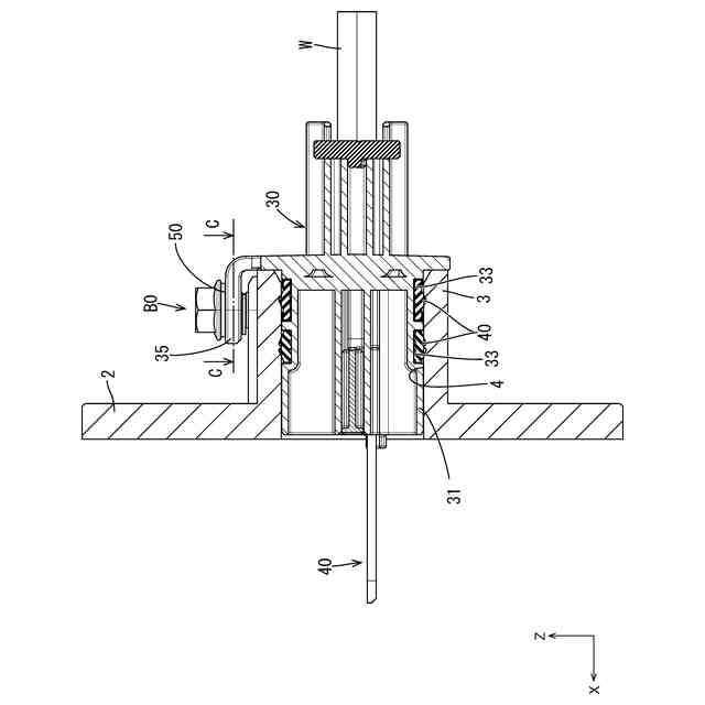
図1は、実施形態のコネクタの斜視図である。
図2は、コネクタの正面図である。
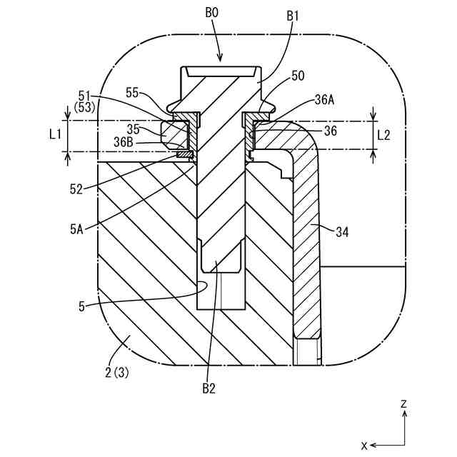
図3は、図2のA-A断面図であって、C字リングを90°回転させた状態を示す断面図である。
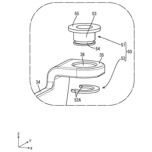
図4は、図1のカラーの分解斜視図である。
図5は、コネクタを相手筐体に取り付けた状態を示す斜視図である。
図6は、図5の内部構造を示す断面図である。
図7は、図5のB-B断面図である。
図8は、図6のC-C断面図である。
【発明を実施するための形態】
【0009】
[本開示の実施形態の説明]
最初に本開示の実施態様を列挙して説明する。
[1]本開示のコネクタは、相手筐体に取り付けられるコネクタであって、ハウジングと、シールリングと、カラーと、を備え、前記ハウジングは、前記相手筐体に形成された取付孔に嵌合可能な嵌合部と、前記カラーが前記相手筐体に締結されることで前記相手筐体に固定される固定部と、を有し、前記シールリングは、前記固定部が前記相手筐体に固定された状態で前記嵌合部の外周面と前記取付孔の内周面との間に挟持されており、前記カラーは、前記固定部に対して移動可能に装着されている。
【0010】
ハウジングの嵌合部を相手筐体の取付孔に嵌合し、カラーを相手筐体に締結することで固定部が相手筐体に固定される。ここで、固定部がカラーに対して移動可能に装着されているから、ハウジングは相手筐体に対して動くことができるようになっている。したがって、シールリングが嵌合部の外周面と取付孔の内周面との間で均等に潰れることになり、カラーの締結前後で十分なシール性を維持することができる。
(【0011】以降は省略されています)
この特許をJ-PlatPat(特許庁公式サイト)で参照する
関連特許
住友電装株式会社
端子台
12日前
住友電装株式会社
コネクタ
1日前
住友電装株式会社
コネクタ
12日前
住友電装株式会社
コネクタ
12日前
住友電装株式会社
コネクタ
12日前
住友電装株式会社
コネクタ
12日前
住友電装株式会社
コネクタ
12日前
住友電装株式会社
コネクタ
12日前
住友電装株式会社
コネクタ
15日前
住友電装株式会社
コネクタ
8日前
住友電装株式会社
コネクタ
22日前
住友電装株式会社
コネクタ
23日前
住友電装株式会社
コネクタ
1か月前
住友電装株式会社
コネクタ
1か月前
住友電装株式会社
端子金具
1か月前
住友電装株式会社
コネクタ
8日前
住友電装株式会社
プロテクタ
2日前
住友電装株式会社
充電コネクタ
1か月前
住友電装株式会社
中継コネクタ
1か月前
住友電装株式会社
中継コネクタ
1か月前
住友電装株式会社
ワイヤハーネス
1か月前
住友電装株式会社
ワイヤハーネス
1か月前
住友電装株式会社
ワイヤハーネス
15日前
住友電装株式会社
充電インレット
1か月前
住友電装株式会社
コネクタユニット
1か月前
住友電装株式会社
コネクタユニット
23日前
住友電装株式会社
コネクタアセンブリ
10日前
住友電装株式会社
ブラケット付きコネクタ
4日前
住友電装株式会社
ダミー栓およびコネクタ
10日前
住友電装株式会社
コネクタおよび端子ユニット
1か月前
住友電装株式会社
端子台、及び端子台の製造方法
3日前
住友電装株式会社
電気接続箱および制御ユニット
3日前
住友電装株式会社
圧着端子、および端子付き電線
16日前
住友電装株式会社
ワイヤハーネス、及びグロメット
22日前
住友電装株式会社
コネクタ及びコネクタアセンブリ
10日前
住友電装株式会社
プロテクタ、及びワイヤハーネス
8日前
続きを見る
他の特許を見る