TOP
|
特許
|
意匠
|
商標
特許ウォッチ
Twitter
他の特許を見る
公開番号
2025142864
公報種別
公開特許公報(A)
公開日
2025-10-01
出願番号
2024042458
出願日
2024-03-18
発明の名称
コネクタアセンブリ
出願人
住友電装株式会社
代理人
個人
,
個人
主分類
H01R
13/621 20060101AFI20250924BHJP(基本的電気素子)
要約
【課題】固定部材側からの締結作業を可能としたコネクタアセンブリを提供する。
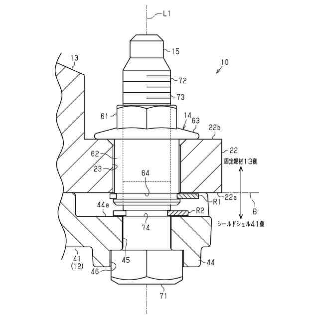
【解決手段】コネクタアセンブリ10は、第1コネクタ11と、第1コネクタ11が固定された固定部材13と、固定部材13に対して固定可能なシールドシェル41及びシールドシェル41に保持され第1コネクタ11に嵌合可能なコネクタ本体42を有する第2コネクタ12と、固定部材13に回転可能に保持されたナット14と、シールドシェル41に回転不能に保持されたボルト15とを備える。そして、ナット14に螺着されるボルト15の軸力によって、シールドシェル41が固定部材13に固定されるとともに、コネクタ本体42が第1コネクタ11に嵌合される。
【選択図】図1
特許請求の範囲
【請求項1】
第1コネクタと、
前記第1コネクタが固定された固定部材と、
前記固定部材に対して固定可能なシールドシェルと、前記シールドシェルに保持され前記第1コネクタに嵌合可能なコネクタ本体とを有する第2コネクタと、
前記固定部材に回転可能に保持されたナットと、
前記シールドシェルに回転不能に保持されたボルトと、を備え、
前記ナットに螺着される前記ボルトの軸力によって、前記シールドシェルが前記固定部材に固定されるとともに、前記コネクタ本体が前記第1コネクタに嵌合される、
コネクタアセンブリ。
続きを表示(約 310 文字)
【請求項2】
前記ナットは、前記ボルトが貫通する貫通孔を備える、
請求項1に記載のコネクタアセンブリ。
【請求項3】
前記固定部材は、前記ナットの軸線方向の一部が挿入されるナット挿入孔を有し、
前記コネクタアセンブリは、前記ナット挿入孔からの前記ナットの抜け止めをする抜け止め部材を備え、
前記抜け止め部材は、前記ナットに対して着脱可能に構成されている、
請求項1に記載のコネクタアセンブリ。
【請求項4】
前記ナットは、軸線に対する直交方向に移動可能となるように前記固定部材に保持されている、
請求項1に記載のコネクタアセンブリ。
発明の詳細な説明
【技術分野】
【0001】
本開示は、コネクタアセンブリに関するものである。
続きを表示(約 1,700 文字)
【背景技術】
【0002】
従来、例えば車両に搭載されるコネクタアセンブリとしては、第1コネクタと、第1コネクタが固定された固定部材と、第1コネクタに接続される第2コネクタとを備えたものがある(例えば、特許文献1参照)。第2コネクタは、固定部材に対してボルトによって固定されるシールドシェルと、シールドシェルに保持されるコネクタ本体とを備える。また、コネクタアセンブリは、第2コネクタのシールドシェルを固定部材に締結固定するボルトを備える。ボルトは、シールドシェルに設けられた貫通孔を貫通するとともに、固定部材に形成された雌ねじ孔に螺合される。このボルトの軸力によって、第2コネクタのコネクタ本体を第1コネクタに嵌合させることができるようになっている。
【先行技術文献】
【特許文献】
【0003】
特開2012-238465号公報
【発明の概要】
【発明が解決しようとする課題】
【0004】
上記のようなコネクタアセンブリでは、ボルトの締結作業は、ボルトの軸線方向におけるシールドシェル側から行われる。しかしながら、車両要件等の制限によって、シールドシェル側からのボルトの締結作業ができない場合があるため、この点において改善が求められていた。
【0005】
本開示の目的は、固定部材側からの締結作業を可能としたコネクタアセンブリを提供することにある。
【課題を解決するための手段】
【0006】
本開示のコネクタアセンブリは、第1コネクタと、前記第1コネクタが固定された固定部材と、前記固定部材に対して固定可能なシールドシェルと、前記シールドシェルに保持され前記第1コネクタに嵌合可能なコネクタ本体とを有する第2コネクタと、前記固定部材に回転可能に保持されたナットと、前記シールドシェルに回転不能に保持されたボルトと、を備え、前記ナットに螺着される前記ボルトの軸力によって、前記シールドシェルが前記固定部材に固定されるとともに、前記コネクタ本体が前記第1コネクタに嵌合される。
【発明の効果】
【0007】
本開示のコネクタアセンブリによれば、固定部材側からの締結作業を行うことが可能となる。
【図面の簡単な説明】
【0008】
図1は、一実施形態のコネクタアセンブリの分解斜視図である。
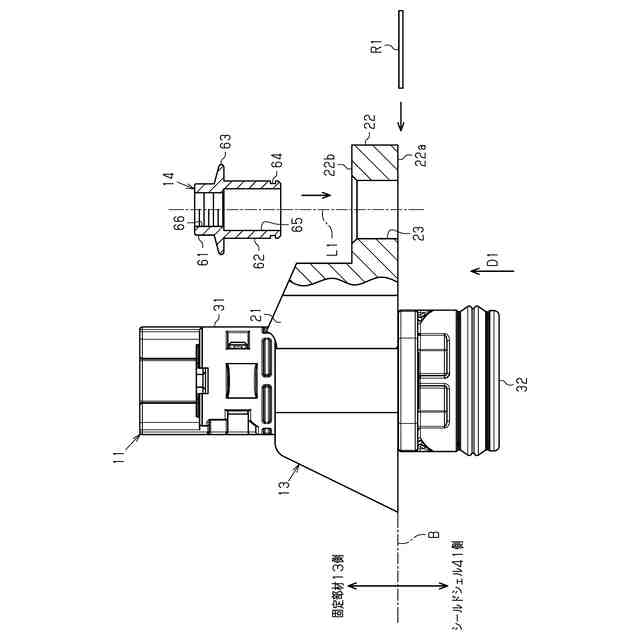
図2は、同実施形態における第1コネクタ及び固定部材の部分断面図である。
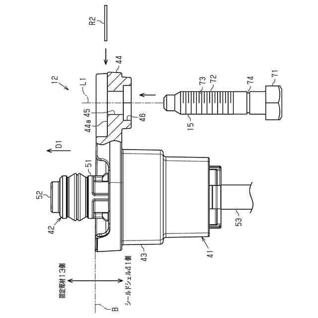
図3は、同実施形態における第2コネクタの部分断面図である。
図4は、同実施形態における第2コネクタの一部を示す下面図である。
図5は、同実施形態におけるコネクタアセンブリの要部断面図である。
【発明を実施するための形態】
【0009】
[本開示の実施形態の説明]
最初に本開示の実施態様を列記して説明する。
本開示のコネクタアセンブリは、
[1]第1コネクタと、前記第1コネクタが固定された固定部材と、前記固定部材に対して固定可能なシールドシェルと、前記シールドシェルに保持され前記第1コネクタに嵌合可能なコネクタ本体とを有する第2コネクタと、前記固定部材に回転可能に保持されたナットと、前記シールドシェルに回転不能に保持されたボルトと、を備え、前記ナットに螺着される前記ボルトの軸力によって、前記シールドシェルが前記固定部材に固定されるとともに、前記コネクタ本体が前記第1コネクタに嵌合される。
【0010】
この構成によれば、固定部材に保持されたナットをシールドシェルに保持されたボルトに対して螺着する締結作業を、固定部材側から行うことが可能となる。また、ナットが固定部材に保持される構成のため、固定部材をナットを含む一体部品として扱うことが可能となる。また、ナットが固定部材に保持されるとともにボルトがシールドシェルに保持される構成のため、ナットに螺着されたボルトの先端は固定部材側に突出する。このため、ナットに螺着されたボルトの先端がシールドシェル側に突出しない好適な構成とすることができる。
(【0011】以降は省略されています)
この特許をJ-PlatPat(特許庁公式サイト)で参照する
関連特許
住友電装株式会社
端子
1か月前
住友電装株式会社
端子台
3日前
住友電装株式会社
コネクタ
6日前
住友電装株式会社
コネクタ
13日前
住友電装株式会社
コネクタ
14日前
住友電装株式会社
コネクタ
23日前
住友電装株式会社
コネクタ
27日前
住友電装株式会社
端子金具
1か月前
住友電装株式会社
コネクタ
3日前
住友電装株式会社
コネクタ
3日前
住友電装株式会社
コネクタ
3日前
住友電装株式会社
コネクタ
3日前
住友電装株式会社
コネクタ
3日前
住友電装株式会社
コネクタ
3日前
住友電装株式会社
コネクタ
1か月前
住友電装株式会社
コネクタ
1か月前
住友電装株式会社
コネクタ
1か月前
住友電装株式会社
コネクタ
1か月前
住友電装株式会社
電気接続箱
1か月前
住友電装株式会社
中継コネクタ
1か月前
住友電装株式会社
中継コネクタ
1か月前
住友電装株式会社
充電コネクタ
22日前
住友電装株式会社
中継コネクタ
24日前
住友電装株式会社
ワイヤハーネス
1か月前
住友電装株式会社
ワイヤハーネス
1か月前
住友電装株式会社
充電インレット
1か月前
住友電装株式会社
ワイヤハーネス
23日前
住友電装株式会社
ワイヤハーネス
1か月前
住友電装株式会社
ワイヤハーネス
6日前
住友電装株式会社
シールドコネクタ
1か月前
住友電装株式会社
コネクタユニット
24日前
住友電装株式会社
コネクタユニット
14日前
住友電装株式会社
コネクタアセンブリ
1日前
住友電装株式会社
ダミー栓およびコネクタ
1日前
住友電装株式会社
コネクタ及びコネクタ装置
1か月前
住友電装株式会社
コネクタ及びコネクタ装置
1か月前
続きを見る
他の特許を見る