TOP
|
特許
|
意匠
|
商標
特許ウォッチ
Twitter
他の特許を見る
10個以上の画像は省略されています。
公開番号
2025138323
公報種別
公開特許公報(A)
公開日
2025-09-25
出願番号
2024037347
出願日
2024-03-11
発明の名称
圧着端子、および端子付き電線
出願人
住友電装株式会社
代理人
個人
,
個人
主分類
H01R
4/18 20060101AFI20250917BHJP(基本的電気素子)
要約
【課題】圧着部における電線との電気接続の信頼性の確保と、圧着部の電線固着力の向上と、を両立することができる圧着端子、および端子付き電線を提供する。
【解決手段】圧着端子2は、相手端子と接続される接続部7と、接続部7に一体形成された圧着部8と、を備える。圧着端子2は、例えば、銅製である。圧着部8は、圧着端子2とは異種金属製(例えば、アルミニウム製)の芯線が圧着によって内面に固定される。圧着部8は、芯線を抜け止めするセレーションとして圧着部8の長手方向に並ぶように形成された複数の凹部14と、複数の凹部14の間に配置された凸部15と、を有する。
【選択図】図2
特許請求の範囲
【請求項1】
電線の芯線が圧着によって固定される金属製の圧着端子であって、
相手端子と接続される接続部と、前記接続部に一体形成されるとともに、前記圧着端子とは異種金属製の前記芯線が圧着によって内面に固定される圧着部と、を備え、
前記圧着部は、
前記芯線を抜け止めするセレーションとして前記圧着部の長手方向に並ぶように形成された複数の凹部と、
前記複数の凹部の間に配置された凸部と、を有する、圧着端子。
続きを表示(約 820 文字)
【請求項2】
前記電線は、前記芯線がアルミニウム製のアルミニウム電線であり、
前記圧着端子は、銅製である、請求項1に記載の圧着端子。
【請求項3】
前記凸部は、前記圧着部の前記長手方向に対して直交する方向に延びる帯状凸部である、請求項1に記載の圧着端子。
【請求項4】
前記凸部は、部分的に突出した突起である、請求項1に記載の圧着端子。
【請求項5】
前記凸部は、前記圧着部を前記長手方向に切断した断面を側方から見た場合に湾曲形状を有するように形成されている、請求項1に記載の圧着端子。
【請求項6】
前記圧着部は、
前記圧着部の幅方向の中央に配置された基部と、
前記基部の幅方向の両側に配置されるとともに、圧着による形状変形によって前記芯線を固定する一対のワイヤバレルと、を有し、
前記複数の凹部は、前記基部と前記一対のワイヤバレルとに亘って延びる長さに形成されている、請求項1に記載の圧着端子。
【請求項7】
前記複数の凹部は、前記圧着部の前記長手方向において並んで配置された場合に、少なくとも前記長手方向の両端に配置されるように形成されている、請求項1に記載の圧着端子。
【請求項8】
金属製の圧着端子と、前記圧着端子に圧着によって固定されるとともに、前記圧着端子とは異種金属製の芯線を有する電線と、を備えた端子付き電線であって、
前記圧着端子は、
相手端子と接続される接続部と、前記接続部に一体形成されるとともに圧着によって前記芯線が内面に固定される圧着部と、を備え、
前記圧着部は、
前記芯線を抜け止めするセレーションとして前記圧着部の長手方向に並ぶように形成された複数の凹部と、
前記複数の凹部の間に配置された凸部と、を有する、端子付き電線。
発明の詳細な説明
【技術分野】
【0001】
本発明は、圧着端子、および端子付き電線に関する。
続きを表示(約 1,700 文字)
【背景技術】
【0002】
従来、特許文献1に開示されるように、電線の絶縁被覆から露出する芯線にバレルを圧着することにより電線が組付けられた端子金具が周知である。この端子金具の内面には、芯線を抜け止めするための端子内面にセレーションが形成されている。セレーションは、例えば、複数の溝部を端子金具の長手方向に並べて形成された凹凸形状である。
【先行技術文献】
【特許文献】
【0003】
特開2013-114908号公報
【発明の概要】
【発明が解決しようとする課題】
【0004】
ところで、電線がアルミニウム製で圧着端子が銅製とされるように、電線と圧着端子とが各々異なる材料で形成されている場合、電線を圧着端子の圧着部に強固に固定するためには、圧着端子を電線に高圧縮で圧着させる必要がある。このため、圧着部の長手方向の長い範囲が薄く形成されてしまう。よって、圧着部における電線との電気接続の信頼性は確保されるものの、圧着部の電線固着力が低くなってしまう課題があった。電線固着力が低くなると、電線が切れ易くなってしまう。
【0005】
本開示の目的は、圧着部における電線との電気接続の信頼性の確保と、圧着部の電線固着力の向上と、を両立することができる圧着端子、および端子付き電線を提供することにある。
【課題を解決するための手段】
【0006】
前記課題を解決する圧着端子は、電線の芯線が圧着によって固定される金属製の構成であって、相手端子と接続される接続部と、前記接続部に一体形成されるとともに、前記圧着端子とは異種金属製の前記芯線が圧着によって内面に固定される圧着部と、を備え、前記圧着部は、前記芯線を抜け止めするセレーションとして前記圧着部の長手方向に並ぶように形成された複数の凹部と、前記複数の凹部の間に配置された凸部と、を有する。
【発明の効果】
【0007】
本開示は、圧着部における電線との電気接続の信頼性の確保と、圧着部の電線固着力の向上と、を両立することができる。
【図面の簡単な説明】
【0008】
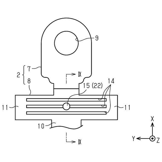
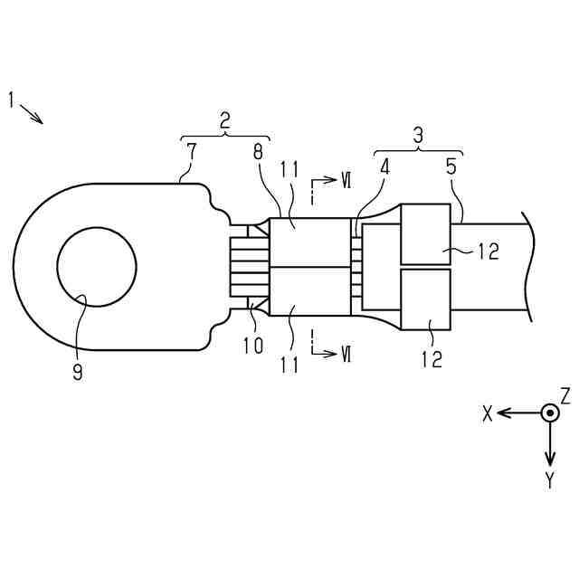
図1は、第1実施形態に係る端子付き電線の平面図である。
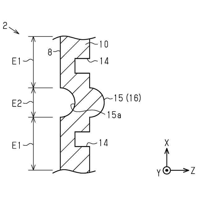
図2は、圧着端子の斜視図である。
図3は、バレル折り曲げ前の圧着端子の平面図である。
図4は、図3に示すIV-IV線断面図である。
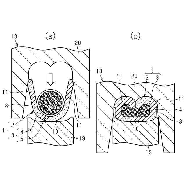
図5(a)および図5(b)は、圧着端子への電線圧着の手順図である。
図6は、図1に示すVI-VI線断面図である。
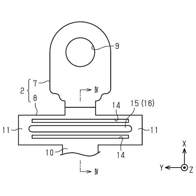
図7は、第2実施形態に係る圧着端子の斜視図である。
図8は、バレル折り曲げ前の圧着端子の平面図である。
図9は、図8に示すIX-IX線断面図である。
【発明を実施するための形態】
【0009】
最初に本開示の実施態様を列記して説明する。
[1]本開示の圧着端子は、電線の芯線が圧着によって固定される金属製の構成であって、相手端子と接続される接続部と、前記接続部に一体形成されるとともに、前記圧着端子とは異種金属製の前記芯線が圧着によって内面に固定される圧着部と、を備え、前記圧着部は、前記芯線を抜け止めするセレーションとして前記圧着部の長手方向に並ぶように形成された複数の凹部と、前記複数の凹部の間に配置された凸部と、を有する。
【0010】
本構成によれば、圧着部のセレーションである複数の凹部の間に凸部を設けたので、圧着部に電線を固定する際に、圧着部を高圧縮により大きく変形させなくても、凸部によって電線を圧着部に強固に固定することが可能となる。これにより、圧着部における電気接続の信頼性が確保される。また、圧着部が大きく潰されないので、圧着部に電線を固定した際に圧着部が薄くならない。これにより、圧着部の電線固着力を向上することが可能となる。以上により、圧着部における電線との電気接続の信頼性の確保と、圧着部の電線固着力の向上と、を両立することが可能となる。
(【0011】以降は省略されています)
この特許をJ-PlatPat(特許庁公式サイト)で参照する
関連特許
住友電装株式会社
端子台
5日前
住友電装株式会社
コネクタ
15日前
住友電装株式会社
コネクタ
5日前
住友電装株式会社
端子金具
1か月前
住友電装株式会社
コネクタ
25日前
住友電装株式会社
コネクタ
5日前
住友電装株式会社
コネクタ
5日前
住友電装株式会社
コネクタ
5日前
住友電装株式会社
コネクタ
5日前
住友電装株式会社
コネクタ
1日前
住友電装株式会社
コネクタ
1日前
住友電装株式会社
コネクタ
5日前
住友電装株式会社
コネクタ
16日前
住友電装株式会社
コネクタ
8日前
住友電装株式会社
コネクタ
29日前
住友電装株式会社
電気接続箱
1か月前
住友電装株式会社
中継コネクタ
26日前
住友電装株式会社
充電コネクタ
24日前
住友電装株式会社
中継コネクタ
1か月前
住友電装株式会社
中継コネクタ
1か月前
住友電装株式会社
充電インレット
1か月前
住友電装株式会社
ワイヤハーネス
8日前
住友電装株式会社
ワイヤハーネス
25日前
住友電装株式会社
ワイヤハーネス
1か月前
住友電装株式会社
ワイヤハーネス
1か月前
住友電装株式会社
コネクタユニット
26日前
住友電装株式会社
シールドコネクタ
1か月前
住友電装株式会社
コネクタユニット
16日前
住友電装株式会社
コネクタアセンブリ
3日前
住友電装株式会社
ダミー栓およびコネクタ
3日前
住友電装株式会社
コネクタ及びコネクタ装置
1か月前
住友電装株式会社
コネクタおよび端子ユニット
1か月前
住友電装株式会社
圧着端子、および端子付き電線
9日前
住友電装株式会社
絶縁構造体、及びワイヤハーネス
1日前
住友電装株式会社
ワイヤハーネス、及びグロメット
15日前
住友電装株式会社
プロテクタ、及びワイヤハーネス
1日前
続きを見る
他の特許を見る