TOP
|
特許
|
意匠
|
商標
特許ウォッチ
Twitter
他の特許を見る
10個以上の画像は省略されています。
公開番号
2025159457
公報種別
公開特許公報(A)
公開日
2025-10-21
出願番号
2024062015
出願日
2024-04-08
発明の名称
コネクタ
出願人
住友電装株式会社
代理人
弁理士法人グランダム特許事務所
主分類
H01R
13/41 20060101AFI20251014BHJP(基本的電気素子)
要約
【課題】ハウジングに対する端子金具の位置精度を向上させることができるコネクタを提供する。
【解決手段】コネクタ10は、相手側接続部51を有する端子金具50と、相手側接続部51を前方に突出させた状態で端子金具50を保持するハウジング70と、を備え、ハウジング70には、端子金具50を後方から挿入する挿入孔77が前後方向に貫通して形成されている。挿入孔77は、第1挿入部84と、第1挿入部84よりも後方に位置する第2挿入部85とを有している。端子金具50は、第1挿入部84の左右の側面81に係止される係止部52を有している。左右方向の幅寸法は、第1挿入部84よりも第2挿入部85のほうが大きく、且つ第2挿入部85よりも係止部52のほうが大きい。
【選択図】図11
特許請求の範囲
【請求項1】
相手側接続部を有する端子金具と、
前記相手側接続部を前方に突出させた状態で前記端子金具を保持するハウジングと、を備え、
前記ハウジングには、前記端子金具を後方から挿入する挿入孔が前後方向に貫通して形成されており、
前記挿入孔は、第1挿入部と、前記第1挿入部よりも後方に位置する第2挿入部と、を有し、
前記端子金具は、前記相手側接続部よりも後方に、前記第1挿入部の左右の側面に係止される係止部を有し、
左右方向の幅寸法は、前記第1挿入部よりも前記第2挿入部のほうが大きく、且つ前記第2挿入部よりも前記係止部のほうが大きい、コネクタ。
続きを表示(約 490 文字)
【請求項2】
前記相手側接続部の左右方向の幅寸法は、前記第1挿入部の左右方向の幅寸法以下である、請求項1に記載のコネクタ。
【請求項3】
前記端子金具は、前記相手側接続部とは反対側の端部に位置する基板側接続部と、前記基板側接続部と前記係止部との間に位置して前記第2挿入部に配置される中間部と、を有し、
前記中間部の左右方向の幅寸法は、前記第2挿入部の左右方向の幅寸法以上である、請求項1に記載のコネクタ。
【請求項4】
内導体端子と、外導体端子と、前記内導体端子と前記外導体端子との間に配置される誘電体と、を備え、
前記端子金具は、前記内導体端子を構成し、
前記ハウジングは、前記誘電体を構成している、請求項1から請求項3のいずれか一項に記載のコネクタ。
【請求項5】
前記誘電体は、誘電体本体部と覆い部とを備え、
前記挿入孔は、前記誘電体本体部に形成され、
前記覆い部は、前記内導体端子のうち前記挿入孔から後方に引き出されている部分を覆っている、請求項4に記載のコネクタ。
発明の詳細な説明
【技術分野】
【0001】
本開示は、コネクタに関する。
続きを表示(約 3,300 文字)
【背景技術】
【0002】
特許文献1に記載されたコネクタは、シールドコネクタであって、内導体端子と、内導体端子を収容する誘電体と、誘電体を収容する外導体端子と、を備える。誘電体は、前後方向に貫通する取付孔を有している。内導体端子は、誘電体の取付孔に後方から挿入される。内導体端子は、左右両側方に突出する複数の突起を有している。各突起が取付孔の左右の側面に食い込むように係止されることにより、内導体端子が誘電体に抜け止め状態に取り付けられる。なお、その他の先行技術文献としては、特許文献2から4が挙げられる。
【先行技術文献】
【特許文献】
【0003】
特開2020-13748号公報
特開2006-19228号公報
特開2009-117064号公報
特開2018-125225号公報
【発明の概要】
【発明が解決しようとする課題】
【0004】
特許文献1の場合、内導体端子が取付孔に正規深さで挿入されるときに、誘電体に対する内導体端子の取付位置(取付姿勢)の精度が決まる構成であった。このため、取付孔に内導体端子を挿入する前の段階で、取付孔の開口に内導体端子の先端位置を位置合わせする作業が必要であった。
【0005】
そこで、本開示は、ハウジングに対する端子金具の位置精度を向上させることができるコネクタを提供することを目的とする。
【課題を解決するための手段】
【0006】
本開示のコネクタは、相手側接続部を有する端子金具と、前記相手側接続部を前方に突出させた状態で前記端子金具を保持するハウジングと、を備え、前記ハウジングには、前記端子金具を後方から挿入する挿入孔が前後方向に貫通して形成されており、前記挿入孔は、第1挿入部と、前記第1挿入部よりも後方に位置する第2挿入部と、を有し、前記端子金具は、前記相手側接続部よりも後方に、前記第1挿入部の左右の側面に係止される係止部を有し、左右方向の幅寸法は、前記第1挿入部よりも前記第2挿入部のほうが大きく、且つ前記第2挿入部よりも前記係止部のほうが大きいコネクタである。
【発明の効果】
【0007】
本開示によれば、ハウジングに対する端子金具の位置精度を向上させることができるコネクタを提供することが可能となる。
【図面の簡単な説明】
【0008】
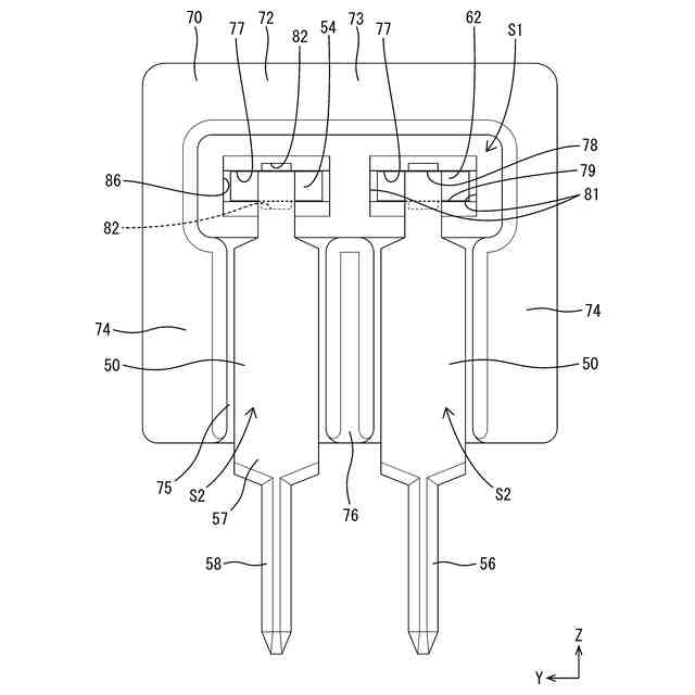
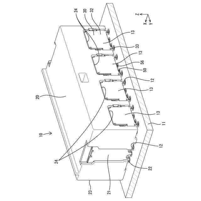
図1は、実施形態1にかかるコネクタを前方から見た斜視図であって、回路基板に接続した状態を示す図である。
図2は、回路基板に接続した状態のコネクタを後方から見た斜視図である。
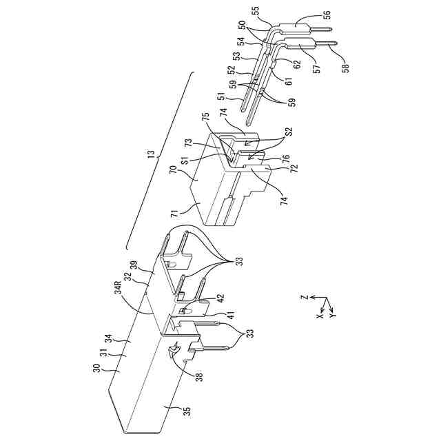
図3は、端子アッセンブリ及びコネクタハウジングを示す分解斜視図である。
図4は、回路基板に接続された状態のコネクタを示す一部拡大断面図であって、図1のA-A位置における断面に相当する断面図である。
図5は、コネクタを示す一部拡大断面図であって、図1のB-B位置における断面に相当する断面図である。
図6は、端子アッセンブリの組み立てに際し、外導体端子、誘電体及び内導体端子が並んで配置された状態を示す斜視図である。
図7は、内導体端子を示す平面図である。
図8は、内導体端子を保持した状態の誘電体を示す側面図である。
図9は、内導体端子を保持した状態の誘電体を示す背面図である。
図10は、挿入孔を示す誘電体の一部拡大断面図であって、図8のC-C位置における断面に相当する断面図である。
図11は、内導体端子を誘電体の挿入孔に挿入する様子を示すコネクタの一部拡大断面図であって、図5と同じ位置における断面図である。
【発明を実施するための形態】
【0009】
[本開示の実施形態の説明]
最初に本開示の実施態様を列記して説明する。
[1]本開示のコネクタは、相手側接続部を有する端子金具と、前記相手側接続部を前方に突出させた状態で前記端子金具を保持するハウジングと、を備え、前記ハウジングには、前記端子金具を後方から挿入する挿入孔が前後方向に貫通して形成されており、前記挿入孔は、第1挿入部と、前記第1挿入部よりも後方に位置する第2挿入部と、を有し、前記端子金具は、前記相手側接続部よりも後方に、前記第1挿入部の左右の側面に係止される係止部を有し、左右方向の幅寸法は、前記第1挿入部よりも前記第2挿入部のほうが大きく、且つ前記第2挿入部よりも前記係止部のほうが大きい。
挿入孔に対する端子金具の挿入過程において、係止部が第2挿入部の左右の側面に浅く係止されることにより、ハウジングに対して端子金具を左右方向でアライニングして位置決めすることができる。挿入孔に対して端子金具が正規深さで挿入されると、係止部が第1挿入部の左右の側面に深く係止され、ハウジングに対して端子金具を位置決め状態に固定することができる。特に、上記[1]の構成は、係止部が第1挿入部の左右の側面に係止される前の段階で、端子金具をハウジングの内部でセルフアライニングして位置決めすることができるので、ハウジングに対する端子金具の位置精度を向上させることができる。
[2]上記[1]に記載されたコネクタにおいて、前記相手側接続部の左右方向の幅寸法は、前記第1挿入部の左右方向の幅寸法以下であることが好ましい。
挿入孔に対する端子金具の挿入過程において相手側接続部が第1挿入部を容易に通過することができる。また、例えば、相手側接続部の幅寸法が第1挿入部の幅寸法と同一又は近似する場合に、係止部が第2挿入部の左右の側面に係止され、且つ相手側接続部が第1挿入部に左右方向に位置決め状態に配置されることにより、端子金具が挿入孔への挿入過程で前後方向に対して傾きにくい状態にできる。
[3]上記[1]又は[2]に記載されたコネクタにおいて、前記端子金具は、前記相手側接続部とは反対側の端部に位置する基板側接続部と、前記基板側接続部と前記係止部との間に位置して前記第2挿入部に配置される中間部と、を有し、前記中間部の左右方向の幅寸法は、前記第2挿入部の左右方向の幅寸法以上であることが好ましい。
挿入孔に対して端子金具が正規深さで挿入され、係止部が第1挿入部の左右の側面に係止され、且つ中間部が第2挿入部に左右方向に位置決め状態に配置されることにより、端子金具がハウジングに対して傾きを抑制された状態で固定され得る。
[4]上記[1]から[3]のいずれかに記載されたコネクタにおいて、内導体端子と、外導体端子と、前記内導体端子と前記外導体端子との間に配置される誘電体と、を備え、前記端子金具は、前記内導体端子を構成し、前記ハウジングは、前記誘電体を構成しているコネクタとしてもよい。
係止部が第1挿入部の左右の側面に係止される前の段階で、内導体端子を誘電体の内部でセルフアライニングして位置決めすることができるので、誘電体に対する内導体端子の位置精度を向上させることができる。
[5]上記[4]に記載されたコネクタにおいて、前記誘電体は、誘電体本体部と覆い部とを備え、前記挿入孔は、前記誘電体本体部に形成され、前記覆い部は、前記内導体端子のうち前記挿入孔から後方に引き出されている部分を覆っているものとしてもよい。このような構成によれば、誘電体が内導体端子を覆う範囲を大きくし、通信性能を安定させることができる。
【0010】
[本開示の実施形態の詳細]
本開示の具体例を、以下に図面を参照しつつ説明する。なお、本発明はこれらの例示に限定されるものではなく、特許請求の範囲によって示され、特許請求の範囲と均等の意味および範囲内でのすべての変更が含まれることが意図される。
(【0011】以降は省略されています)
この特許をJ-PlatPat(特許庁公式サイト)で参照する
関連特許
住友電装株式会社
端子台
11日前
住友電装株式会社
端子台
26日前
住友電装株式会社
コネクタ
29日前
住友電装株式会社
コネクタ
26日前
住友電装株式会社
コネクタ
26日前
住友電装株式会社
コネクタ
26日前
住友電装株式会社
コネクタ
26日前
住友電装株式会社
コネクタ
26日前
住友電装株式会社
コネクタ
26日前
住友電装株式会社
コネクタ
1か月前
住友電装株式会社
コネクタ
15日前
住友電装株式会社
コネクタ
22日前
住友電装株式会社
コネクタ
22日前
住友電装株式会社
コネクタ
4日前
住友電装株式会社
コネクタ
3日前
住友電装株式会社
プロテクタ
16日前
住友電装株式会社
ワイヤハーネス
29日前
住友電装株式会社
コネクタアセンブリ
24日前
住友電装株式会社
ブラケット付きコネクタ
18日前
住友電装株式会社
ダミー栓およびコネクタ
24日前
住友電装株式会社
圧着端子、および端子付き電線
1か月前
住友電装株式会社
端子台、及び端子台の製造方法
17日前
住友電装株式会社
電気接続箱および制御ユニット
17日前
住友電装株式会社
コネクタ及びコネクタアセンブリ
24日前
住友電装株式会社
プロテクタ、及びワイヤハーネス
22日前
住友電装株式会社
絶縁構造体、及びワイヤハーネス
22日前
住友電装株式会社
ワイヤハーネス、及びグロメット
1か月前
住友電装株式会社
電線固定部材、及びワイヤハーネス
1か月前
トヨタ自動車株式会社
車両の制御装置
23日前
住友電装株式会社
プロテクタとホルダとの一体化ユニット
1日前
住友電装株式会社
プロテクタ及びプロテクタ付ワイヤハーネス
1日前
株式会社オートネットワーク技術研究所
端子台
1か月前
株式会社オートネットワーク技術研究所
基板装置
26日前
株式会社オートネットワーク技術研究所
基板装置
26日前
株式会社オートネットワーク技術研究所
コネクタ
18日前
株式会社オートネットワーク技術研究所
コネクタ
18日前
続きを見る
他の特許を見る