TOP
|
特許
|
意匠
|
商標
特許ウォッチ
Twitter
他の特許を見る
公開番号
2025139182
公報種別
公開特許公報(A)
公開日
2025-09-26
出願番号
2024037987
出願日
2024-03-12
発明の名称
コネクタ
出願人
住友電装株式会社
代理人
弁理士法人グランダム特許事務所
主分類
H01R
13/52 20060101AFI20250918BHJP(基本的電気素子)
要約
【課題】端子周りのシール性を確保することが可能なコネクタを提供する。
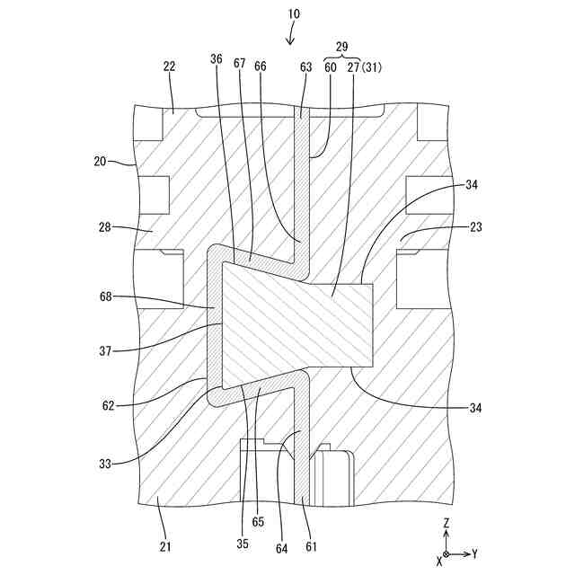
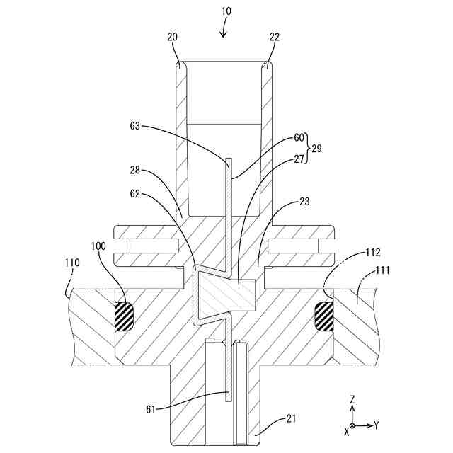
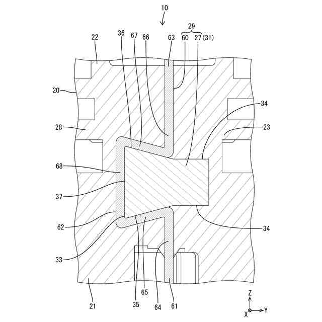
【解決手段】コネクタ10は、保持部23を有するハウジング20と、保持部23に保持される端子60と、を備える。端子60は、保持部23よりも下方に突出して配置される第1接続部61と、保持部23よりも上方に突出して配置される第2接続部63と、第1接続部61と第2接続部63との間に位置して保持部23の内部に配置される装着部62と、を有している。装着部62は、第1接続部61の側から上方に延びる延出部64と、延出部64から上下方向に対して鋭角をなす斜め下方に延びる傾斜部65と、を有している。
【選択図】図4
特許請求の範囲
【請求項1】
保持部を有するハウジングと、
前記保持部に保持される端子と、を備え、
前記端子は、前記保持部よりも下方に突出して配置される第1接続部と、前記保持部よりも上方に突出して配置される第2接続部と、前記第1接続部と前記第2接続部との間に位置して前記保持部の内部に配置される装着部と、を有し、
前記装着部は、前記第1接続部の側から上方に延びる延出部と、前記延出部から上下方向に対して鋭角をなす斜め下方に延びる傾斜部と、を有している、コネクタ。
続きを表示(約 810 文字)
【請求項2】
前記装着部は、前記傾斜部から上方に延びる中間部と、前記中間部から上下方向に対して鋭角をなす斜め下方に延びる対向傾斜部と、を有し、
前記対向傾斜部は、前記傾斜部に上方から対向して配置される、請求項1に記載のコネクタ。
【請求項3】
前記延出部は、前記装着部において、上下方向に延びる部分であり、
前記傾斜部は、前記装着部において、前記延出部の上端から屈曲して斜め下方に延びる部分である、請求項1に記載のコネクタ。
【請求項4】
前記延出部は、前記装着部における上下方向に延びる部分であり、
前記傾斜部は、前記装着部における前記延出部の上端から屈曲して斜め下方に延びる部分であり、
前記中間部は、前記装着部における前記傾斜部の下端から屈曲して上方に延びる部分であり、
前記対向傾斜部は、前記装着部における前記中間部の上端から屈曲して斜め下方に延びる部分である、請求項2に記載のコネクタ。
【請求項5】
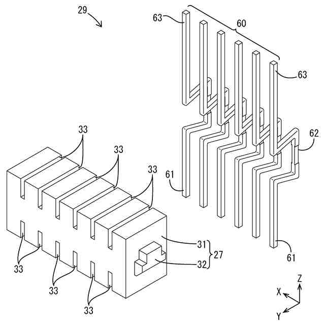
前記保持部は、端子ホルダと、前記端子を保持した前記端子ホルダの一部または全部を覆う覆い部と、を有し、
前記端子ホルダは、前記端子ホルダの外面の三面にわたって開口する装着溝を有し、 前記傾斜部、前記中間部および前記対向傾斜部は、前記装着溝における前記三面の各面の溝面に接触可能に配置される、請求項4に記載のコネクタ。
【請求項6】
前記装着部は、前記装着部の厚みを減少する方向に凹む凹所を有し、
前記中間部は、前記凹所の奥側の内面で上下方向に延びる中間面であり、
前記傾斜部は、前記凹所の下側の内面で前記中間面へ向けて斜め下方に延びる傾斜面であり、
前記対向傾斜部は、前記凹所の上側の内面で前記中間面へ向けて斜め下方に延びる対向傾斜面である、請求項2に記載のコネクタ。
発明の詳細な説明
【技術分野】
【0001】
本開示は、コネクタに関する。
続きを表示(約 1,800 文字)
【背景技術】
【0002】
特許文献1に開示されたコネクタは、端子と、端子を保持するハウジングと、を備えている。端子は、ハウジングの本体部に貫通して装着される。端子は、本体部から上方に突出する第1接点部と、本体部から下方に突出する第2接点部と、本体部にインサート成形によって埋め込まれる折り返し部と、を有している。
【0003】
折り返し部は、第1接点部から連続して下方に延びる第1箇所と、第1箇所の下端から屈曲して左方に延びる第2箇所と、第2箇所の左端から屈曲して上方に延びる第3箇所と、を有している。さらに、折り返し部は、第3箇所の上端から屈曲して左方に延びる第4箇所と、第4箇所の左端から屈曲して下方に延びる第5箇所と、を有している。第2接点部は、第5箇所から連続して下方に延びている。なお、上記における上下左右方向の基準は、特許文献1の図5の上下左右方向を基準としており、特許文献1の明細書に記載された方向の基準とは異なる。なお、その他の先行技術文献としては、特許文献2-5が挙げられる。
【先行技術文献】
【特許文献】
【0004】
特開2021-18908号公報
特開2017-91807号公報
特開2015-220124号公報
特開2014-49411号公報
特開平9-161866号公報
【発明の概要】
【発明が解決しようとする課題】
【0005】
上記において、例えば、第2接点部を油層側(油相側)に配置し、第1接点部を気層側(気相側)に配置した場合に、油層側のオイルが気層側に移動することを、折り返し部の折り返し形状によって、阻止することが可能であった。しかし、端子周りのシール性の向上を図るため、さらなる改善が求められていた。
【0006】
そこで、本開示は、端子周りのシール性を確保することが可能なコネクタを提供することを目的とする。
【課題を解決するための手段】
【0007】
本開示のコネクタは、保持部を有するハウジングと、前記保持部に保持される端子と、を備え、前記端子は、前記保持部よりも下方に突出して配置される第1接続部と、前記保持部よりも上方に突出して配置される第2接続部と、前記第1接続部と前記第2接続部との間に位置して前記保持部の内部に配置される装着部と、を有し、前記装着部は、前記第1接続部の側から上方に延びる延出部と、前記延出部から上下方向に対して鋭角をなす斜め下方に延びる傾斜部と、を有している、コネクタである。
【発明の効果】
【0008】
本開示によれば、端子周りのシール性を確保することが可能なコネクタを提供することが可能となる。
【図面の簡単な説明】
【0009】
図1は、本実施形態1のコネクタの分解斜視図である。
図2は、本実施形態1のコネクタの斜視図である。
図3は、本実施形態1のコネクタの断面図である。
図4は、本実施形態1のコネクタにおける図3の拡大断面図である。
図5は、本実施形態1のコネクタにおける端子の斜視図である。
図6は、本実施形態1のコネクタにおいて、複数の端子が組み付けに際して端子ホルダに対向して配置された状態を示す斜視図である。
図7は、本実施形態1のコネクタにおいて、複数の端子が端子ホルダに装着された状態を示す斜視図である。
図8は、本実施形態1のコネクタにおいて、端子ホルダに装着された中間部の拡大断面図である。
【発明を実施するための形態】
【0010】
[本開示の実施形態の説明]
最初に本開示の実施態様を列記して説明する。
本開示のコネクタは、
(1)保持部を有するハウジングと、前記保持部に保持される端子と、を備え、前記端子は、前記保持部よりも下方に突出して配置される第1接続部と、前記保持部よりも上方に突出して配置される第2接続部と、前記第1接続部と前記第2接続部との間に位置して前記保持部の内部に配置される装着部と、を有し、前記装着部は、前記第1接続部の側から上方に延びる延出部と、前記延出部から上下方向に対して鋭角をなす斜め下方に延びる傾斜部と、を有している。
(【0011】以降は省略されています)
この特許をJ-PlatPat(特許庁公式サイト)で参照する
関連特許
住友電装株式会社
端子台
6日前
住友電装株式会社
コネクタ
9日前
住友電装株式会社
コネクタ
6日前
住友電装株式会社
コネクタ
26日前
住友電装株式会社
コネクタ
6日前
住友電装株式会社
コネクタ
6日前
住友電装株式会社
コネクタ
6日前
住友電装株式会社
コネクタ
6日前
住友電装株式会社
コネクタ
1か月前
住友電装株式会社
端子金具
1か月前
住友電装株式会社
コネクタ
2日前
住友電装株式会社
コネクタ
2日前
住友電装株式会社
コネクタ
6日前
住友電装株式会社
コネクタ
17日前
住友電装株式会社
コネクタ
16日前
住友電装株式会社
中継コネクタ
27日前
住友電装株式会社
充電コネクタ
25日前
住友電装株式会社
充電インレット
1か月前
住友電装株式会社
ワイヤハーネス
9日前
住友電装株式会社
ワイヤハーネス
1か月前
住友電装株式会社
ワイヤハーネス
26日前
住友電装株式会社
コネクタユニット
27日前
住友電装株式会社
コネクタユニット
17日前
住友電装株式会社
コネクタアセンブリ
4日前
住友電装株式会社
ダミー栓およびコネクタ
4日前
住友電装株式会社
コネクタおよび端子ユニット
1か月前
住友電装株式会社
圧着端子、および端子付き電線
10日前
住友電装株式会社
コネクタ及びコネクタアセンブリ
4日前
住友電装株式会社
プロテクタ、及びワイヤハーネス
2日前
住友電装株式会社
絶縁構造体、及びワイヤハーネス
2日前
住友電装株式会社
コネクタ及びコネクタアセンブリ
1か月前
住友電装株式会社
ワイヤハーネス、及びグロメット
16日前
住友電気工業株式会社
充放電装置
27日前
住友電装株式会社
コネクタおよびコネクタアセンブリ
17日前
住友電装株式会社
電線固定部材、及びワイヤハーネス
16日前
住友電気工業株式会社
電力変換装置
1か月前
続きを見る
他の特許を見る